The traction control system uses the antilock brake system in conjunction with the PCM fuel and ignition controls to limit drive wheel slippage during acceleration. The PCM controlled portion of the traction control system reduces engine torque by any or all of the following methods:
| • | Retarding spark timing |
| • | Altering air/fuel ratio |
| • | Shutting OFF up to three injectors |
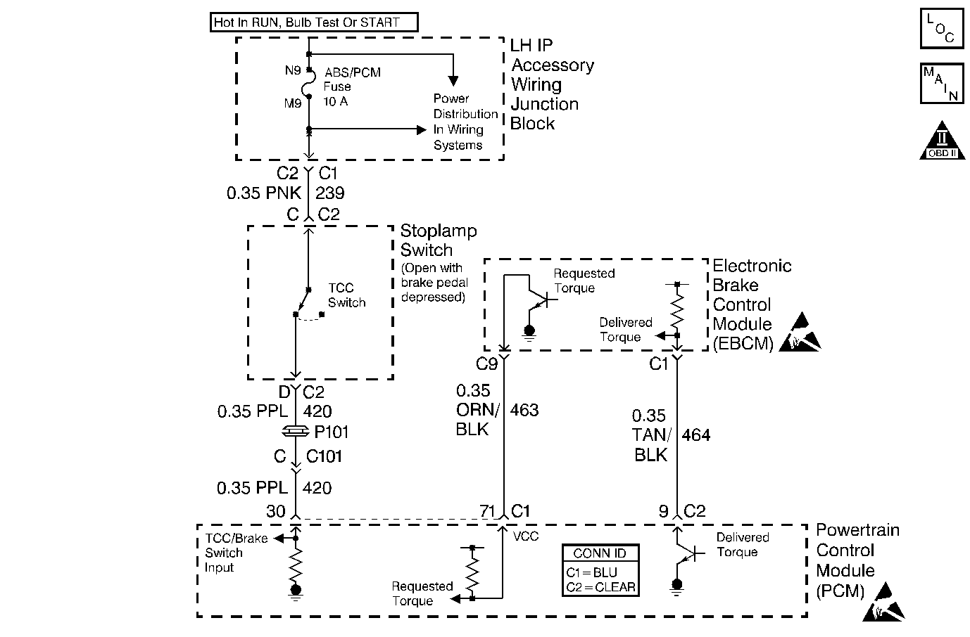
To determine the amount of torque reduction required, the PCM monitors the TCS Desired Torque PWM signal from the electronic brake and traction control module (EBTCM). The PCM also provides a TCS Delivered Torque PWM informing the electronic brake and traction control module how much torque is being produced by the engine. The Desired Torque display on the scan tool indicates the amount of engine torque requested by the EBCM. With traction control not active, Desired Torque should vary between 99 percent and 100 percent.
| • | Desired torque signal PWM duty cycle is less than 5 percent or more than 95 percent. |
| • | The conditions exists for up to 10 seconds |
The PCM stores conditions which were present when the DTC set as Failure Records only. This information will not be stored as Freeze Frame Records.
| • | The DTC becomes history when the conditions for setting the DTC are no longer present. |
| • | The history DTC clears after 40 malfunction free warm-up cycles. |
| • | The PCM receives a clear code command from the scan tool. |
An intermittent may be caused by a poor connection, rubbed through wire insulation or a broken wire inside the insulation. Check for the following conditions:
| • | Poor connection or damaged harness. |
| Inspect PCM harness for an open or short to ground in the desired torque PWM circuit, improper mating, broken locks, improperly formed or damaged terminals, poor terminal to wire connection, and damaged harness. |
| • | Intermittent Test |
| Using a scan tool, observe Desired Torque display while moving related connectors and wiring harness. If the failure is induced, the displayed value will change. This may help to isolate the location of the malfunction. |
If the DTC cannot be duplicated and is determined to be intermittent, reviewing the Failure Records can be useful in determining when the DTC was last set. Also refer to Testing for Intermittent Conditions and Poor Connections in Wiring Systems.
Step | Action | Values | Yes | No |
|---|---|---|---|---|
1 | Did you perform the Powertrain On-Board Diagnostic (OBD) System Check? | -- | ||
2 |
Is Desired Torque at or near the specified value? | 100 % | ||
3 |
Does voltage measure near the specified value? | 5 V | ||
4 |
Is frequency between the specified values? | 120-135 Hz | ||
5 |
Is duty cycle between the specified values? | 5-95 % | ||
6 |
Did you find and correct the condition? | -- | ||
7 |
Did you find and correct the condition? | -- | ||
8 | Replace the EBTCM. Refer to Electronic Brake Control Module Replacement in Antilock Brake Systems. Did you complete the replacement? | -- | -- | |
9 | Inspect for a poor connection at the PCM. If a problem is found, repair as necessary. Refer to Connector Repairs in Wiring Systems. Did you find and correct the condition? | -- | ||
10 |
Important:: The replacement PCM must be programmed. Replace the PCM. Refer to Powertrain Control Module Replacement/Programming . Did you complete the replacement? | -- | -- | |
11 |
Does the Desired Torque measure at or near the specified value? | 100 percent | System OK |