GM Service Manual Online
For 1990-2009 cars only

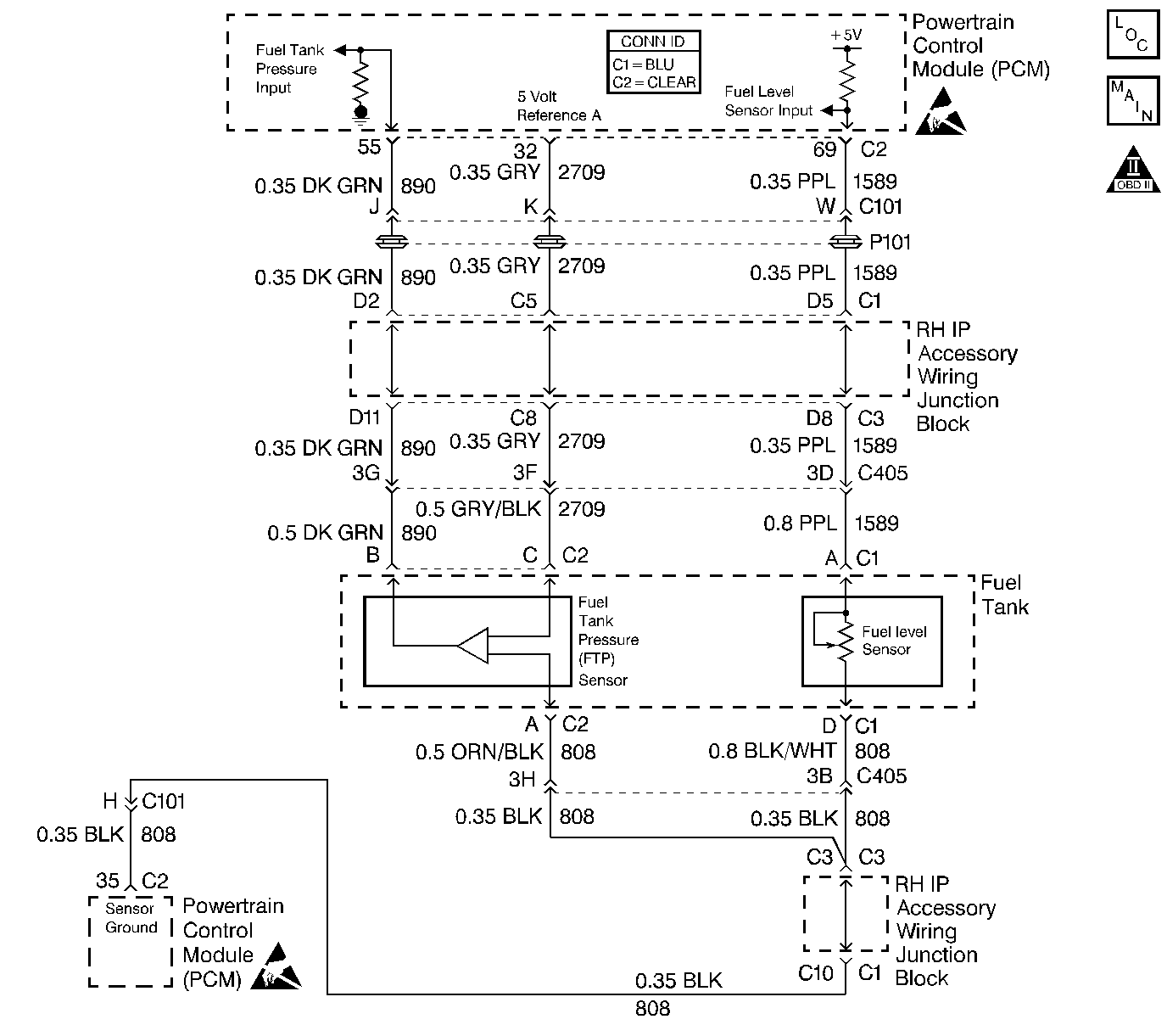
Object Number: 519290  Size: LF
Engine Controls Component Views
Fuel Controls
OBD II Symbol Description Notice
Handling ESD Sensitive Parts Notice

Circuit Description

The PCM monitors the fuel tank pressure sensor signal to detect vacuum decay and excess vacuum during the enhanced EVAP diagnostic. The fuel tank pressure sensor measures the difference between the air pressure (or vacuum) in the tank and the outside air pressure. The PCM applies a 5.0 volt reference and ground to the sensor. The sensor will return a signal voltage between 0.1 and 4.9 volts. If the PCM detects a fuel tank pressure sensor signal that is excessively high, DTC P0453 will set.

Conditions for Running the DTC

  1. System voltage is between 10 and 18 volts.
  2. The ignition is ON.

Conditions for Setting the DTC

    •  The fuel tank pressure sensor signal is more than 4.9 volts.
    •  The conditions is present for 5 seconds.

Action Taken When the DTC Sets

    • The PCM will illuminate the malfunction indicator lamp (MIL) during the second consecutive trip in which the diagnostic test has been run and failed.
    • The PCM will store conditions which were present when the DTC set as Freeze Frame/Failure Records data.

Conditions for Clearing the MIL/DTC

    • The PCM will turn OFF the malfunction indicator lamp (MIL) during the third consecutive trip in which the diagnostic has run and passed.
    • The history DTC will clear after 40 consecutive warm-up cycles have occurred without a malfunction.
    • The DTC can be cleared by using a scan tool.

Diagnostic Aids

Continue the diagnosis at step 4 if you were sent here from one of the EVAP diagnostic tables.

Check for the following conditions:

Many situations may lead to an intermittent condition. Perform each inspection or test as directed.

Important: :  Remove any debris from the connector surfaces before servicing a component. Inspect the connector gaskets when diagnosing or replacing a component. Ensure that the gaskets are installed correctly. The gaskets prevent contaminate intrusion.

    • Loose terminal connection
       -  Use a corresponding mating terminal to test for proper tension. Refer to Testing for Intermittent Conditions and Poor Connections , and to Connector Repairs in Wiring Systems for diagnosis and repair.
       -  Inspect the harness connectors for backed out terminals, improper mating, broken locks, improperly formed or damaged terminals, and faulty terminal to wire connection. Refer to Testing for Intermittent Conditions and Poor Connections , and to Connector Repairs in Wiring Systems for diagnosis and repair.
    • Damaged harness--Inspect the wiring harness for damage. If the harness inspection does not reveal a problem, observe the display on the scan tool while moving connectors and wiring harnesses related to the sensor. A change in the scan tool display may indicate the location of the fault. Refer to Wiring Repairs in Wiring Systems for diagnosis and repair.
    •  Inspect the powertrain control module (PCM) and the engine grounds for clean and secure connections. Refer to Wiring Repairs in Wiring Systems for diagnosis and repair.

If the condition is determined to be intermittent, reviewing the Snapshot or Freeze Frame/Failure Records may be useful in determining when the DTC or condition was identified.

Test Description

The numbers below refer to the step numbers on the diagnostic table:

  1. This vehicle is equipped with a PCM which utilizes an Electrically Erasable Programmable Read Only Memory (EEPROM). When the PCM is being replaced, the new PCM must be programmed.

DTC P0453 Fuel Tank Pressure Sensor Circuit High Voltage

Step

Action

Values

Yes

No

1

Did you perform the Powertrain On-Board Diagnostic (OBD) System Check?

--

Go to Step 2

Go to Powertrain On Board Diagnostic (OBD) System Check

2

Important: If DTC P1635 5 Volt Reference Circuit is set, go to that DTC first.

  1. Turn ON the ignition, with the engine OFF.
  2. With a scan tool, observe fuel tank pressure parameter.

Does the scan tool indicate fuel tank pressure more than the specified value?

4.7 V

Go to Step 4

Go to Step 3

3

Important: Continue the diagnosis at step 4 if you were sent here from one of the EVAP diagnostic tables.

  1. With a scan tool, capture Failure Records data and clear the DTCs.
  2. Operate the vehicle within the Failure records conditions.
  3. Use the scan tool to monitor specific DTC info for DTC P0453.

Does the scan tool indicate DTC P0453 failed this ignition?

--

Go to Step 4

Go to Diagnostic Aids

4

  1. Disconnect the fuel tank pressure sensor electrical connector.
  2. With a scan tool, observe the fuel tank pressure parameter.

Does the scan tool indicate fuel tank pressure near the specified value?

0.0 V

Go to Step 6

Go to Step 5

5

  1. Turn OFF the ignition.
  2. Test the fuel tank pressure signal circuit for a short to voltage. Refer to Testing for Intermittent Conditions and Poor Connections and Wiring Repairs in Wiring Systems.

Did you find and correct the condition?

--

Go to Step 11

Go to Step 10

6

  1. Turn OFF the Ignition
  2. Test the fuel tank pressure sensor ground circuit for a poor terminal connection at the PCM. Refer to Testing for Intermittent Conditions and Poor Connections and Connector Repairs in Wiring Systems.

Did you find and correct the condition?

--

Go to Step 11

Go to Step 7

7

Test for an open in the fuel tank pressure sensor ground circuit. Refer to Testing for Intermittent Conditions and Poor Connections and Wiring Repairs in Wiring Systems.

Did you find and correct the condition?

--

Go to Step 11

Go to Step 8

8

Test for poor terminal connections at the fuel tank pressure sensor connector. Refer to Testing for Intermittent Conditions and Poor Connections and Wiring Repairs in Wiring Systems.

Did you find and correct the condition?

--

Go to Step 11

Go to Step 9

9

Replace the fuel tank pressure sensor. Refer to Fuel Tank Pressure Sensor Replacement Fuel Tank Pressure Sensor Replacement.

Did you complete the replacement?

--

Go to Step 11

--

10

Important: :  The replacement PCM must be programmed.

Replace the PCM. Refer to Powertrain Control Module Replacement/Programming .

Did you complete the replacement?

--

Go to Step 11

--

11

  1. With a scan tool, clear the DTCs.
  2. Start the engine and operate the vehicle within the Fail Record condition for setting the DTC.

Does the scan tool indicate that this diagnostic has ran and passed?

--

Go to Step 2

System OK