GM Service Manual Online
For 1990-2009 cars only

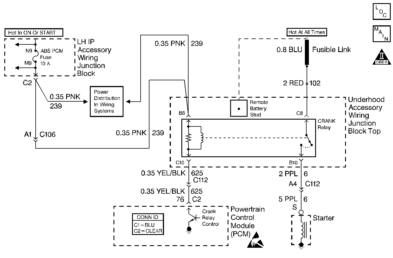
Object Number: 515297  Size: MF
Engine Controls Component Views
Engine Data Sensors-MAF, EVAP Vent, EVAP Purge, EGR
OBD II Symbol Description Notice
Handling ESD Sensitive Parts Notice

Circuit Description

The PCM has the ability to disable starter operation if conditions inappropriate for starter operation exist. The PCM disables the starter if the engine is running, if a correct VTD password is not received from the VTD system or if the vehicle operator attempts to engage the starter for an extended period of time.

The PCM controlled starter system consists of the following components:

    • Crank relay
    • The ignition switch
    • The starter solenoid
    • The PCM

Diagnostic Aids

The PCM Controlled Starter Diagnosis table is intended to identify electrical malfunctions that can occur with the system. For starter motor diagnosis and on-vehicle service, refer to Diagnostic System Check - Engine Electrical in Engine Electrical.

Check for the following conditions:

    • Poor connection at the PCM , the crank relay, the ignition switch or the starter solenoid.
        Inspect harness connectors for the following conditions:
       - Backed out terminals
       - Improper mating
       - Broken locks
       - Improperly formed or damaged terminals
       - Poor terminal to wire connection
    • Damaged harness
        Inspect the wiring harness for damage.
    • Either of the following conditions can cause the PCM to disable starter operation:
       - The engine is running.
       - The starter has been continuously engaged for more than 15 seconds.
       - A correct VTD password has not been received from the VTD system.

Step

Action

Value(s)

Yes

No

1

Does the starter run continuously?

--

Go to Step 9

Go to Step 2

2

Did you perform the Powertrain On-Board Diagnostic System Check?

--

Go to Step 3

Go to Powertrain On Board Diagnostic (OBD) System Check

3

Are any other DTCs set?

 

Go to Diagnostic Trouble Code (DTC) List/Type

Go to Step 4

4

  1. Verify that the gear select lever is in the PARK position
  2. With a scan tool, verify that the transmission internal mode switch indicates that the transmission is in PARK.

Does the scan tool indicate that the transmission is in PARK?

--

Go to Step 5

Go to Symptom Diagnosis in Automatic Transaxle

5

Remove starter relay and probe relay switch feed with a test lamp connected to ground.

Does the test lamp illuminate?

--

Go to Step 6

Go to Step 11

6

Important: When performing this step, the engine may crank. Ensure that the following conditions are met:

   • Leave the ignition OFF.
   • Place the vehicle in PARK and set the Parking Brake.
   • Remove all diagnostic tools, equipment, and shop towels from the engine compartment.

  1. Leave the starter relay disconnected.
  2. Briefly connect a fused jumper between the relay switch feed and relay solenoid feed in the relay cavity.

Does the engine crank?

--

Go to Step 7

Go to Step 23

7

  1. Turn ON the ignition .
  2. Probe the relay coil feed with a test lamp that is connected to a known good ground.

Does the test lamp illuminate?

--

Go to Step 8

Go to Step 12

8

  1. Probe the relay control circuit with a test lamp connected to battery positive voltage.
  2. While observing the test lamp, turn the ignition to the START position.

Does the test lamp illuminate?

--

Go to Step 25

Go to Step 24

9

Remove the starter relay

Does the starter run continuously?

--

Go to Step 20

Go to Step 10

10

  1. Verify that the ignition is OFF.
  2. Probe the relay coil feed circuit at the relay connector with a test lamp connected to a known good ground.

Does the test lamp illuminate?

--

Go to Step 15

Go to Step 31

11

Is the relay switch feed fuse blown?

--

Go to Step 13

Go to Step 14

12

Is the relay coil feed fuse blown?

--

Go to Step 16

Go to Step 18

13

Test the feed circuit of the relay switch for a short to ground and repair if necessary. Refer to Wiring Repairs in Wiring Systems.

Was a repair necessary?

--

Go to Step 33

Go to Step 21

14

Test the feed circuit of the relay switch for an open and repair if necessary. Refer to Wiring Repairs in Wiring Systems.

Was a repair necessary?

--

Go to Step 33

--

15

Test the feed circuit of the relay coil and all shared circuits for a short to voltage and repair if necessary. Refer to Wiring Repairs in Wiring Systems.

Was a repair necessary?

--

Go to Step 33

Go to Step 29

16

Test the feed circuit of the relay coil and all shared circuits for a short to ground and repair if necessary. Refer to Wiring Repairs in Wiring Systems.

Was a repair necessary?

--

Go to Step 33

Go to Step 33

17

  1. Install the starter relay.
  2. Verify that the relay coil feed fuse is good.
  3. Disconnect the PCM connector C2.
  4. Set the DMM to measure Amps.
  5. Connect the DMM between the relay control circuit at the PCM connector and a known good ground.
  6. Turn the ignition to the START position.
  7. Monitor the current reading for at least two minutes.

Is the current reading within the specified values?

0.5A -1.5A

Go to Step 33

Go to Step 31

18

Test the feed circuit for the relay coil for an open and repair if necessary. Refer to Wiring Repairs in Wiring Systems.

Was a repair necessary?

--

Go to Step 33

Go to Step 19

19

Test the feed circuit for the ignition switch for an open and repair if necessary. Refer to Wiring Repairs in Wiring Systems.

Was a repair necessary?

--

Go to Step 33

Go to Step 28

20

Test the feed circuit for the starter solenoid for a short to voltage and repair if necessary. Refer to Wiring Repairs in Wiring Systems

Was a repair necessary?

--

Go to Step 33

Go to Step 30

21

Test the feed circuit for the starter solenoid for a short to ground and repair if necessary. Refer to Wiring Repairs in Wiring Systems.

Was a repair necessary?

--

Go to Step 33

Go to Step 22

22

  1. Verify that the relay and a good relay switch feed fuse are installed.
  2. Disconnect the solenoid feed circuit at the solenoid.
  3. Connect a test lamp to a known good ground and probe the solenoid feed at the solenoid.
  4. Turn the ignition to START.

Does the test lamp illuminate for more than five seconds?

--

Go to Step 29

Go to Step 31

23

Test the feed for the starter solenoid for an open and repair if necessary. Refer to Wiring Repairs in Wiring Systems.

Was a repair necessary?

--

Go to Step 33

Go to Step 26

24

Test the control circuit for the starter relay for an open or a short to voltage and repair if necessary. Refer to Wiring Repairs in Wiring Systems.

Was a repair necessary?

--

Go to Step 33

Go to Step 27

25

Inspect for a poor connection at the relay and repair if necessary. Refer to Wiring Repairs in Wiring Systems.

Was a repair necessary?

--

Go to Step 33

Go to Step 31

26

Inspect for a poor connection in the feed circuit for the starter solenoid at the starter solenoid and repair if necessary. Refer to Wiring Repairs in Wiring Systems.

Was a repair necessary?

--

Go to Step 33

Go to Step 30

27

Inspect for a poor connection in the control circuit for the relay at the PCM and repair if necessary. Refer to Wiring Repairs in Wiring Systems.

Was a repair necessary?

--

Go to Step 33

Go to Step 32

28

Inspect for a poor connection in the feed circuits for the relay and the ignition switch at the ignition switch and repair if necessary. Refer to Wiring Repairs in Wiring Systems.

Was a repair necessary?

--

Go to Step 33

Go to Step 29

29

Replace the ignition switch. Refer to Ignition and Start Switch Replacement in Instrument Panel, Gauges and Console.

Is the action complete?

--

Go to Step 33

--

30

Replace the starter solenoid. Refer to Starter Motor Replacement in Engine Electrical.

Is the action complete?

--

Go to Step 33

--

31

Replace the starter relay.

Is the action complete?

--

Go to Step 33

--

32

Important: The replacement PCM must be programmed.

Replace the PCM. Refer to Powertrain Control Module Replacement/Programming

Is action complete?

--

Go to Step 33

--

33

  1. Install any parts that were removed in order to perform tests.
  2. Attempt to crank the engine.

Does the engine crank normally?

--

System OK.

Go to Step 1