GM Service Manual Online
For 1990-2009 cars only

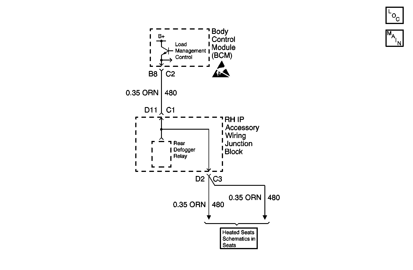
Object Number: 561155  Size: MF
Handling ESD Sensitive Parts Notice
Heated Seats - 4 Door LH
Engine Electrical Components
Power Shedding Control

Circuit Description

The Body Control Module (BCM) controls the load management feature. The load management feature can turn off the rear defogger and the heated seats when the vehicle is in a condition where the vehicle electrical load may discharge the battery. When the BCM detects that the system voltage is low, the BCM will remove power from the load management control circuit. Since the load management control circuit supplies power to the rear defogger relay and the heated seats, these devices will no longer operate until the BCM restores power to the load management control circuit.

Conditions for Running the DTC

    • The load management feature must be enabled.
    • The BCM must not be commanding the rear defogger relay and the heated seats to shut off.

Conditions for Setting the DTC

    • The BCM detects a short to ground in the load management control circuit.
    • The condition above must be present for more than 0.3 seconds.

Action Taken When the DTC Sets

The BCM stores DTC B1507 in memory.

Conditions for Clearing the DTC

    • A short to ground in the load management control circuit is no longer detected by the BCM.
    • A history DTC B1507 will clear after 100 consecutive ignition cycles if the condition for the malfunction is no longer present.
    • A scan tool may be used to clear the DTC.

Diagnostic Aids

    • If the DTC B1507 is a history DTC, the fault may be intermittent. Refer to Testing for Intermittent Conditions and Poor Connections in Wiring Systems.
    • The following conditions may cause an intermittent malfunction to occur:
       - An intermittent short to ground in the load management control circuit.
       - The rear defogger relay coil is shorted to ground internally.
       - A heated seat control module is shorted to ground internally.

Test Description

The number(s) below refer to the step number(s) on the diagnostic table.

  1. Verifies that the BCM is providing voltage to the load management devices.

  2. Tests for a short to ground in the load management control circuit.

Step

Action

Value(s)

Yes

No

1

Did you perform the Diagnostic System Check for Starting and Charging?

--

Go to Step 2

Go to Diagnostic System Check - Engine Electrical

2

  1. Install a scan tool.
  2. Turn ON the ignition, with the engine OFF.
  3. With a scan tool, monitor the DTC Information for DTC B1508 in the BCM.

Does the scan tool indicate that DTC B1508 is current?

--

Go to Step 3

Go to Diagnostic Aids

3

Test the control circuit of the rear defogger relay and the heated seat power feed circuits (if equipped) for a short to ground. Refer to Circuit Testing and Wiring Repairs in Wiring Systems.

Did you find and correct the condition?

--

Go to Step 6

Go to Step 4

4

Inspect for poor connections at the harness connector of the Body Control Module. Refer to Testing for Intermittent Conditions and Poor Connections and Connector Repairs in Wiring Systems.

Did you find and correct the condition?

--

Go to Step 6

Go to Step 5

5

Important: Perform the set up procedure for the Body Control Module. Refer to Body Control Module (BCM) Programming/RPO Configuration in Body Control Systems.

Replace the BCM. Refer to Body Control Module Replacement in Body Control Systems.

Did you complete the replacement?

--

Go to Step 6

--

6

  1. Use the scan tool in order to clear the DTCs.
  2. Operate the vehicle within the Conditions for Running the DTC as specified in the supporting text.

Does the DTC reset?

--

Go to Step 2

System OK