GM Service Manual Online
For 1990-2009 cars only
Makes
🢒
Chevrolet
🢒
2000
🢒
Impala
🢒
Brakes
🢒
Hydraulic Brakes
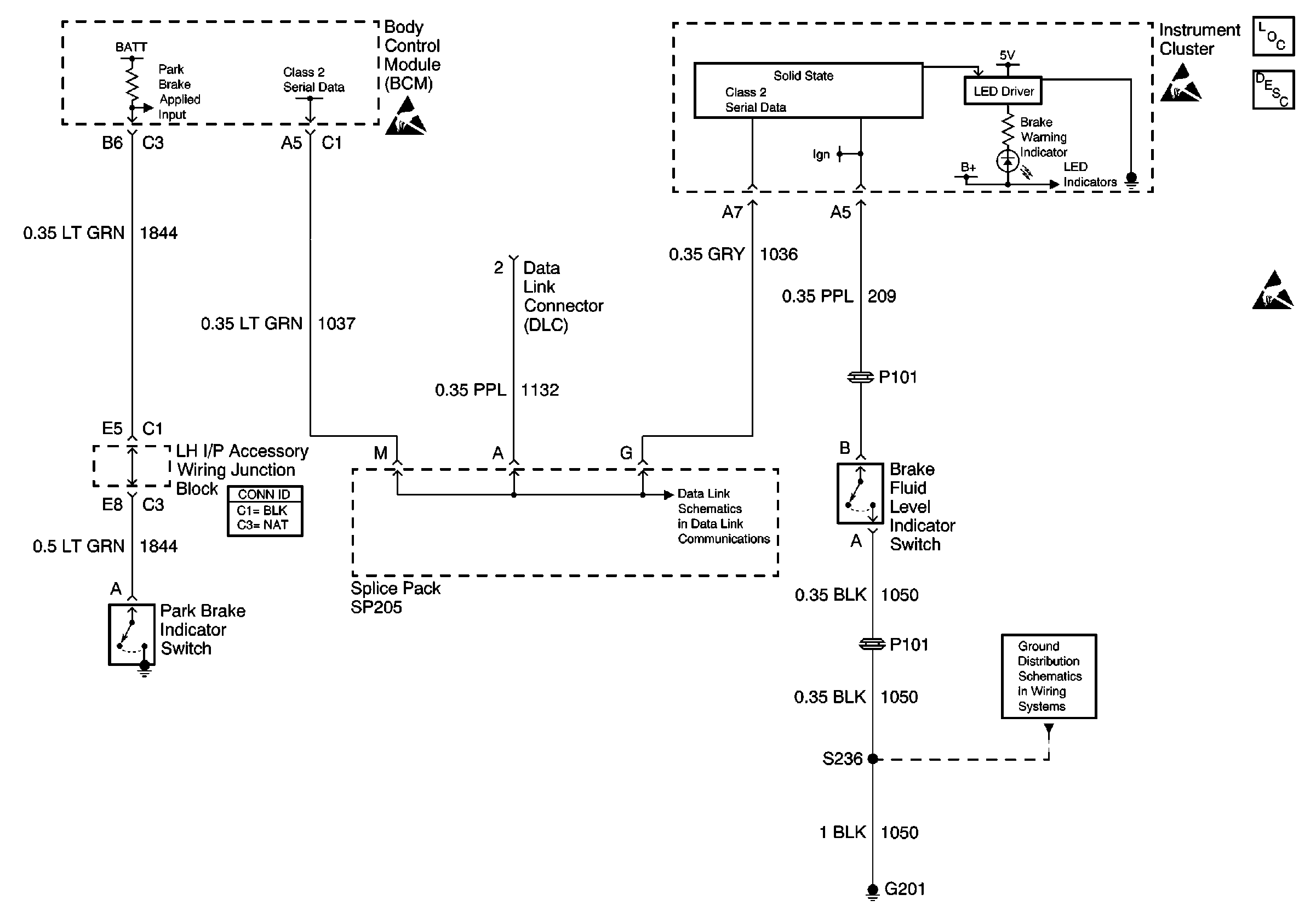
🢒 Brake Warning System Schematics
Hydraulic Brakes Components
Brake Warning System Circuit Description
OBD II Symbol Description Notice