GM Service Manual Online
For 1990-2009 cars only

DTC P1822 Internal Mode Switch Circuit B High 3.8L Monte Carlo


Object Number: 477455  Size: LF
Automatic Transmission Components
Automatic Transmission Controls Schematics
OBD II Symbol Description Notice
Handling ESD Sensitive Parts Notice

Circuit Description

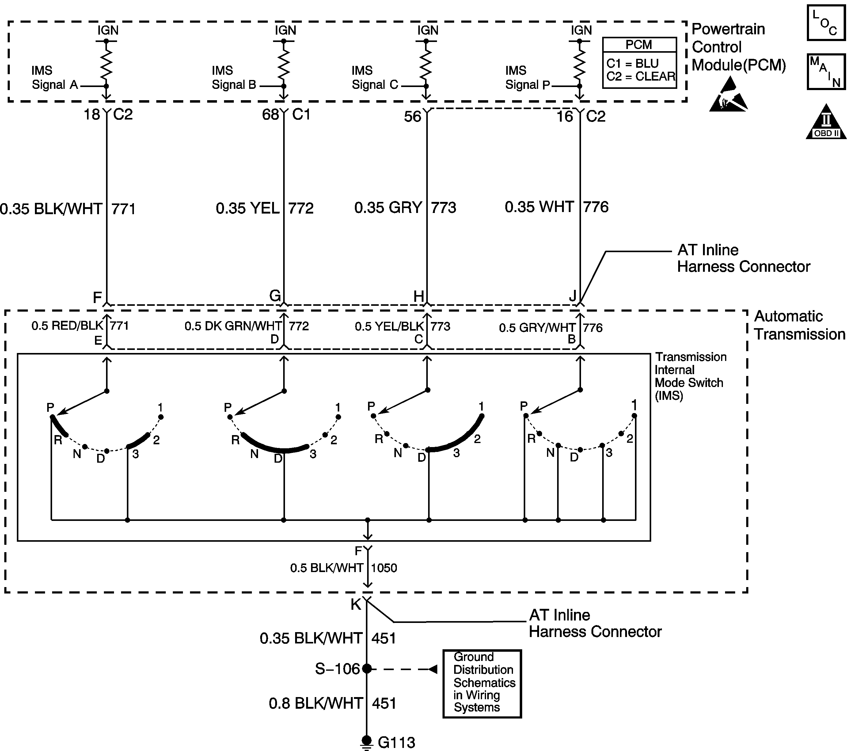
The transmission internal mode switch (IMS) is a sliding contact switch attached to the selector detent inside the transmission side cover. The four inputs to the PCM from the IMS indicate which position is selected by the transmission selector lever. This information is used for engine controls as well as determining the transmission shift patterns. The input voltage level at the PCM is high (B+) when the IMS is open and low when the switch is closed to ground. The state of each input is available for display on the scan tool. The four input parameters represented are Signals A, B, C and P (Parity).

If the PCM detects that IMS Signal B is always high, then DTC P1822 sets. DTC P1822 is a type C DTC.

Conditions for Running the DTC

    • No MAP DTC P0107 or P0108.
    • The system voltage is 9-18 volts.
    • The engine speed is at least 500 RPM for 5 seconds and not in fuel shutoff.

Conditions for Setting the DTC

The IMS Signal B is continuously high this ignition cycle, and the following conditions occur:

    • The IMS indicates PARK for 2 seconds, then;
    • The IMS indicates transitional position D2-D1, and;
    • Engine torque is 95-407 N·m (70-300 lb ft) with no engine torque defaults for 6 seconds.

Action Taken When the DTC Sets

    • The PCM does not illuminate the malfunction indicator lamp (MIL).
    • The PCM records the operating conditions when the Conditions for Setting the DTC are met. The PCM stores this information as Failure Records.
    • The PCM stores DTC P1822 in PCM history.

Conditions for Clearing the DTC

    • A scan tool can clear the DTC.
    • The PCM clears the DTC from PCM history if the vehicle completes 40 consecutive warm-up cycles without a non-emission-related diagnostic fault occurring.
    • The PCM cancels the DTC default actions when the fault no longer exists and the ignition switch is OFF long enough in order to power down the PCM.

Diagnostic Aids

    • Inspect the connectors at the controller, the component and all other circuit connecting points for an intermittent condition. Refer to Testing for Intermittent Conditions and Poor Connections in Wiring Systems.
    • Inspect the circuit wiring for an intermittent condition. Refer to Testing for Electrical Intermittents in Wiring Systems.

Test Description

The numbers below refer to the step numbers on the diagnostic table.

  1. This step tests the integrity of the engine harness and PCM by checking for the Signal B state change from HI to LOW. A LOW signal indicates the fault is either in the internal transmission harness or the switch. A HI signal indicates the fault is either in the engine harness or the PCM.

DTC P1822 Internal Mode Switch Circuit B High (3.8 L Monte Carlo)

Step

Action

Value(s)

Yes

No

1

Did you perform the Powertrain Diagnostic System Check?

--

Go to Step 2

Go to Powertrain On Board Diagnostic (OBD) System Check (3.4 L) or Powertrain On Board Diagnostic (OBD) System Check (3.8 L) in Engine Controls

2

  1. Install a Scan Tool .
  2. Turn ON the ignition with the engine OFF.
  3. Important: Before clearing the DTC, use the Scan Tool in order to record the Freeze Frame and Failure Records. Using the Clear Info function erases the Freeze Frame and Failure Records from the PCM.

  4. Record the DTC Freeze Frame and Failure Records.
  5. Clear the DTC.
  6. Select IMS on the Scan Tool .
  7. Place the range selector in D4.

Does the Scan Tool IMS parameter indicate Drive 4?

--

Go to Diagnostic Aids

Go to Step 3

3

  1. Turn OFF the ignition.
  2. Disconnect the AT Inline 20-way connector (additional DTCs may set).
  3. Install the J 44152 jumper harness on the engine side of the AT Inline 20-way connector.
  4. Using the J 35616 connector test adapter kit, connect a fused jumper wire from terminal G of the J 44152 to a good ground.
  5. Refer to Automatic Transmission Inline Harness Connector End View .

  6. Turn ON the ignition, with the engine OFF.
  7. Select IMS A/B/C/P on the Scan Tool .

Does IMS signal B indicate LOW?

--

Go to Step 5

Go to Step 4

4

Test the signal B circuit (CKT 772) of the IMS for an open between the PCM connector C1 and the AT Inline 20-way connector.

Refer to Circuit Testing and Wiring Repairs in Wiring Systems.

Did you find and correct a condition?

--

Go to Step 9

Go to Step 8

5

  1. Connect the J 44152 jumper harness to the transmission side of the 20-way connector.
  2. Test the signal B circuit (CKT 772) of the IMS for an open between the AT Inline 20-way connector and the IMS.
  3. Refer to Circuit Testing and Wiring Repairs in Wiring Systems.

Did you find the condition?

--

Go to Step 6

Go to Step 7

6

Replace the automatic transmission wiring harness.

Refer to Solenoids and Wiring Harness Replacement .

Did you complete the replacement?

--

Go to Step 9

--

7

Replace the lever assembly-manual shaft detent with internal mode switch.

Refer to Transmission Overhaul in the 4T65-E Section of the Transmission Unit Repair Manual.

Did you complete the replacement?

--

Go to Step 9

--

8

Replace the PCM.

Refer to Powertrain Control Module Replacement/Programming (3.4 L) or Powertrain Control Module Replacement/Programming (3.8 L) in Engine Controls.

Did you complete the replacement?

--

Go to Step 9

--

9

Perform the following procedure in order to verify the repair:

  1. Select DTC.
  2. Select Clear Info.
  3. Start and idle the engine in PARK for 10 seconds.
  4. Select IMS A/B/C/P and Engine Torque on the Scan Tool .
  5. Move the range selector from PARK to D4. Ensure that IMS signal B changes from HI to LOW.
  6. Accelerate the vehicle so that Engine Torque is greater than 95 N·m (70 lb ft) for at least 1 second.
  7. Select Specific DTC.
  8. Enter DTC P1822.

Has the test run and passed?

--

System OK

Go to Step 1

DTC P1822 Internal Mode Switch Circuit B High Except 3.8L Monte Carlo


Object Number: 477455  Size: LF
Automatic Transmission Components
Automatic Transmission Controls Schematics
OBD II Symbol Description Notice
Handling ESD Sensitive Parts Notice

Circuit Description

The transmission internal mode switch (IMS) is a sliding contact switch attached to the selector detent inside the transmission side cover. The four inputs to the PCM from the IMS indicate which position is selected by the transmission selector lever. This information is used for engine controls as well as determining the transmission shift patterns. The input voltage level at the PCM is high (B+) when the IMS is open and low when the switch is closed to ground. The state of each input is available for display on the scan tool. The four input parameters represented are Signals A, B, C and P (Parity).

If the PCM detects that IMS Signal B is always high, then DTC P1822 sets. DTC P1822 is a type C DTC.

Conditions for Running the DTC

    • The system voltage is 9-18 volts.
    • The engine speed is at least 500 RPM for 5 seconds and not in fuel shutoff.

Conditions for Setting the DTC

The IMS Signal B is continuously high this ignition cycle, and the following conditions occur:

    • The IMS indicates PARK for 4 seconds, then;
    • The IMS indicates transitional position D2-D1, and;
    • Engine torque is 95-407 N·m (70-300 lb ft) with no engine torque defaults for 6 seconds.

Action Taken When the DTC Sets

    • The PCM does not illuminate the malfunction indicator lamp (MIL).
    • The PCM records the operating conditions when the Conditions for Setting the DTC are met. The PCM stores this information as Failure Records.
    • The PCM stores DTC P1822 in PCM history.

Conditions for Clearing the DTC

    • A scan tool can clear the DTC.
    • The PCM clears the DTC from PCM history if the vehicle completes 40 consecutive warm-up cycles without a non-emission-related diagnostic fault occurring.
    • The PCM cancels the DTC default actions when the fault no longer exists and the ignition switch is OFF long enough in order to power down the PCM.

Diagnostic Aids

    • Inspect the connectors at the controller, the component and all other circuit connecting points for an intermittent condition. Refer to Testing for Intermittent Conditions and Poor Connections in Wiring Systems.
    • Inspect the circuit wiring for an intermittent condition. Refer to Testing for Electrical Intermittents in Wiring Systems.

Test Description

The numbers below refer to the step numbers on the diagnostic table.

  1. This step tests the integrity of the engine harness and PCM by checking for the Signal B state change from HI to LOW. A LOW signal indicates the fault is either in the internal transmission harness or the switch. A HI signal indicates the fault is either in the engine harness or the PCM.

DTC P1822 Internal Mode Switch Circuit B High (3.8 L Monte Carlo)

Step

Action

Value(s)

Yes

No

1

Did you perform the Powertrain Diagnostic System Check?

--

Go to Step 2

Go to Powertrain On Board Diagnostic (OBD) System Check (3.4 L) or Powertrain On Board Diagnostic (OBD) System Check (3.8 L) in Engine Controls

2

  1. Install a Scan Tool .
  2. Turn ON the ignition with the engine OFF.
  3. Important: Before clearing the DTC, use the Scan Tool in order to record the Freeze Frame and Failure Records. Using the Clear Info function erases the Freeze Frame and Failure Records from the PCM.

  4. Record the DTC Freeze Frame and Failure Records.
  5. Clear the DTC.
  6. Select IMS on the Scan Tool .
  7. Place the range selector in D4.

Does the Scan Tool IMS parameter indicate Drive 4?

--

Go to Diagnostic Aids

Go to Step 3

3

  1. Turn OFF the ignition.
  2. Disconnect the AT Inline 20-way connector (additional DTCs may set).
  3. Install the J 44152 jumper harness on the engine side of the AT Inline 20-way connector.
  4. Using the J 35616 connector test adapter kit, connect a fused jumper wire from terminal G of the J 44152 to a good ground.
  5. Refer to Automatic Transmission Inline Harness Connector End View .

  6. Turn ON the ignition, with the engine OFF.
  7. Select IMS A/B/C/P on the Scan Tool .

Does IMS signal B indicate LOW?

--

Go to Step 5

Go to Step 4

4

Test the signal B circuit (CKT 772) of the IMS for an open between the PCM connector C1 and the AT Inline 20-way connector.

Refer to Circuit Testing and Wiring Repairs in Wiring Systems.

Did you find and correct a condition?

--

Go to Step 9

Go to Step 8

5

  1. Connect the J 44152 jumper harness to the transmission side of the 20-way connector.
  2. Test the signal B circuit (CKT 772) of the IMS for an open between the AT Inline 20-way connector and the IMS.
  3. Refer to Circuit Testing and Wiring Repairs in Wiring Systems.

Did you find the condition?

--

Go to Step 6

Go to Step 7

6

Replace the automatic transmission wiring harness.

Refer to Solenoids and Wiring Harness Replacement .

Did you complete the replacement?

--

Go to Step 9

--

7

Replace the lever assembly-manual shaft detent with internal mode switch.

Refer to Transmission Overhaul in the 4T65-E Section of the Transmission Unit Repair Manual.

Did you complete the replacement?

--

Go to Step 9

--

8

Replace the PCM.

Refer to Powertrain Control Module Replacement/Programming (3.4 L) or Powertrain Control Module Replacement/Programming (3.8 L) in Engine Controls.

Did you complete the replacement?

--

Go to Step 9

--

9

Perform the following procedure in order to verify the repair:

  1. Select DTC.
  2. Select Clear Info.
  3. Start and idle the engine in PARK for 10 seconds.
  4. Select IMS A/B/C/P and Engine Torque on the Scan Tool .
  5. Move the range selector from PARK to D4. Ensure that IMS signal B changes from HI to LOW.
  6. Accelerate the vehicle so that Engine Torque is greater than 95 N·m (70 lb ft) for at least 1 second.
  7. Select Specific DTC.
  8. Enter DTC P1822.

Has the test run and passed?

--

System OK

Go to Step 1