GM Service Manual Online
For 1990-2009 cars only

Power and Grounding Component Views Non-SEO

Figure 1:

Top Underhood Electrical Center Label


Object Number: 515601  Size: LF
Figure 2:

Top Underhood Electrical Center, Top View


Object Number: 515946  Size: LF
Figure 3:

Top Underhood Electrical Center, Bottom View


Object Number: 515959  Size: LF

Underhood Electrical Center, Top

Fuse/Circuit Breaker

Rating

Description

LEFT I/P

60A

LH I/P Accessory Wiring Junction Block including; HEADLAMP Relay, RETAINED ACCSRY PWR Relay, RETAINED ACCESRY PWR BRKR (30A), CSTR/BCM Fuse (10A), PWR MR Fuse (2A), DR LK Fuse (20A), LH HTD Fuse (15A),

RT I/P #1

60A

RH I/P Accessory Wiring Junction Block including; DIC/RKE Fuse (10A), BATT RUNDOWN PROTECTION Relay, I/P BRP Fuse (10A), TRK/ROOF BRP Fuse 15A, B/U LP Fuse (10A), BACKUP LP Relay, HTD RH ST (15A), FRT LP Fuse (15A), REAR PARK LP Fuse (15A), PARK LP Relay , PWR DROP Fuse (15A), PWR SEATS Circuit Breaker (30A)

RT I/P #2

60A

RH I/P Accessory Wiring Junction Block including; C/LTR Fuse (15A), AUX PWR Fuse (20A), HAZ SW Fuse (15A), BRK SW Fuse (15A) and HVAC BLO Fuse (25A)

U/HOOD #1

60A

Underhood Accessory Wiring Junction Block B including; FOG RLY Fuse (10A), F/PMP RLY Fuse (15A), DRL/EXT LTS Fuse (15A), EXT LTS Fuse (10A), A/C RLY (CMPR) Fuse (10A), PCM Fuse (15A) and HORN RLY Fuse (!5A)

HORN RLY

15A

Horn Relay (Underhood Accessory Wiring Junction Block Top)

FOG RLY

10A

Fog Lamp Relay

F/PMP RLY

15A

Fuel Pump Relay

DRL/EXT LTS

15A

LH Headlamp High Beam, DRL Relay and S.E.O. Component

EXT LTS

10A

RH Headlamp, Turn Signal Side Marker Assembly

PCM

15A

PCM

A/C RLY (CMPR)

10A

A/C Relay (Underhood Accessory Wiring Junction Block Top)

Figure 4:

Bottom Underhood Electrical Center Label


Object Number: 515600  Size: LF
Figure 5:

Bottom Underhood Electrical Center, Top View


Object Number: 515955  Size: LF
Figure 6:

Bottom Underhood Electrical Center, Bottom View


Object Number: 515950  Size: LF

Underhood Electrical Center, Bottom

Fuse/Circuit Breaker

Rating

Description

IGN SW

60A

Ignition Switch and LH IP Accessory Wiring Junction Block including; CIG/AUX Fuse (10A), WSW Fuse (25A), BCM Fuse (10A), TURN SIGNAL Fuse (!5A), SRS Fuse (10A), STOP Fuse (10A) and ABS/PCM Fuse (10A)

U/HOOD #2

60A

AIR PWR RLY (w/ RPO NC1) Fuse (30A), IGN RLY, FUEL INJ Fuse (15A), TRANS SOL Fuse (10A), OXY SEN Fuse (15A), DFI MDL Fuse (15A) and ENG DEVICES Fuse (10A), A/C Relay (COIL)

COOLING FANS

60A

FAN #1 CONT Fuse (25A) and FAN #2 & #3 CONT Fuse (25A)

FAN CONT #2 & #3

25A

FAN CONT #3 Relay and FAN CONT #2 Relay

FAN CONT #1

25A

FAN CONT #1 Relay

A.I.R. RLY

30A

A.I.R. Relay (RPO NC1)(Underhood Accessory Wiring Junction Block Top)

FUEL INJ

15A

Fuel Injectors 1,2,3,4,5,6

TRANS SOL

10A

1-2 Shift Solenoid (1-2 SS Valve), 2-3 Shift Soleniod (2-3 SS Valve), Torque Convertor Clutch Pulse Width Modulated Solenoid (TCC PWM SOL) Valve

A/C RLY (COIL)

10A

A/C Relay

ENG DEVICES

10A

Evaporative Emissions Canister Purge Solenoid Valve, Mass Air Flow (MAF) Sensor, Secondary Air Injection BL Valve and A.I.R. RLY Relay (Underhood Accessory Wiring Junction Block, Top)

DFI MDL

15A

ECM Module

OXY SEN

15A

Heated Oxygen Sensor 2 (HO2S2) and Heated Oxygen Sensor 1 (HO2S1)

Figure 7:

LH Instrument Panel Fuse Block Label


Object Number: 515602  Size: LF
Figure 8:

LH Instrument Panel Fuse Block, Top View


Object Number: 516683  Size: LF
Figure 9:

LH Instrument Panel Fuse Block, Bottom View


Object Number: 516684  Size: LF

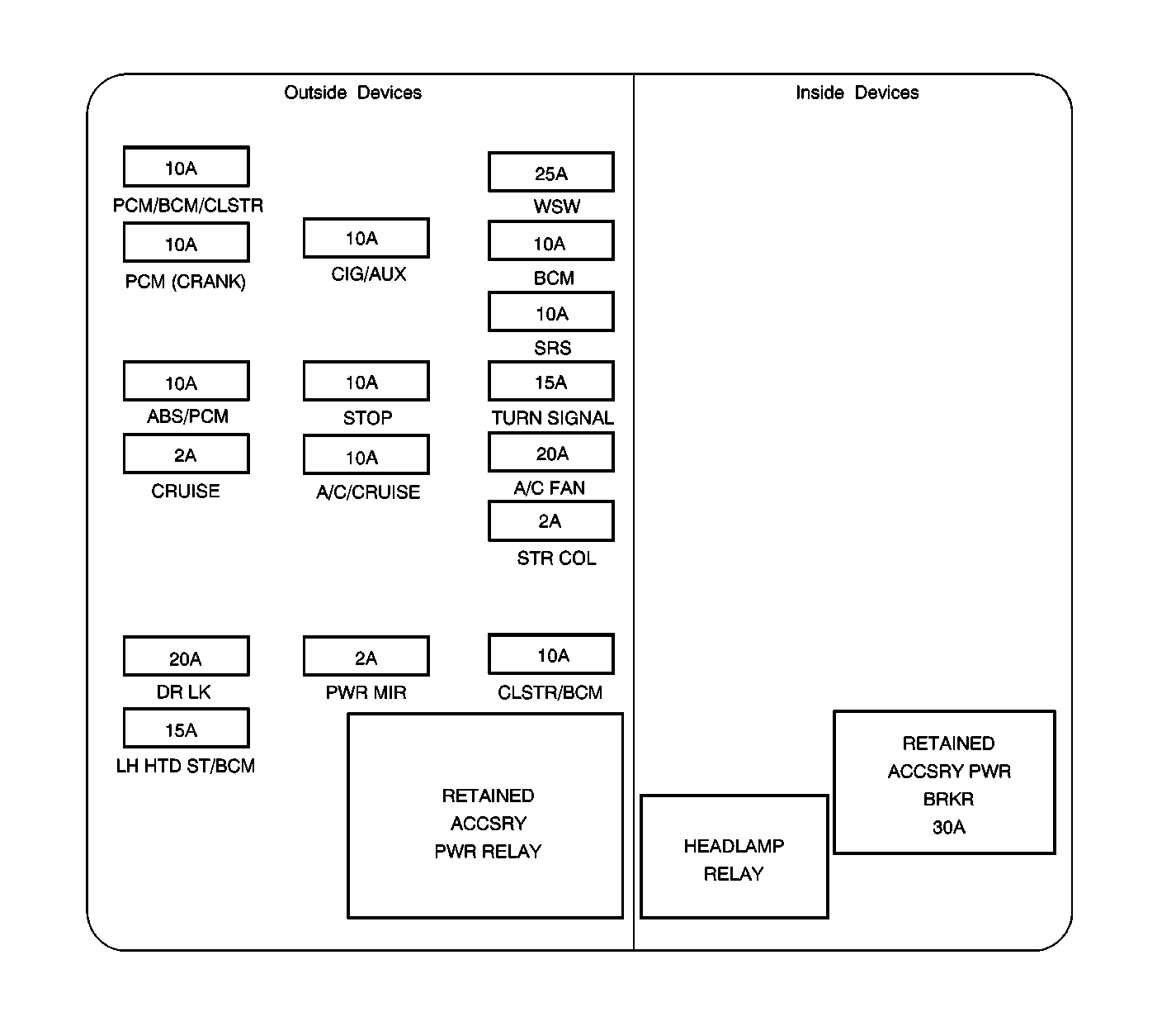
Instrument Panel Fuse Block, LH

Fuse/Circuit Breaker

Rating

Description

PCM/BCM/CLSTR

10A

BCM, PCM and Instrument Cluster

PCM (Crank)

10A

PCM

ABS/PCM

10A

Evaporative Emissions Canister Vent Valve Solenoid, Stop Lamp Switch, Crank Relay and Ignition Relay

CRUISE

2A

Cruise Control Release Switch and Cruise Control ON/OFF Switch

DR LK

20A

BCM

LH HTD ST/BCM

15A

Driver Heated Seat Relay Module and BCM

CIG/AUX

10A

Auxiliary Power Drop Connector and S.E.O. Blunt End

STOP

10A

Stop Lamp Switch and BCM Connector, C2

A/C /CRUISE

10A

Heater and A/C Control Module, RH Mode Valve Actuator Motor, Inside Rearview Mirror (RPO U68) and Driver Information Display (RPO U68) Cruise Control Module, LH Temperature Valve Actuator

PWR MIR

2A

LH Outside Rearview Mirror Switch

WSW

25A

Windshield Washer Motor and Windshield Wiper Switch

BCM

10A

BCM

SRS

10A

Inflatable Restraint Sensing and Diagnostic Module

TURN SIGNAL

15A

Hazard and Turn Signal Lamp Flasher Switch

A/C FAN

20A

A/C Control Module

STR COL

2A

Steering Wheel Controls

CLSTR/BCM

10A

BCM, Instrument Cluster, DLC

RETAINED ACCSRY PWR BRKR

30A

Sunroof Module, LH Window Lockout Switch and LH Window Switch (RH IP Accessory Wiring Junction Block-2 Door)

Figure 10:

RH Instrument Panel Fuse Block Label


Object Number: 515604  Size: LF
Figure 11:

RH Instrument Panel Fuse Block, Top View


Object Number: 516686  Size: LF
Figure 12:

RH Instrument Panel Fuse Block, Bottom View


Object Number: 516688  Size: LF

Instrument Panel Fuse Block, RH

Fuse/Circuit Breaker

Rating

Description

RH HTD ST

15A

Heated Seat Relay Module

PWR DROP

15A

Power Drop Connector

B/U LP

10A

Backup Lamp Relay, Inside Rearview Mirror, Backup Lamps

TRK/ROOF BRP

15A

Rear Compartment Courtesy Lamp, LH Illumination Sunsade Mirror Lamp (RPO DH6), Inside Rearview Mirror, LH Rail Lamp (4-Door RPO C79), RH Rail Lamp (4-Door RPO C79), RH Illumination Sunsade Mirror Lamp, Dome Lamp and Auxiliary Dome Lamp (S.E.O.)

I/P BRP

15A

IP Compartment Lamp, RH IP Courtesy Lamp, LH IP Courtesy and BCM Connector, C3

BRK SW

15A

Stop Lamp Switch

DIC/RKE

10A

Battery Rundown Protection Relay, Backup LP Relay, BCM Connector-C1, Driver Information Display (DID)(RPO U68), Rear Compartment Lid Release Relay (S.E.O.), Remote Control Door Lock Receiver (RCDLR) and Heater and A/C Control Module

HAZ SW

15A

Hazard and Trun Signal Flasher (Switch)

HVAC BLO

25A

HVAC Blower Control Module

HTD MIR

10A

LH and RH Outside Rearview Mirror

FRT PRK LP

15A

Heated and A/C Control Module, RH and LH Headlamps

AUX PWR

20A

Auxiliary Power Connector

C/LTR

15A

Cigar Lighter

RADIO

15A

CD Player (RPO UQ3), Radio Amplifier (RPO UQ3) and Radio

REAR PARK LP

15A

Headlamp Switch, LH and RH License Lamps and Tail Lamp Assemblies

PWR SEATS BRKR

30A

LH and RH Power Seat Switchs

REAR DEFOG BRKR

30A

Radio Antenna Module

PARK LAMP Relay

--

REAR PARK LP and FRT PARK LP Fuses

BATT RUNDOWN PROTECTION Relay

--

Body Control Module (BCM), TRK/ROOF BRP Fuse

BACKUP LP Relay

--

Inside Rearview Mirror, LH and RH Backup Lamps and Body Control Module (BCM)

Figure 13:

Behind Right Side of Instrumnent Panel


Object Number: 593551  Size: LF
(1)Power Drop Connector
Figure 14:

Center Console and Forward Main Body (4-Door)


Object Number: 488340  Size: LF
(1)Cigar Lighter Connector
(2)Heated Seat Switch, Driver Connector
(3)Heated Seat Switch, Passenger Connector
(4)C317 (Inline Connector to Auxiliary Power Harness)
(5)C317 (Inline Connector to Center Console Harness)
(6)Auxiliary Power Connector
(7)SIR/SDM, C1 Connector (w/ RPO AK5)
(8)SIR/SDM, C2 Connector
(9)SIR/SDM, C2 (w/ RPO AK5)
(10)C315 (Inline Connector to Power Seat, Passenger)
(11)C315 (Inline Connector to Power Seat, Driver)
(12)SIR Driver Seat Module (Jumper Harness)
(13)Automatic Transaxle Control Indicator Position Lamp
(14)Brake Transaxle Shift Interlock (BTSI)
Figure 15:

Bottom of Center Instrument Panel


Object Number: 488022  Size: LF
(1)Ashtray Assembly
(2)C240 (Inline Connector to IP Harenss)
(3)C240 (Inline to Ashtray Jumper Harness)
Figure 16:

Cigar Lighter (RPO w/o D55)


Object Number: 571263  Size: LF
(1)Cigar Lighter (w/o Center Console)
Figure 17:

Lower Left Rear of Engine 3.4L (RPO LA1)


Object Number: 487943  Size: LF
(1)Fusible Link
(2)Positive Battery Feed
(3)G151
(4)G111, G113
(5)Starter Solenoid Lead
Figure 18:

Underhood Accessory Wiring Junction Block


Object Number: 487972  Size: LF
(1)C112 (Inline Connector to Engine Harness
(2)Underhood Accessory Wiring Junction Block (Top and Bottom)
Figure 19:

Left Side of Engine Compartment


Object Number: 514086  Size: LF
(1)P100
(2)Fusible Links, IP Harness to Underhood Accessory Wiring Junction Block
Figure 20:

Left Center of Instrument Panel


Object Number: 498586  Size: LF
(1)Theft Deterrent Key Resistor (Passlockā„¢ Sensor)
(2)Ignition Switch Connector, C1 & C2
(3)Ignition Switch
Figure 21:

Left Side of Instrument Panel (RPO 9C1/9C6)


Object Number: 498565  Size: LF
(1)LH Spot Lamp Connector
(2)LH Instrument Panel Fuse Block
Figure 22:

Left Side Of Instrument Panel


Object Number: 498588  Size: LF
(1)LH Instrument Panel Block Connector, C3
(2)LH Instrument Panel Fuse Block
Figure 23:

Right Side of Instrument Panel (RPO 9C1/9C6)


Object Number: 498576  Size: LF
(1)RH Spot Lamp Connector
(2)RH Instrument Panel Fuse Block
Figure 24:

Right Side of Instrument Panel


Object Number: 498587  Size: LF
(1)C216 (Inline to IP Inflator Resistor Module
(2)C216 (Inline to IP Wiring Harness)
(3)RH Instrument Panel Fuse Block Connector. C1
(4)RH Instrument Panel Fuse Block
Figure 25:

Inside Rear Compartment, Right Rear Wheel Well


Object Number: 487927  Size: LF
(1)C430 (Inline Connector to Rear Compartment Lid Lock Release Solenoid
(2)C409 (Inline Connector to Right Rear Courtesy Lamp
(3)Rear Accessory Power Junction Block Connections )
Figure 26:

Right Front of Engine Compartment (RPO 9C1/9C6)


Object Number: 498244  Size: LF
(1)Underhood Accessory Wiring Junction Block
(2)Positive Battery Terminal
(3)Battery
(4)Negative Battery Terminal
Figure 27:

Battery Component View


Object Number: 498246  Size: LF
(1)Underhood Accessory Wiring Junction Block
(2)G100 (Negative Battery Ground)
(3)Positive Battery Therminal
(4)Battery
(5)Negative Battery Therminal
(6)Remote Battery Stud
Figure 28:

Lower Left Center of IP, Right of Steering Wheel, RPO 9C1/9C6 (4-Door)


Object Number: 488039  Size: LF
(1)Steering Column
(2)SEO Circuit Breaker Panel

Power and Grounding Component Views SEO

Figure 1:

Left Rear of Engine Compartment (RPO 6J4)


Object Number: 592707  Size: LF
(1)Blower Motor
(2)C209(A) (Inline from IP ro Horns and Siren Harness)
(3)C209(B) (Inline from IP to Horns and Siren Harness)
Figure 2:

SEO Left Rear of Engine Compartment (RPO 6J3)


Object Number: 592708  Size: LF
(1)Blower Motor
(2)C255 (Inline from IP to Headlamp Flasher, Grille Lamp and Speakers)
Figure 3:

SEO Left Rear of Engine Compartment (RPO WX7)


Object Number: 592711  Size: LF
(1)Blower Motor
(2)C255(A) (Inline from IP to Front Speaker Harness)
(3)C255(B) (Inline from IP to Front Speaker Harness)
Figure 4:

SEO Right Rear of Engine Compartment (RPO 6J6)


Object Number: 592713  Size: LF
(1)Blower Motor
(2)C255(A) (Inline from IP to Front Speaker Harness)
(3)C255(B) (Inline from IP to Front Speaker Harness)
Figure 5:

Left Front of engine Compartment (RPO 6J3)


Object Number: 592715  Size: LF
(1)C123 (Inline from SEO Front Grille Package to IP Harness)
Figure 6:

Right Front of Vehicle (w/6J3)


Object Number: 592714  Size: LF
(1) Wiring Blunt End
Figure 7:

Left Front Door (SEO)


Object Number: 592729  Size: LF
(1)Spotlamp, LF Door
(2)Spotlamp Switch
(3)Spot Lamp Connector
Figure 8:

Lower Left side of Instrument Panel


Object Number: 592723  Size: LF
(1)SEO Accessory Switch
Figure 9:

Right Front Floor (SEO)


Object Number: 592705  Size: LF
(1)Wiring Blunt End (Coiled)
Figure 10:

Passenger Side of the Roof (SEO)


Object Number: 592721  Size: LF
(1)Auxiliary Dome Lamp Ground
(2)Auxiliary Dome Lamp
(3)Auxiliary Dome Lamp Connector
Figure 11:

Roof (w/6F5)


Object Number: 592717  Size: LF
Figure 12:

Forward Edge of Rear Package Shelf (RPO 6J6)


Object Number: 592732  Size: LF
(1)Emergency Vehicle Rear Window Panel Lamp, RH
(2)Emergency Vehicle Rear Window Panel Lamp, LH
(3)Emergency Vehicle Rear Window Panel Lamp Connector
Figure 13:

Right Rear of Roof (w/6C8)


Object Number: 592719  Size: LF
(1)Coaxial Cable (Roof)
(2)Coaxial Cable (Rear Compartment)
Figure 14:

Inside Right Side of Rear Compartment (RPO T53)


Object Number: 592725  Size: LF
(1)C409 (Inline From Rear Decklid to Body Harness)
(2)Rear Compartment Lid Release Relay
Figure 15:

Inside Rear Compartment Lid (RPO T53)


Object Number: 592727  Size: LF
(1)Emergency Vehicle Rear Compartment Lid Lamp, LH
(2)Emergency Vehicle Rear Compartment Lid Lamp, RH
(3)Emergency Vehicle Rear Compartment Lid Lamp Connector, RH
(4)Emergency Vehicle Rear Compartment Lid Lamp Connector, LH