GM Service Manual Online
For 1990-2009 cars only

Object Number: 568385  Size: LF
Engine Controls Components
Automatic Transaxle Position Encoder, Crank Relay
OBD II Symbol Description Notice

Circuit Description

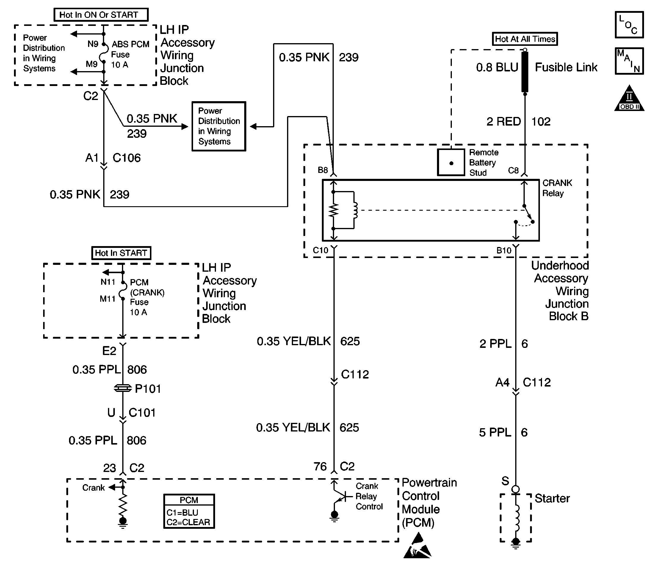
The powertrain control module (PCM) has the ability to disable the starter operation if conditions inappropriate for starter operation exist. The PCM disables the starter if the engine is running, if a correct theft deterrent password is not received, or if the vehicle operator attempts to engage the starter for an extended period of time.

The PCM controlled starter system consists of the following components:

    •  The crank relay located in the

Top Underhood Electrical Center, Top View


Object Number: 515946  Size: LF
.
    •  The Ignition Switch .
    •  The starter solenoid mounted on the Starter .
    •  The PCM located in the air cleaner assembly.
    •  The crank input circuit

Diagnostic Aids

The PCM controlled starter diagnosis is intended to identify electrical malfunctions that can occur within the system. For additional system diagnosis, refer to Diagnostic System Check - Engine Electrical in Engine Electrical.

Inspect for the following conditions:

Many situations may lead to an intermittent condition. Perform each inspection or test as directed.

Important: :  Remove any debris from the connector surfaces before servicing a component. Inspect the connector gaskets when diagnosing or replacing a component. Ensure that the gaskets are installed correctly. The gaskets prevent contaminate intrusion.

    • Loose terminal connection
       -  Use a corresponding mating terminal to test for proper tension. Refer to Testing for Intermittent Conditions and Poor Connections , and to Connector Repairs in Wiring Systems for diagnosis and repair.
       -  Inspect the harness connectors for backed out terminals, improper mating, broken locks, improperly formed or damaged terminals, and faulty terminal to wire connection. Refer to Testing for Intermittent Conditions and Poor Connections , and to Connector Repairs in Wiring Systems for diagnosis and repair.
    • Damaged harness--Inspect the wiring harness for damage. If the harness inspection does not reveal a problem, observe the display on the scan tool while moving connectors and wiring harnesses related to the sensor. A change in the scan tool display may indicate the location of the fault. Refer to Wiring Repairs in Wiring Systems for diagnosis and repair.
    •  Inspect the powertrain control module (PCM) and the engine grounds for clean and secure connections. Refer to Wiring Repairs in Wiring Systems for diagnosis and repair.

If the condition is determined to be intermittent, reviewing the Snapshot or Freeze Frame/Failure Records may be useful in determining when the DTC or condition was identified.

Test Description

The numbers below refer to the step numbers in the diagnostic table:

  1. If the engine cranks with the vehicle ignition off, there are 3 possible malfunction areas:

  2. • A malfunctioning crank relay
    • A short to voltage in the starter feed circuit
    • A short to voltage in the starter enable circuit

Step

Action

Value(s)

Yes

No

1

Did you perform the Powertrain On-Board Diagnostic (OBD) System Check?

--

Go to Step 2

Go to Powertrain On Board Diagnostic (OBD) System Check

2

Does the starter crank the engine at all times?

--

Go to Diagnostic System Check - Engine Electrical in Engine Electrical

Go to Step 3

3

Attempt to start the engine.

Does the starter solenoid click?

--

Go to Starter Solenoid Clicks, Engine Does Not Crank in Engine Electrical

Go to Starter Solenoid Does Not Click in Engine Electrical