GM Service Manual Online
For 1990-2009 cars only

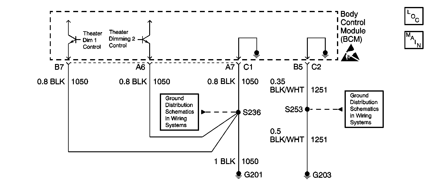
Object Number: 597839  Size: SF

Circuit Description

The BCM ground circuits provide ground for the (Theater Dimming 1 and 2) interior lamps, BTSI solenoid and the door lock-out features.

Conditions for Running the DTC

The BCM Electronics ground must be connected to ground.

Conditions for Setting the DTC

The BCM detects that any of the ground circuits are greater than 4 volts for longer than 0.3 seconds.

Action Taken When the DTC Sets

The BCM stores DTC B1349 in memory.

Conditions for Clearing the DTC

    • A current DTC B1349 will clear if the BCM no longer detects the fault.
    • A history DTC B1349 will clear after 100 consecutive ignition cycles if the condition for the malfunction is no longer present.
    • A scan tool may be used to clear the DTC.

Diagnostic Aids

    • If the DTC B1349 is a history DTC, the fault may be intermittent. Refer to Testing for Intermittent Conditions and Poor Connections in Wiring Systems.
    • The following conditions may cause an intermittent malfunction to occur:
       - An intermittent open in any of the ground circuits that are connected to the BCM.
       - The BCM is intermittently open internally.

Test Description

The number(s) below refer to the step number(s) on the diagnostic table.

  1. This step checks for an open in the ground circuits.

Step

Action

Value(s)

Yes

No

1

Did you perform the Body Control Module Diagnostic System Check?

--

Go to Step 2

Go to Diagnostic System Check - Body Control System

2

  1. Install a scan tool.
  2. Turn ON the ignition, with the engine OFF.
  3. With a scan tool, observe the Doors System Gnd parameter, Theater Dim 1 Ground parameter and the Theater Dim 2 Ground parameter in the Body Control Module input data list.

Does the scan tool display Active for all three parameters?

--

Go to Diagnostic Aids

Go to Step 3

3

Test the ground circuit that does not display Active in the previous step for an open. Refer to Testing for Intermittent Conditions and Poor Connections and Connector Repairs in Wiring Systems.

Did you find and correct the condition?

--

Go to Step 6

Go to Step 4

4

Inspect for poor connections at the harness connector of the Body Control Module. Refer to Testing for Intermittent Conditions and Poor Connections and Connector Repairs in Wiring Systems.

Did you find and correct the condition?

--

Go to Step 6

Go to Step 5

5

  1. Replace the Body Control Module. Refer to Body Control Module Replacement .
  2. Perform the Set up New Body Control Module procedure. Refer to Body Control Module (BCM) Programming/RPO Configuration .

Did you complete the repair?

--

Go to Step 6

--

6

  1. Operate the vehicle within the Conditions for Running the DTC as specified in the supporting text.
  2. Use the scan tool in order to clear the DTCs.

Does the DTC reset?

--

Go to Step 2

System OK