GM Service Manual Online
For 1990-2009 cars only

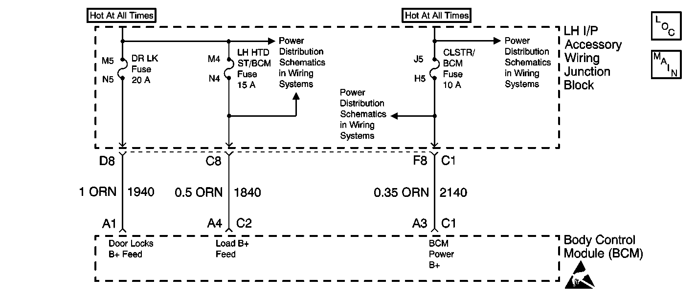
Object Number: 597784  Size: SF

Circuit Description

The battery feed circuit, from the HTD SEAT fuse to the BCM, provides power for the Rear defogger relay and the Heated seats. The battery feed circuit, from the DR LK fuse to the BCM, provides power for the RAP relay, Door lock motors and the Trunk motor.

Conditions for Running the DTC

The voltage on the battery feed circuit, from the CLSTR/BCM fuse to the BCM must be between 9 volts and 16 volts.

Conditions for Setting the DTC

The BCM detects that the circuit, from the HTD SEAT fuse to the BCM, or the circuit, from the DR LK fuse to the BCM, is less than 1 volt for longer than 0.3 seconds.

Action Taken When the DTC Sets

The BCM stores DTC B1339 in memory.

Conditions for Clearing the DTC

    • A current DTC B1339 will clear if the BCM no longer detects the fault.
    • A history DTC B1339 will clear after 100 consecutive ignition cycles if the condition for the malfunction is no longer present.
    • A scan tool may be used to clear the DTC.

Diagnostic Aids

    • If the DTC B1339 is a history DTC, the fault may be intermittent. Refer to Intermittents and Poor Connections.
    • The following conditions may cause an intermittent malfunction to occur:
       - An intermittent open in the circuit from the HTD SEAT fuse to the BCM or the circuit from the DR LK fuse to the BCM.
       - The BCM is intermittently open internally.

Test Description

The number(s) below refer to the step number(s) on the diagnostic table.

  1. This step checks for an open in a battery feed circuit.

Step

Action

Value(s)

Yes

No

1

Did you perform the Body Control Module Diagnostic System Check?

--

Go to Step 2

Go to Diagnostic System Check - Body Control System

2

  1. Install a scan tool.
  2. Turn ON the ignition, with the engine OFF.
  3. With a scan tool, observe the Loads Battery Fd parameter and the Doors Battery Fd parameter in the Body Control Module input data list.

Does the scan tool display Active for both parameters?

--

Go to Diagnostic Aids

Go to Step 3

3

Test the battery circuit that does not display Active in the previous step for an open. Refer to Testing for Intermittent Conditions and Poor Connections and Connector Repairs in Wiring Systems.

Did you find and correct the condition?

--

Go to Step 6

Go to Step 4

4

Inspect for poor connections at the harness connector of the Body Control Module. Refer to Testing for Intermittent Conditions and Poor Connections and Connector Repairs in Wiring Systems.

Did you find and correct the condition?

--

Go to Step 6

Go to Step 5

5

  1. Replace the Body Control Module. Refer to Body Control Module Replacement .
  2. Perform the Set up New Body Control Module procedure. Refer to Body Control Module (BCM) Programming/RPO Configuration .

Did you complete the repair?

--

Go to Step 6

--

6

  1. Operate the vehicle within the Conditions for Running the DTC as specified in the supporting text.
  2. Use the scan tool in order to clear the DTCs.

Does the DTC reset?

--

Go to Step 2

System OK