GM Service Manual Online
For 1990-2009 cars only
Table 1: Normal Device Power Moding
Table 2: Code Setting Criteria (Fault) for Device Power Moding

Object Number: 629663  Size: MF

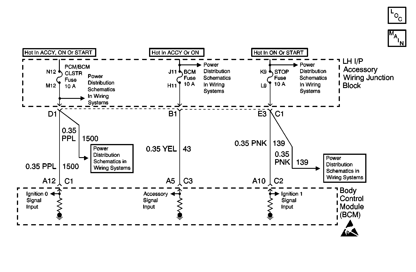
Circuit Description

Class 2 communications will not start until the vehicle systems on power mode has been identified. Three discrete wires from the ignition switch contacts are monitored by the Body Control Module (BCM) in order to determine the present power mode (ignition switch position). The BCM communicates the system power mode to all Class 2 modules on the Class 2 bus.

Conditions for Running the DTC

The Body Control Module must be powered.

Conditions for Setting the DTC

One of the three monitored ignition switch circuits has malfunctioned.

Action Taken When the DTC Sets

The BCM implements default actions for each ignition switch position when faults are detected.

Conditions for Clearing the MIL/DTC

The power moding malfunction must be corrected.

Diagnostic Aids

    • The following may cause an intermittent:
       - Damaged terminal
       - Backed out terminal
       - Poor terminal tension
       - Chafed wire
       - Broken wire inside the insulation
    • When diagnosing for an intermittent short or an open, manipulate the wire harness while watching the test equipment for changes.

Normal Device Power Moding

Key Position

ACCESSORY Power

IGN 1 Power

IGN 0 Power

OFF

Inactive

OFF

OFF

ACCESSORY

Active

OFF

ON

ON

Active

ON

ON

Code Setting Criteria (Fault) for Device Power Moding

Key Position

ACCESSORY Power

IGN 1 Power

IGN 0 Power

OFF

Inactive

ON

OFF

ACCESSORY

Active

OFF

OFF

ON

Active

ON

OFF

Step

Action

Value(s)

Yes

No

1

Did you perform the Body Control Module Diagnostic System Check?

--

Go to Step 2

Go to Diagnostic System Check - Body Control System

2

  1. Install a scan tool.
  2. Turn ON the ignition with the engine Off.
  3. With a scan tool, observe the ignition switch input parameters in the Body Control Module (BCM) input data list.

Do all of the ignition switch input parameters display ON or Active?

--

Go to Step 6

Go to Step 3

3

Test the ignition switch circuits that displayed inactive or OFF on the scan tool for an open or short to ground. Refer to Circuit Testing and Wiring Repairs in Wiring Systems.

Did you find and correct the condition?

--

Go to Step 12

Go to Step 4

4

Check for poor connections at the Body Control Module. Refer to Testing for Intermittent Conditions and Poor Connections and Connector Repairs in Wiring Systems.

Did you find and correct the condition?

--

Go to Step 12

Go to Step 5

5

Check for poor connections at the ignition switch. Refer to Testing for Intermittent Conditions and Poor Connections and Connector Repairs in Wiring Systems.

Did you find and correct the condition?

--

Go to Step 12

Go to Step 11

6

  1. Turn OFF the ignition.
  2. With a scan tool, observe the ignition switch input parameters.

Do all of the ignition switch input parameters of the ignition switch display Inactive or OFF?

--

Go to Step 7

Go to Step 8

7

  1. Turn the ignition switch to the ACCY position.
  2. With a scan tool, observe the ignition switch input parameters.

Does the ignition switch Ign 1and Ign 0 input parameters display OFF and the Accessory Power input parameter display Active?

--

Go to Step 10

Go to Step 11

8

Test the Ignition switch circuit(s) that displayed Active or ON in Step 6 for a short to voltage. Refer to Circuit Testing and Wiring Repairs in Wiring Systems.

Did you find and correct the condition?

--

Go to Step 12

Go to Step 9

9

  1. Keep the ignition switch in the OFF position.
  2. Probe the circuit, that displayed Active or ON in Step 6, at the ignition switch with a test lamp that is connected to a good ground.

Did the test lamp illuminate?

--

Go to Step 10

Go to Step 11

10

Replace the ignition switch. Refer to Ignition and Start Switch Replacement in Instrument Panel, Gauges and Console.

Did you complete the replacement?

--

Go to Step 12

--

11

  1. Replace the Body Control Module. Refer to Body Control Module Replacement .
  2. Perform the set up procedure for the Body Control Module. Refer to Body Control Module (BCM) Programming/RPO Configuration .

Did you complete the replacement and the set up procedure?

--

Go to Step 12

--

12

Operate the system in order to verify the repair.

Did you find and correct the condition?

--

System OK

Go to Step 2