GM Service Manual Online
For 1990-2009 cars only
Makes
🢒
Chevrolet
🢒
2000
🢒
Impala
🢒
Body and Accessories
🢒
Doors
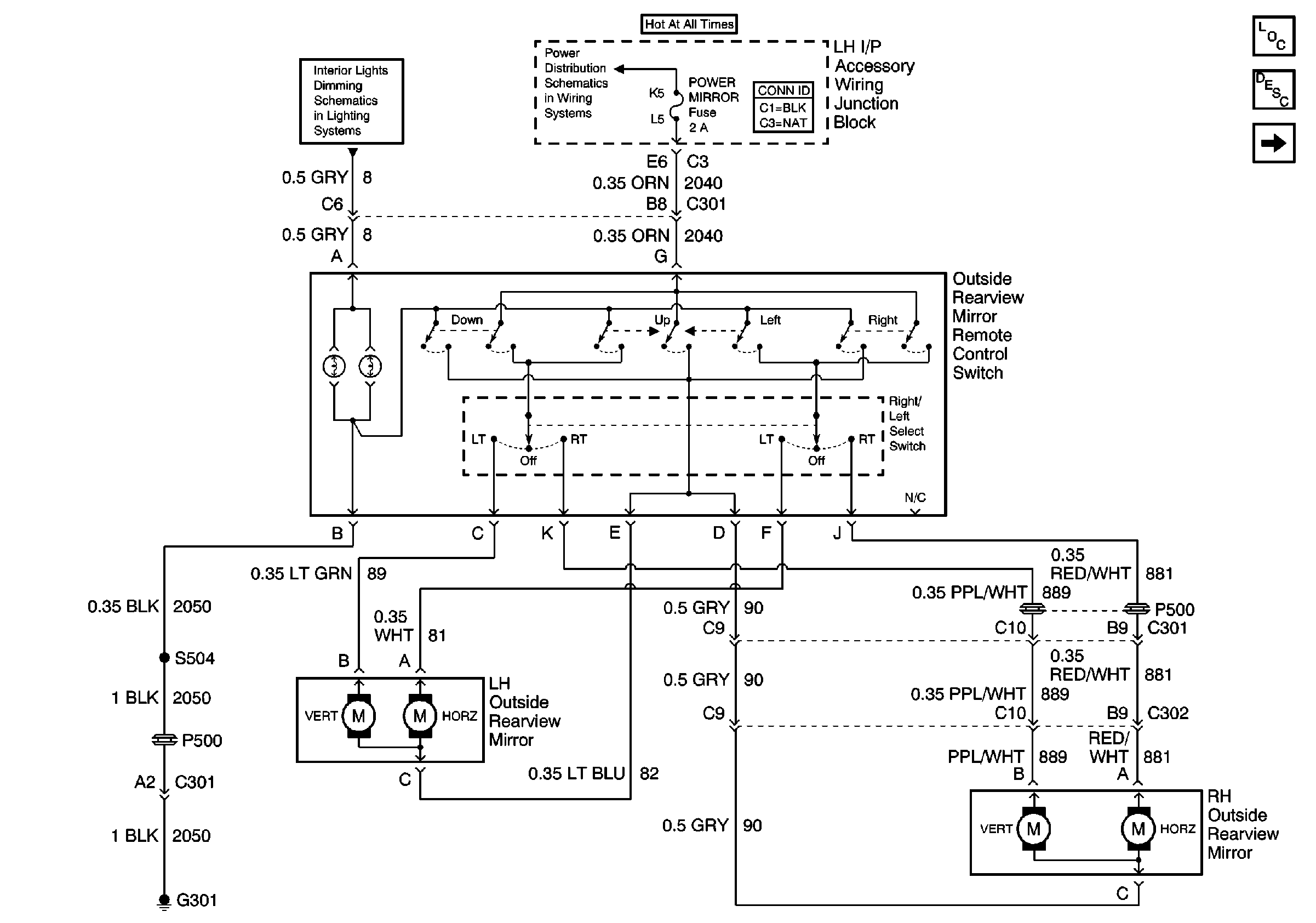
🢒 Outside Rearview Mirror Schematics
Figure
1:
Power Mirrors
Power Door Systems Components
Outside Mirrors Circuit Description
Figure
2:
Heated Mirrors