GM Service Manual Online
For 1990-2009 cars only

Object Number: 597792  Size: MF
Body Rear End Components
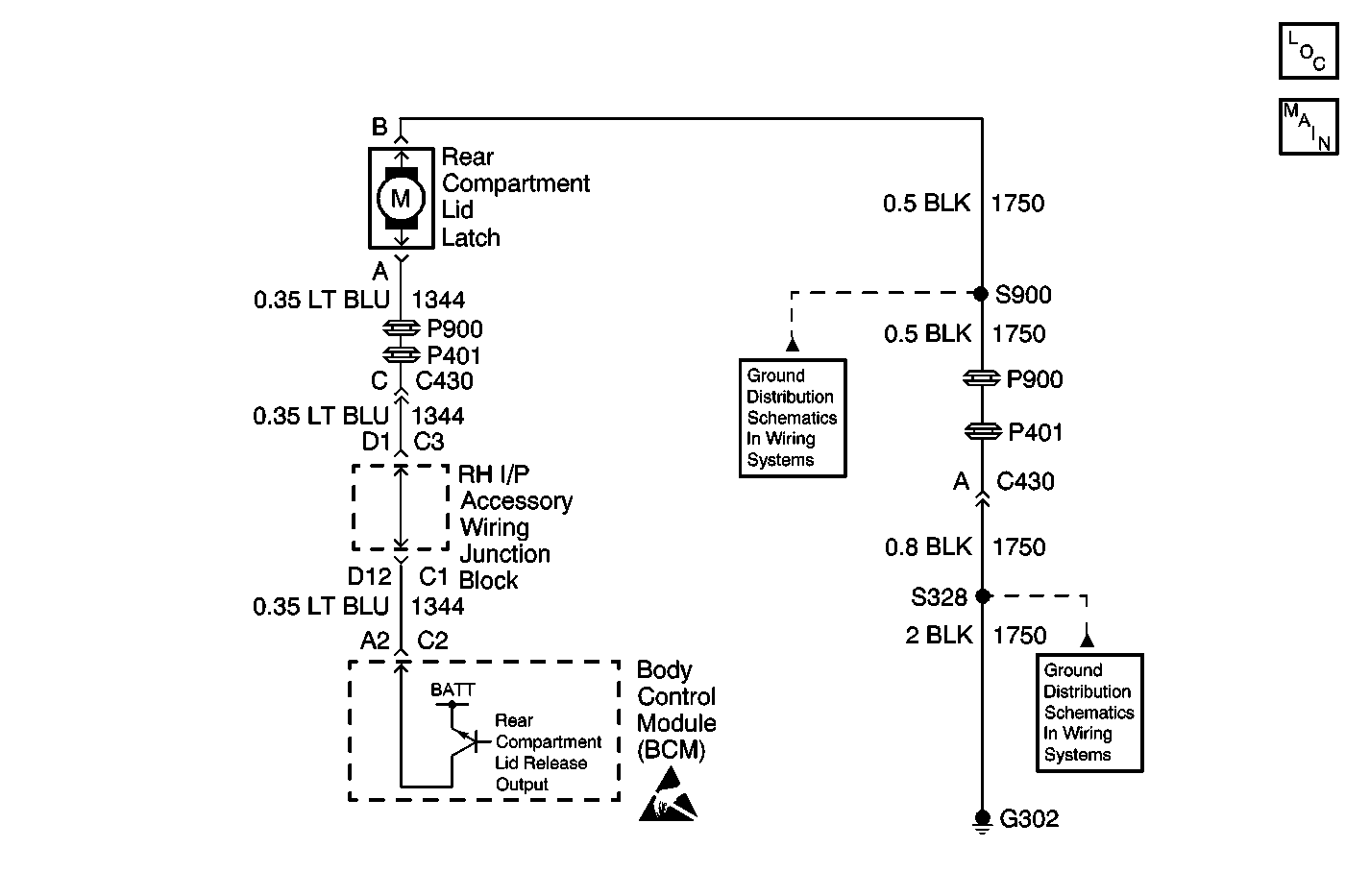
Rear Compartment Lid Release Schematic

Circuit Description

The Body Control Module (BCM) controls the Rear Compartment Lid Lock Release solenoid. The Body Control Module applies power to circuit 1344 which in turn energizes the Rear Compartment Lid Lock Release solenoid.

Conditions for Running the DTC

The Body Control Module must be commanding the Rear Compartment Lid Lock Release solenoid to energize.

Conditions for Setting the DTC

    • The BCM detects a short to ground in circuit 1344 when it is trying to energize the Rear Compartment Lid Lock Release solenoid.
    • The condition above must be present for more than 0.15 seconds.

Action Taken When the DTC Sets

The BCM stores DTC B3247 in memory.

Conditions for Clearing the DTC

    • A short to ground in the Rear Compartment Lid Lock Release solenoid. circuit 1344 is no longer detected by the BCM when the Rear Compartment Lid Lock Release solenoid is commanded to energize.
    • A history DTC B3247 will clear after 100 consecutive ignition cycles if the condition for the malfunction is no longer present.
    • A scan tool may be used to clear the DTC.

Diagnostic Aids

    • If the DTC B3247 is a history DTC, the fault may be intermittent. Refer to Intermittents and Poor Connections.
    • The following conditions may cause an intermittent malfunction to occur:
       - An intermittent short to ground in circuit 1344
       - The Rear Compartment Lid Lock Release solenoid coil is shorted to ground internally
       - The BCM is shorted to ground internally

Test Description

The number(s) below refer to the step number(s) on the diagnostic table.

  1. Listen for an audible click when the Rear Compartment Lid Lock Release solenoid operates. Command both the ON and OFF states. Repeat the commands as necessary.

  2. Verifies that the Body Control Module is providing voltage to the Rear Compartment Lid Lock Release solenoid.

  3. Tests for an open in the ground circuit to the Rear Compartment Lid Lock Release solenoid.

  4. Tests if voltage is constantly being applied to the Rear Compartment Lid Lock Release solenoid.

Step

Action

Value(s)

Yes

No

1

Did you perform the Body Control Module Diagnostic System Check?

--

Go to Step 2

Go to Diagnostic System Check - Body Control System

2

  1. Install a scan tool.
  2. Turn ON the ignition, with the engine OFF.
  3. With a scan tool, command the Rear Compartment Lid Lock Release solenoid ON and OFF.

Does the Rear Compartment Lid Lock Release solenoid turn ON and OFF with each command?

--

Go to Diagnostic Aids

Go to Step 3

3

  1. Turn OFF the ignition.
  2. Disconnect the Rear Compartment Lid Lock Release solenoid.
  3. Turn ON the ignition, with the engine OFF.
  4. Probe the control circuit of the Rear Compartment Lid Lock Release solenoid with a test lamp connected to a good ground.
  5. With a scan tool, command the Rear Compartment Lid Lock Release solenoid ON and OFF.

Does the test lamp turn ON and OFF with each command?

--

Go to Step 4

Go to Step 5

4

  1. Connect a test lamp between the control circuit of the Rear Compartment Lid Lock Release solenoid and the ground circuit of the Rear Compartment Lid Lock Release solenoid.
  2. With a scan tool, command the Rear Compartment Lid Lock Release solenoid ON and OFF.

Does the test lamp turn ON and OFF with each command?

--

Go to Step 8

Go to Step 10

5

Does the test lamp remain illuminated with each command?

--

Go to Step 7

Go to Step 6

6

Test the control circuit of the Rear Compartment Lid Lock Release solenoid for a short to ground. Refer to Circuit Testing and Wiring Repairs in Wiring Systems.

Did you find and correct the condition?

--

Go to Step 13

Go to Step 9

7

Test the control circuit of the Rear Compartment Lid Lock Release solenoid for a short to voltage. Refer to Circuit Testing and Wiring Repairs in Wiring Systems.

Did you find and correct the condition?

--

Go to Step 13

Go to Step 9

8

Inspect for poor connections at the Rear Compartment Lid Lock Release solenoid. Refer to Testing for Intermittent Conditions and Poor Connections and Connector Repairs in Wiring Systems.

Did you find and correct the condition?

--

Go to Step 13

Go to Step 11

9

Inspect for poor connections at the harness connector of the Body Control Module. Refer to Testing for Intermittent Conditions and Poor Connections and Connector Repairs in Wiring Systems.

Did you find and correct the condition?

--

Go to Step 13

Go to Step 12

10

Repair the ground circuit of the Rear Compartment Lid Lock Release solenoid. Refer to Wiring Repairs in Wiring Systems.

Did you complete the repair?

--

Go to Step 13

--

11

Replace the Rear Compartment Lid Lock Release solenoid. Refer to Rear Compartment Lid Latch Replacement

Did you complete the replacement?

--

Go to Step 13

--

12

Important: Perform the set up procedure for the Body Control Module.

Replace the Body Control Module. Refer to Body Control Module Replacement .

Did you complete the replacement?

--

Go to Step 13

--

13

  1. Use the scan tool in order to clear the DTCs.
  2. Operate the vehicle within the Conditions for Running the DTC as specified in the supporting text.

Does the DTC reset?

--

Go to Step 2

System OK