GM Service Manual Online
For 1990-2009 cars only

Removal Procedure


    Object Number: 190543  Size: SH
  1. Raise and suitably support the vehicle. Refer to Lifting and Jacking the Vehicle in General Information.
  2. Remove the oil filter. Refer to Engine Oil and Oil Filter Replacement .

  3. Object Number: 96347  Size: SH
  4. Remove the oil filter bypass hole plug.

  5. Object Number: 190505  Size: SH
  6. Insert a flat bladed tool into the oil filter bypass hole and force the bypass valve (1) out.

  7. Object Number: 96363  Size: SH
  8. Remove the oil filter bypass valve.

  9. Object Number: 96355  Size: SH
  10. If necessary, remove the oil filter fitting.

Installation Procedure


    Object Number: 96355  Size: SH

    Notice: Use the correct fastener in the correct location. Replacement fasteners must be the correct part number for that application. Fasteners requiring replacement or fasteners requiring the use of thread locking compound or sealant are identified in the service procedure. Do not use paints, lubricants, or corrosion inhibitors on fasteners or fastener joint surfaces unless specified. These coatings affect fastener torque and joint clamping force and may damage the fastener. Use the correct tightening sequence and specifications when installing fasteners in order to avoid damage to parts and systems.

  1. Install the oil filter fitting.
  2. Tighten
    Tighten the oil filter fitting to 39 N·m (29 lb ft).


    Object Number: 96363  Size: SH
  3. Install the oil filter bypass valve.

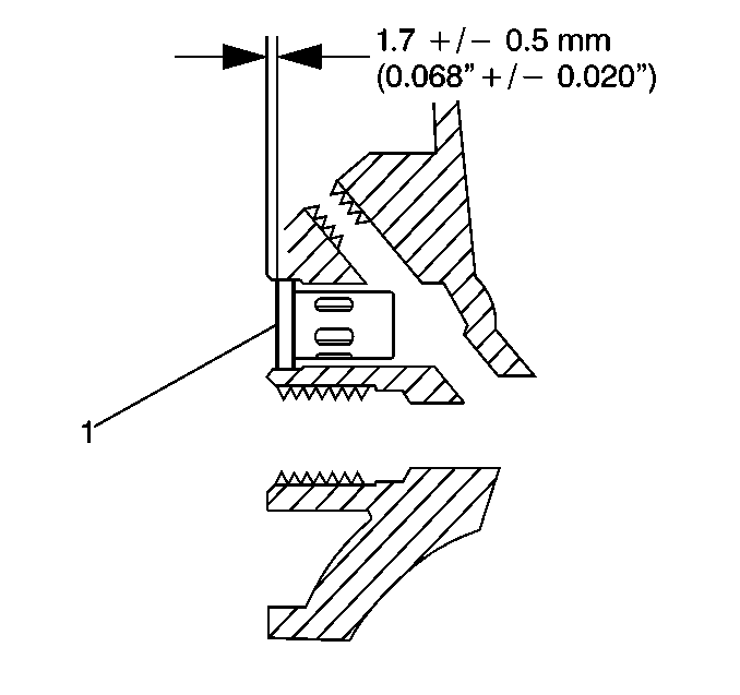
  4. Object Number: 190505  Size: SH
  5. Install the oil filter bypass valve (1) to the proper depth.

  6. Object Number: 96347  Size: SH
  7. Install the oil filter bypass hole plug.
  8. Tighten
    Tighten the oil filter fitting to 19 N·m (14 lb ft).


    Object Number: 190543  Size: SH
  9. Install the oil filter.
  10. Lower the vehicle.
  11. Add engine oil as required. Refer to Engine Oil and Oil Filter Replacement .