GM Service Manual Online
For 1990-2009 cars only
Makes
🢒
Chevrolet
🢒
2001
🢒
Impala
🢒
Body and Accessories
🢒
Instrument Panel, Gauges, and Console
🢒 Instrument Cluster Schematics
Figure
1:
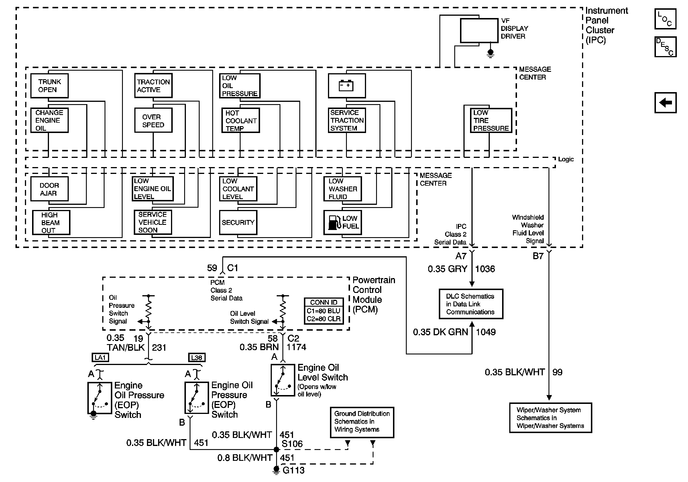
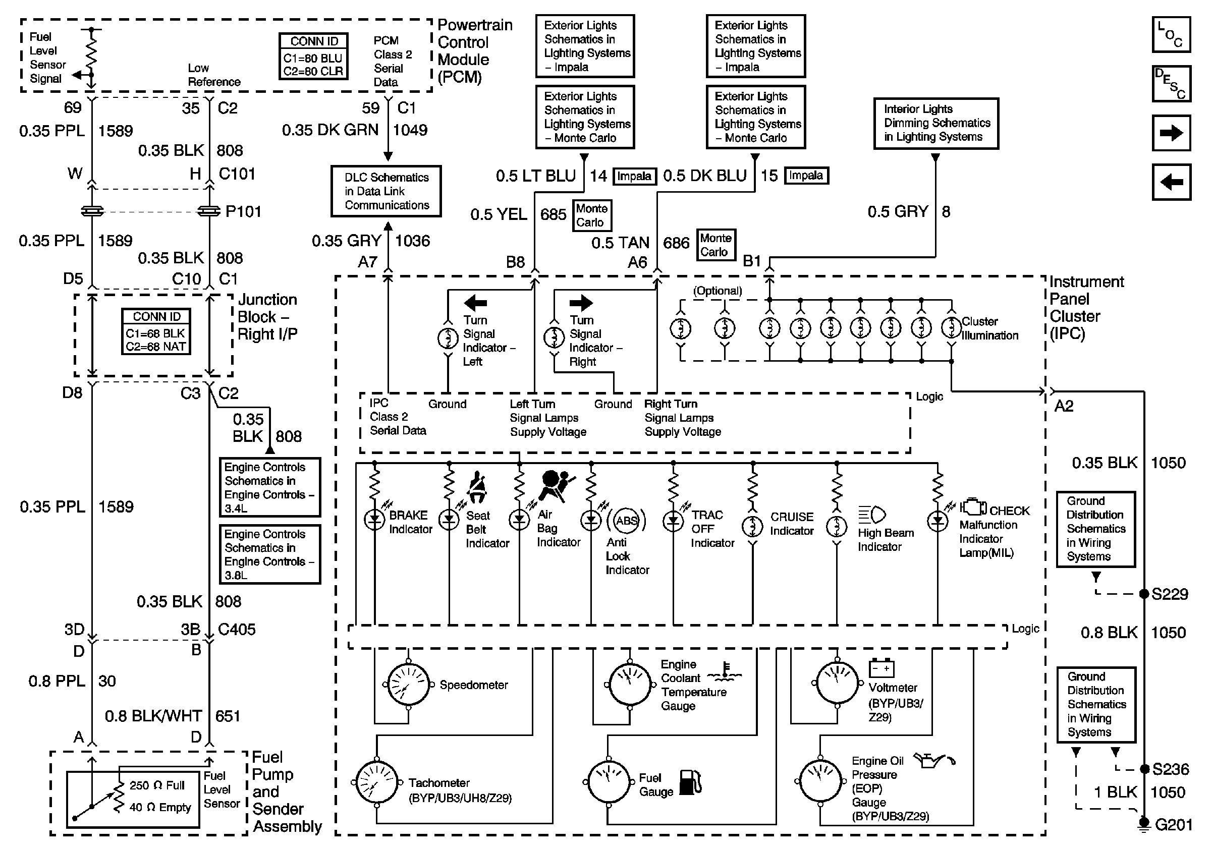
Ground, Odometer/PRNDL, Power, and VSS
Master Electrical Component List
Instrument Cluster Description and Operation
Gauges, Illumination, and Indicators
CLSTR/BCM, DR LK, LEFT IP, LT HTD ST/BCM, and PWR MIR Fuses, RETAINED ACCSRY PWR Circuit Breaker, HEADLAMP, and RETAINED ACCSRY PWR Relays
CLSTR/BCM, DR LK, LEFT IP, LT HTD ST/BCM, and PWR MIR Fuses, RETAINED ACCSRY PWR Circuit Breaker, HEADLAMP, and RETAINED ACCSRY PWR Relays
A/C/CRUISE, A/C FAN, CRUISE, PCM/BCM/CLSTR, and PCM (CRANK) Fuses
G203 (1 of 3)
G203 (1 of 3)
DLC Schematics
Figure
2:
Gages, Illumination, and Indicators
Master Electrical Component List
Instrument Cluster Description and Operation
Message Center
Ground, Odometer/PRNDL, Power, and VSS
DLC Schematics
Front Park, Turn/Hazard Lamps (Impala)
Front Park, Turn/Hazard Lamps (Impala)
Fog Lamp Switch, and Front Passenger Door
G201 (2 of 2)
G201 (1 of 2)
Fuel Controls
Fuel Controls
Turn/Hazard Lamps Control (Monte Carlo)
Turn/Hazard Lamps Control (Monte Carlo)
Figure
3:
Message Center
Master Electrical Component List
Instrument Cluster Description and Operation
1/2
G113 (2 of 2)
DLC Schematics
1/1