GM Service Manual Online
For 1990-2009 cars only

Front Bumper Fascia Outer Reinforcement Replacement Impala

Removal Procedure


    Object Number: 738912  Size: SH
  1. Remove the front bumper fascia. Refer to Front Bumper Fascia Replacement .
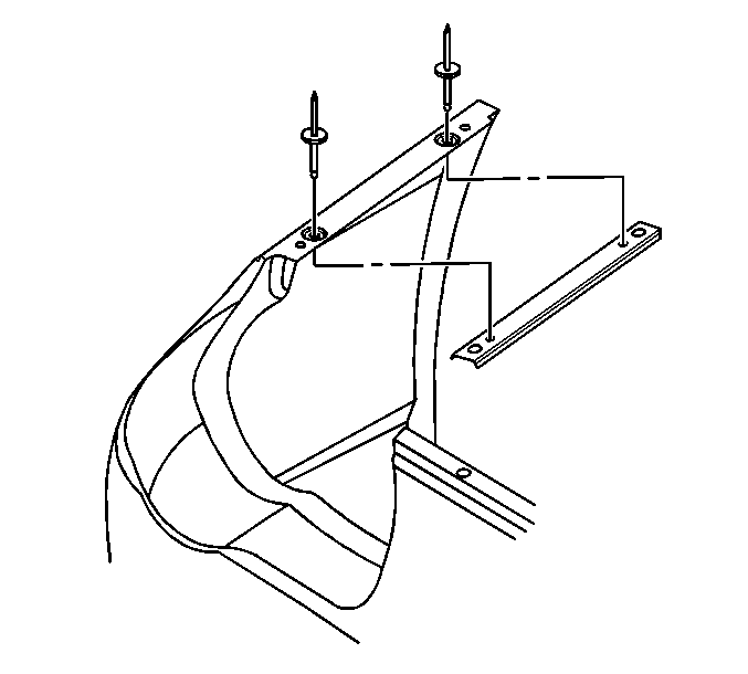
  2. Drill out the 2 rivets from the front bumper fascia reinforcement outer.
  3. Remove the front bumper fascia reinforcement outer.

Installation Procedure


    Object Number: 738912  Size: SH
  1. Align the front bumper fascia reinforcement outer to the front bumper fascia.
  2. Install the front bumper fascia reinforcement outer to the front bumper fascia using two new rivets.
  3. Install the front bumper fascia. Refer to Front Bumper Fascia Replacement .

Front Bumper Fascia Outer Reinforcement Replacement Monte Carlo

Tools Required

J 38778 Door Trim Pad Clip Removal

Removal Procedure


    Object Number: 457303  Size: SH
  1. Remove the front bumper fascia. Refer to Front Bumper Fascia Replacement .
  2. Remove the front bumper fascia reinforcement outer push-in retainers using J 38778 .
  3. Remove the front bumper fascia reinforcement outer from the front bumper fascia.

Installation Procedure


    Object Number: 457303  Size: SH
  1. Install the front bumper fascia reinforcement outer to the front bumper fascia.
  2. Install the front bumper fascia reinforcement outer push-in retainers.
  3. Install the front bumper fascia. Refer to Front Bumper Fascia Replacement .