GM Service Manual Online
For 1990-2009 cars only

Question:

Can equipment such as radar devices, video cameras and radio trees be mounted in a specialty vehicle equipped with a right front passenger's frontal airbag?

Answer:

Yes, but care must be taken to properly mount the equipment outside of the airbag "deployment zone."

Question:

What is the airbag “deployment zone”?

Answer:

The term "deployment zone" describes the space an airbag takes up when fully inflated. Airbags need room to work properly, and anything in the "deployment zone" -- such as improperly mounted equipment -- can greatly affect the performance of the airbag.

Caution: Airbags inflate with great force, faster than the blink of an eye. No objects, such as shotguns, should be placed over or near the airbag covers. Equipment mounted too close to an inflating airbag could break and become a dangerous projectile in a crash, causing injury to the vehicle's occupants. Also, an object too close to an inflating airbag could prevent the airbag from operating properly. If this ever happens, the airbag would not be able to protect occupants the way it was designed to. To help prevent injury and to allow the airbag to perform as it was designed, do not mount equipment inside the airbag deployment zone.

Question:

How can I identify the airbag “deployment zone” in my vehicle?

Answer:

The following diagrams provide the approximate dimensions of the "deployment zones" for your specialty vehicle. Before doing any service work, including the installation of any equipment, consult the appropriate service manual.

Notice: GM-approved service procedures must be followed to remove and reinstall the instrument panel to the pad in order to ensure proper airbag deployment.

Notice: Equipment mounted to the instrument panel top pad must not exceed 8.0 lb (3.6 kg).

Notice: In order not to restrict upward movement of the driver's side instrument panel top pad when the airbag deploys, equipment should be securely mounted only to the top pad.

Notice: Do not place equipment on the passenger's side of the instrument panel top pad because the edge of it rises when the airbag deploys.


Object Number: 809732  Size: C1
  1. Top Pad Attachments (approximate)

  2. Deployable Top Pad (approximate)

  3. Top Pad Releasing Attachments (approximate)

  4. Instrument Panel Cluster Trim Plate

  5. Airbag Deployment Site (underneath deployable top pad and above cluster trim plate)

Top View of Instrument Panel and Approximate Deployment Area of the Airbag Zone


Object Number: 1251726  Size: C1
  1. Driver's Side Door

  2. Driver's Airbag Deployment Zone

  3. Front of Steering Wheel (In Maximum Downward Position)

  4. Driver's Centerline

  5. Shift Selector Arc

  6. Radio Face

  7. Vehicle Centerline

  8. Passenger's Centerline

  9. Airbag Centerline

  10. Passenger's Side Door

  11. Rear Edge of Instrument Panel Top Pad

  12. Passenger's Airbag Deployment Zone

  13. Approximate Maximum Dimension of Inflated Airbag

Side View of Driver's Side Airbag Deployment Zone


Object Number: 822981  Size: B4
  1. Driver's Airbag Deployment Zone

  2. Top of Windshield

  3. Front of Steering Wheel (Maximum Downward Position)

  4. Radio Face

  5. Top of Instrument Panel

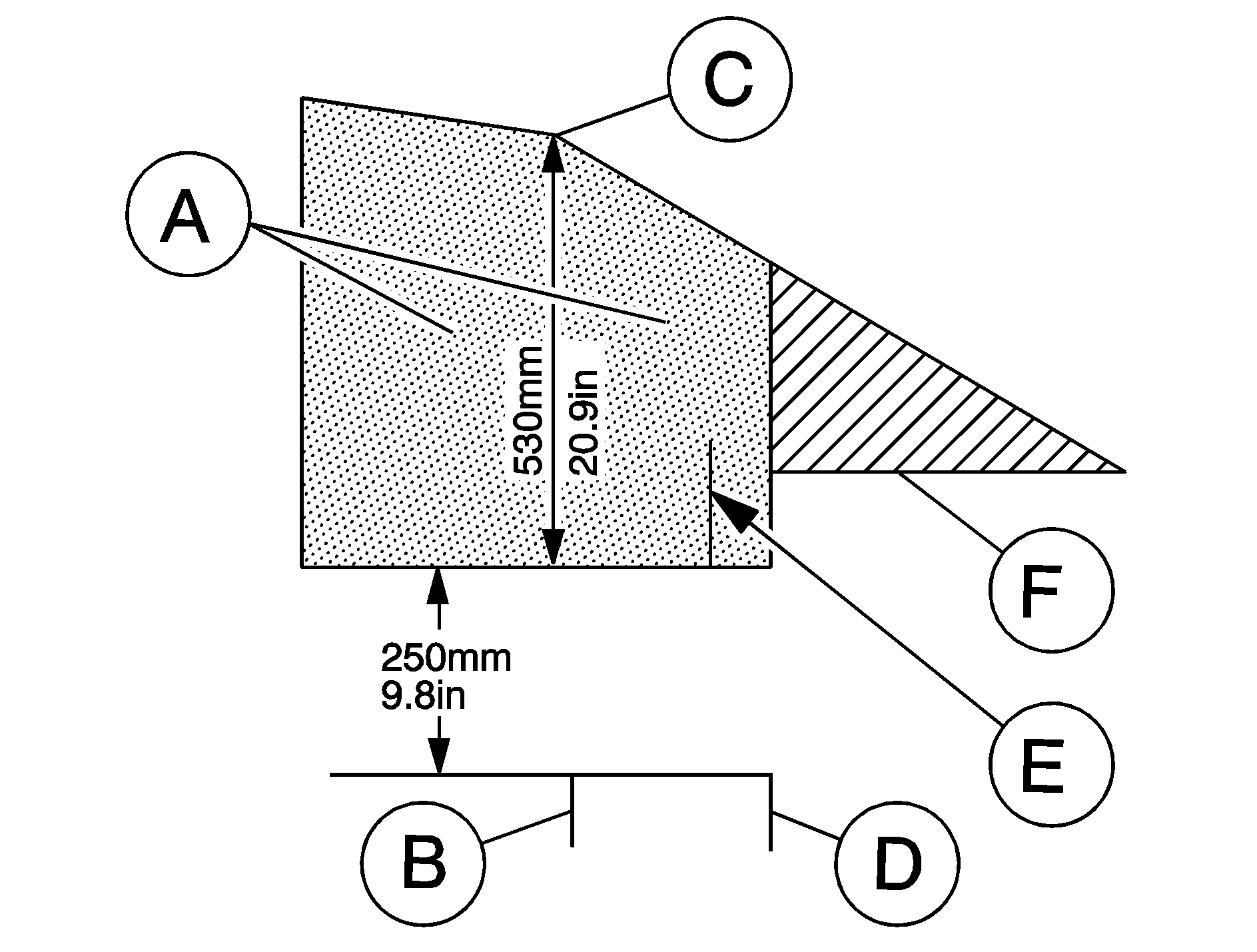
Side View of Passenger's Side Airbag Deployment Zone


Object Number: 822982  Size: B4
  1. Passenger Airbag Deployment Zone

  2. Passenger Seat in Rearmost Position

  3. Top of Windshield

  4. Passenger Seat in Foremost Position

  5. Radio Face

  6. Top of Instrument Panel

Question:

Is it possible to shield equipment so it does not interfere with airbag deployment?

Answer:

While shielding may protect certain equipment from being damaged or dislodged, it may also negatively affect how an airbag inflates. Therefore, we cannot recommend the placement of any equipment in the deployment zone, even when shielding.

Question:

Can the installation of push bumpers on the front end of the vehicle affect the deployment of the airbag?

Answer:

It is not likely that installing push bumpers will affect sensing for the airbag as long as the vehicle structure itself is not modified. GM is not aware of any adverse defects from the many push bumpers that have been installed on current model GM police vehicles with airbags.

Question:

Is there anything I might add to the front or sides of the vehicle that could keep the airbags from working properly?

Answer:

Yes. If you add things that change your vehicle's frame, bumper system, front end or side sheet metal or height, they may keep the airbag system from working properly. Also, the airbag system may not work properly if you relocate any of the airbag sensors. If you have any questions about this, you should contact Customer Assistance before you modify your vehicle. The phone numbers and addresses for Customer Assistance are in Step Two of the Customer Satisfaction Procedures in the owner's manual. See "Customer Satisfaction Procedure" in your owner's manual index.