GM Service Manual Online
For 1990-2009 cars only
Table 1: Brake Fluid Level Switch
Table 2: Park Brake Switch

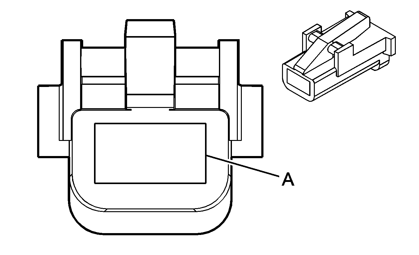
Brake Fluid Level Switch


Object Number: 646176  Size: CH

Connector Part Information

    • 12162195
    • 2-Way F Metri-Pack 150.2 Series, Pull to Seat, Sealed (BLK)

Pin

Wire Color

Circuit No.

Function

A

BLK

1050

Ground

B

PPL

209

Low Brake Fluid Indicator Control

Park Brake Switch


Object Number: 1539005  Size: CH

Connector Part Information

    • 15355428
    • 1-way F Metri-Pack 630 Series (BLK)

Pin

Wire Color

Circuit No.

Function

A

LT GRN

1844

Park Brake Indicator Supply Voltage