GM Service Manual Online
For 1990-2009 cars only
Makes
🢒
Chevrolet
🢒
2005
🢒
Impala
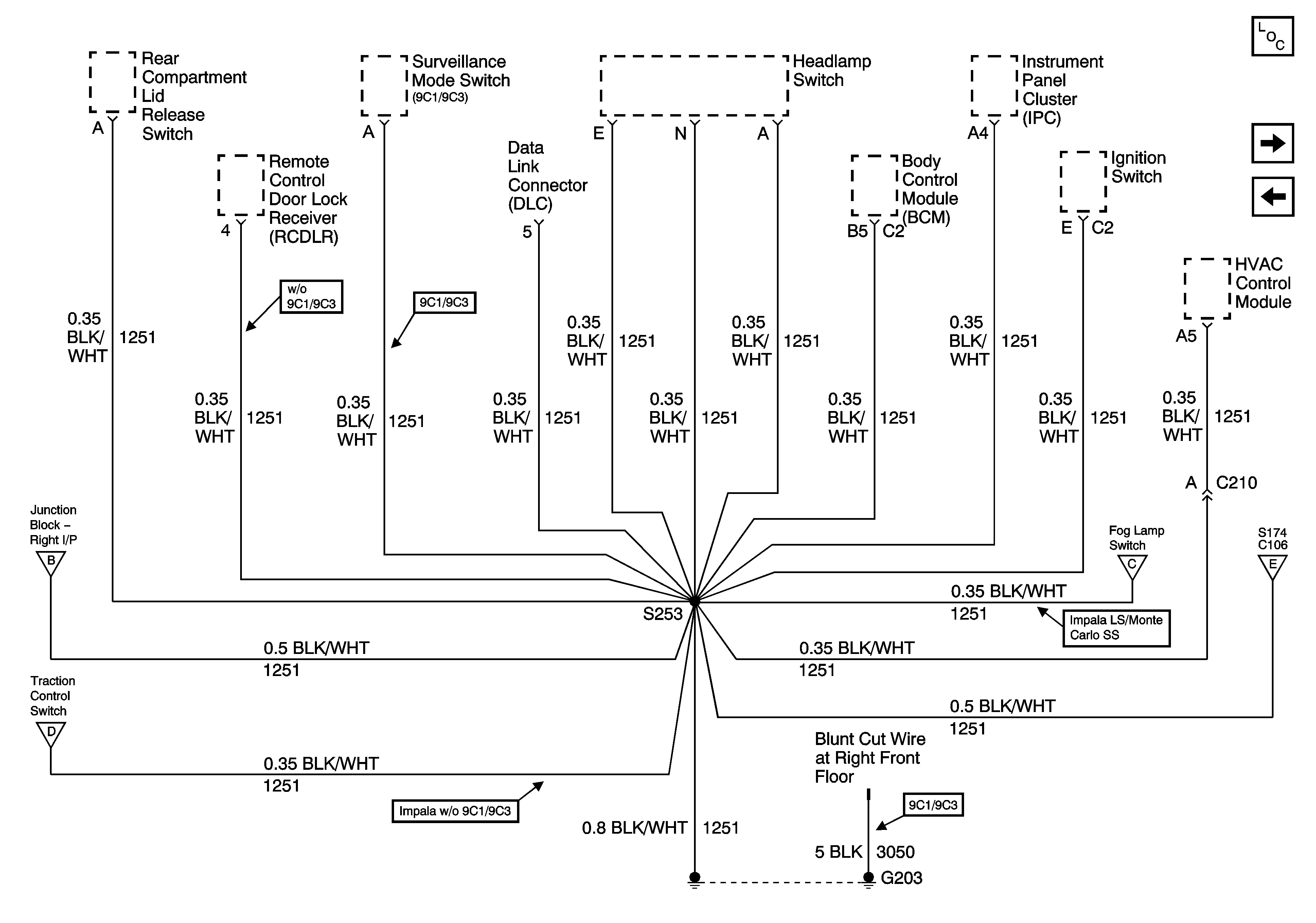
🢒 G203 - 1 of 3
G203 - 1 of 3
G203 - 1 of 3
Master Electrical Component List
G203 - 2 of 3
G202
G203 - 2 of 3
G203 - 3 of 3
G203 - 3 of 3
G203 - 3 of 3