GM Service Manual Online
For 1990-2009 cars only
Makes
🢒
Chevrolet
🢒
2005
🢒
Impala
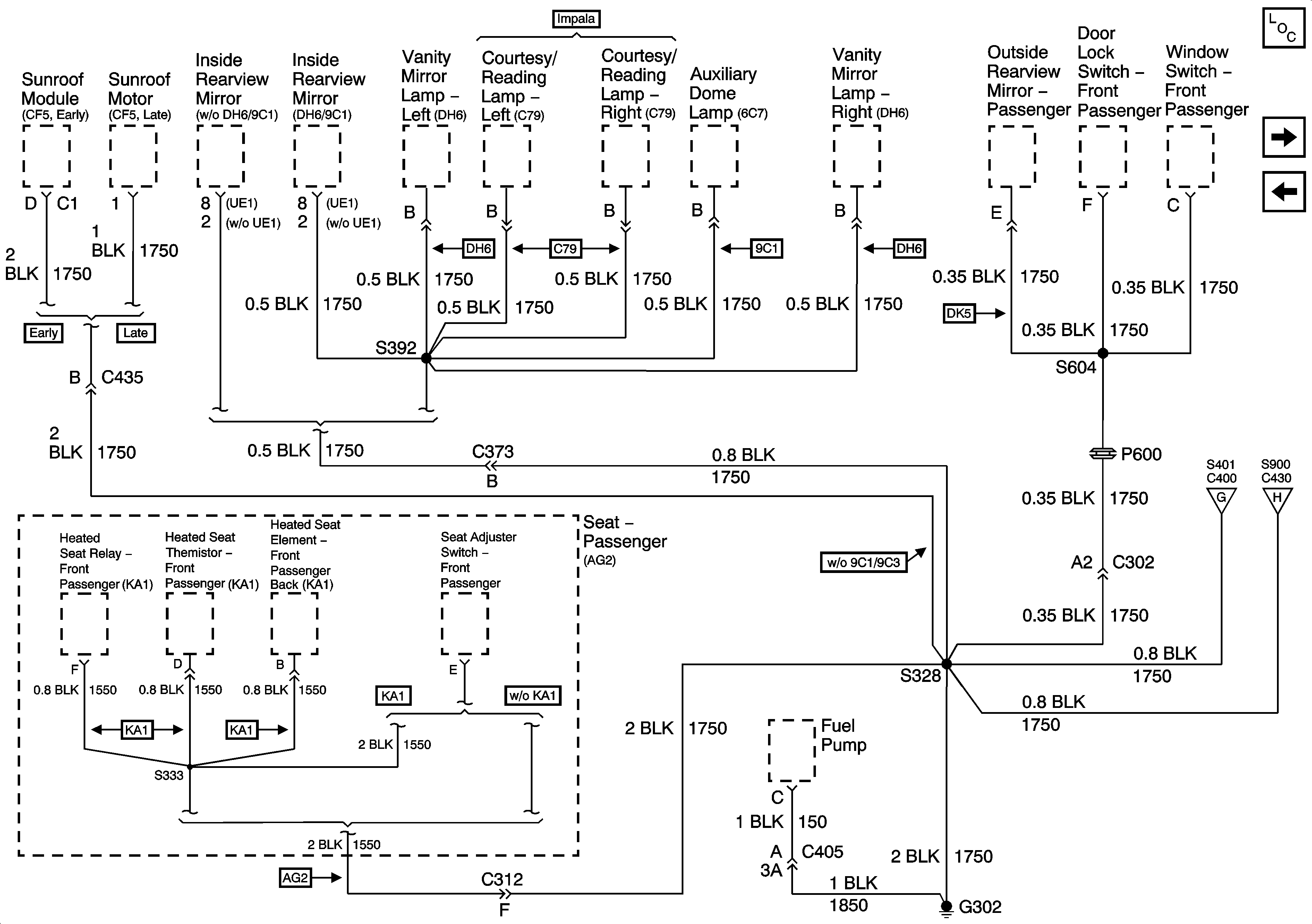
🢒 G302 - 1 of 2
G302 - 1 of 2
G302 - 1 of 2
Master Electrical Component List
G302 - 2 of 2 and G309
G301 - 2 of 2
G302 - 2 of 2 and G309
G302 - 2 of 2 and G309