GM Service Manual Online
For 1990-2009 cars only
Makes
🢒
Chevrolet
🢒
2005
🢒
Impala
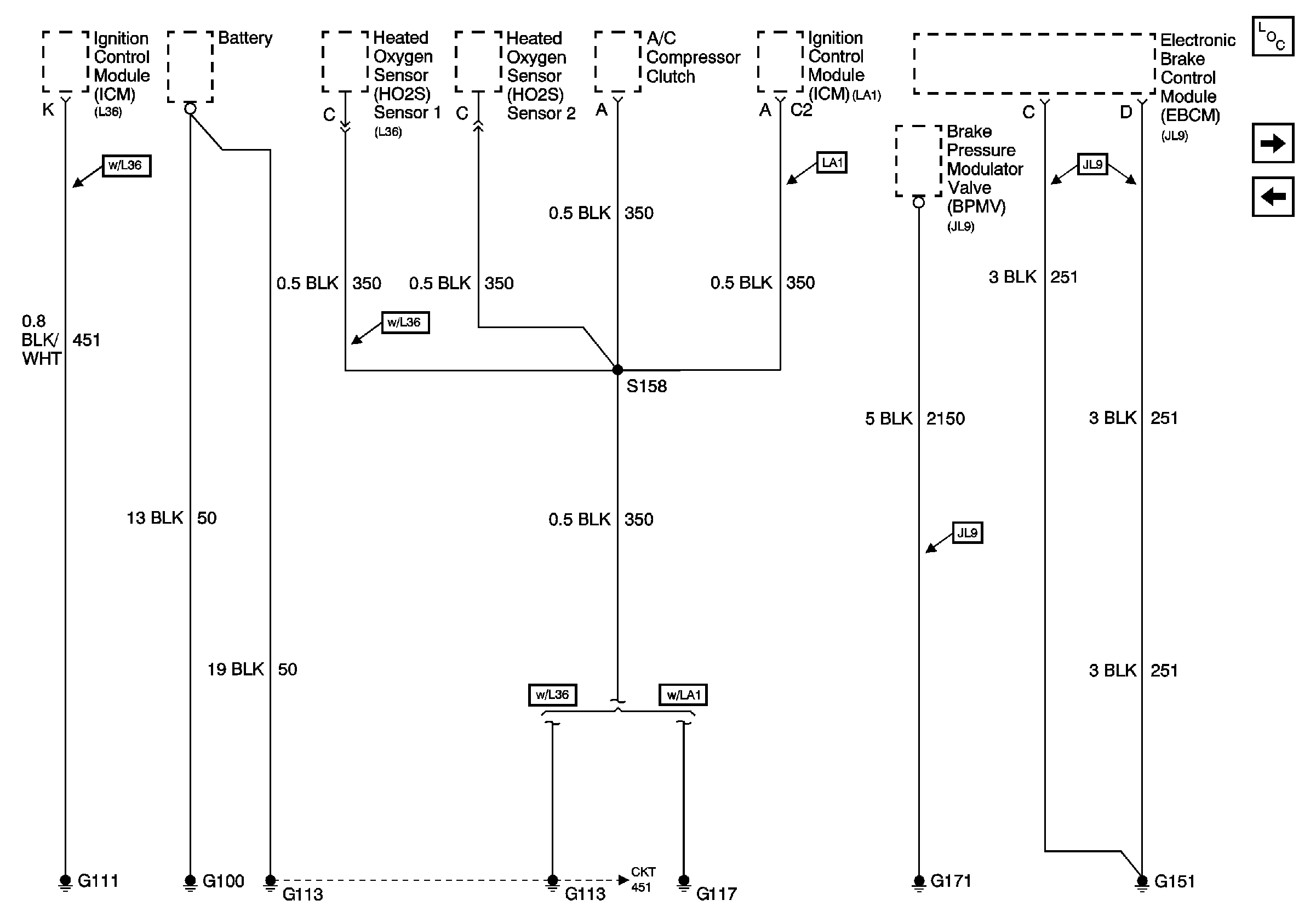
🢒 G100, G111, G113 [1 of 2], G117, G151, and G171
G100, G111, G113 [1 of 2], G117, G151, and G171
G100, G111, G113 (1 of 2), G117,G151, and G171
Master Electrical Component List
G113 [2 of 2]
G101