GM Service Manual Online
For 1990-2009 cars only

Top View of Instrument Panel and Approximate Deployment Area of the Airbag Zone


Object Number: 1679766  Size: C1
  1. Shift Selector Arc

  2. Driver's Side Door

  3. Front of Steering Wheel (In Maximum Downward Position)

  4. Driver's Airbag Deployment Zone

  5. Driver's Centerline (Also See Side View)

  6. Vehicle Centerline

  7. Inside Rearview Mirror

  8. Passenger's Centerline (Also See Side View)

  9. Passenger's Airbag Deployment Zone

  10. Approximate Maximum Dimension of Inflated Airbag

  11. Passenger's Side Door

  12. Rear Edge of Instrument Panel Top Pad

  13. Zone from Instrument Panel Top to Windshield

See Notices for Customer-Installed Equipment for more information.

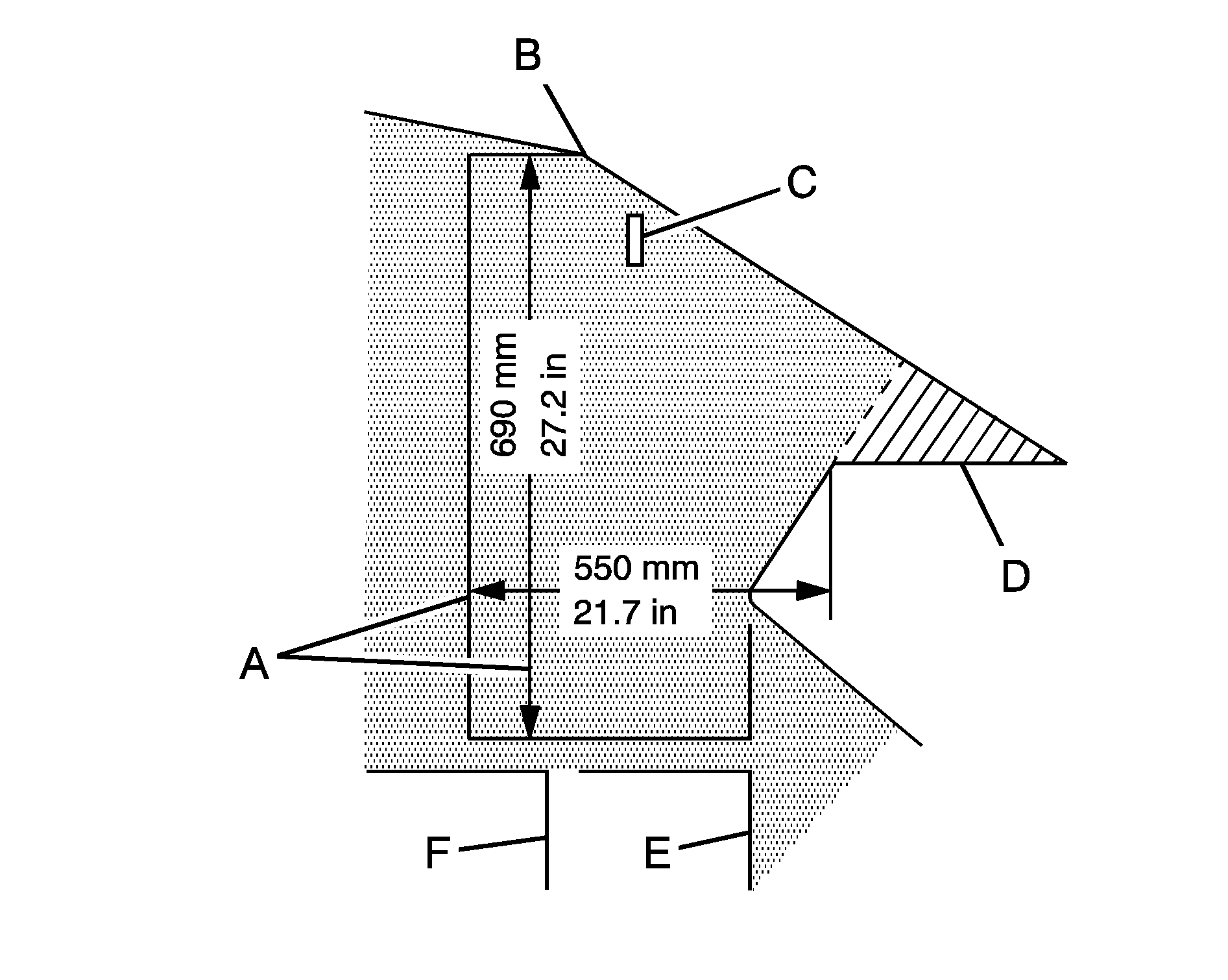
Side View of Driver's Side Airbag Deployment Zone - Centerline of Driver


Object Number: 1679769  Size: B4
  1. Driver's Airbag Deployment Zone

  2. Top of Windshield

  3. Front of Steering Wheel (Maximum Downward Position)

  4. Top of Instrument Panel

See Notices for Customer-Installed Equipment for more information.

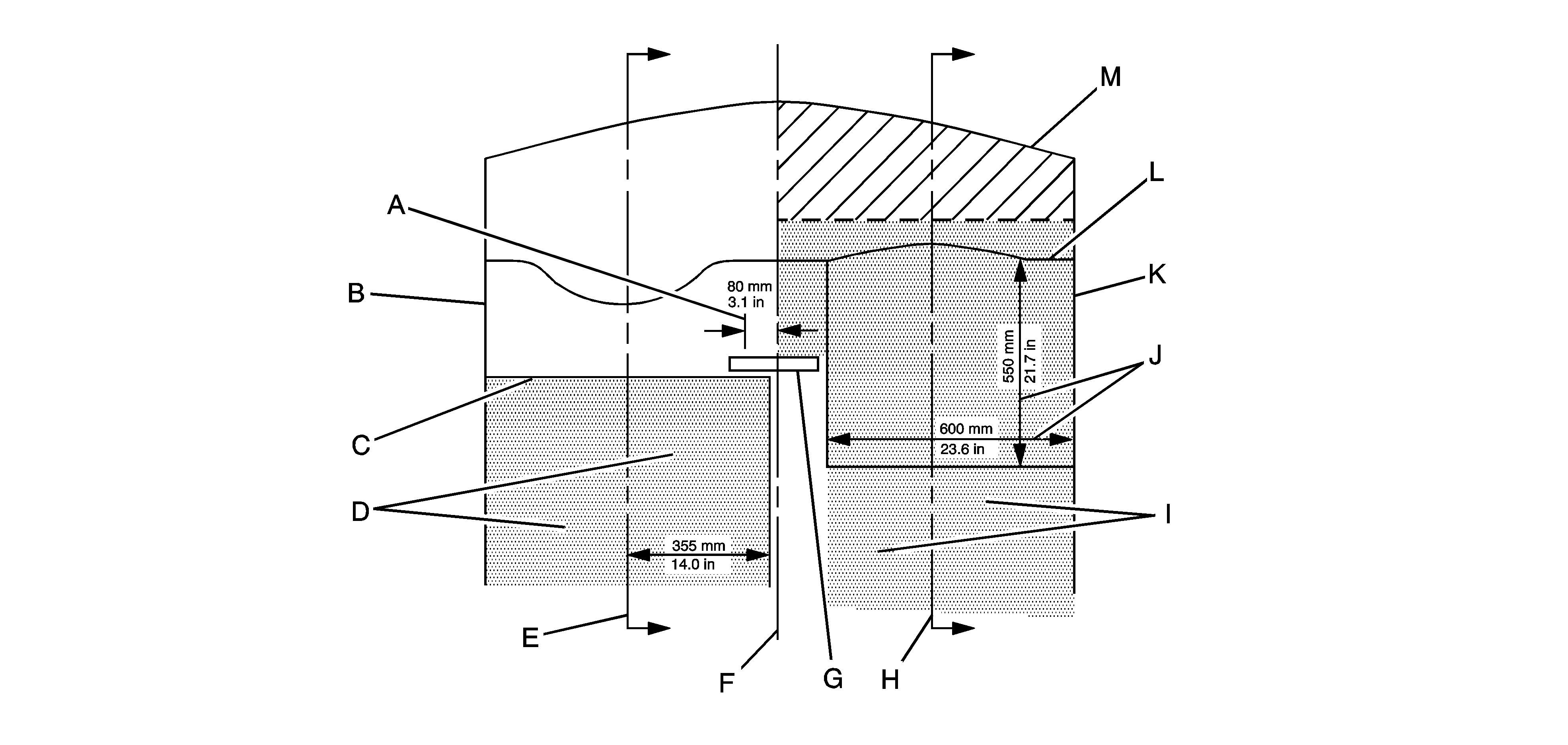
Side View of Passenger's Side Airbag Deployment Zone - Centerline of Passenger


Object Number: 1679771  Size: B4
  1. Passenger Airbag Deployment Zone

  2. Top of Windshield

  3. Inside Rearview Mirror

  4. Top of Instrument Panel

  5. Passenger Seat in Foremost Position

  6. Passenger Seat in Rearmost Position

See Notices for Customer-Installed Equipment for more information.

Roof Rail Airbag Deployment Zone - Driver's Side shown, Passenger's Side similar


Object Number: 1679888  Size: C1
  1. Top of Deployment Zone - Along Roof Rail at Edge of Headliner

  2. Airbag Inflator Location on Sail Panel

  3. Back of Deployment Zone - At Rear of Quarter Window

  4. Front of Deployment Zone - At Front of Outside Mirror Patch

  5. Forward Airbag Tether Line

  6. Approximate Shape of Deployed Airbag at Maximum Size

  7. Bottom of Deployment Zone

  8. Bottom of Door Windows

See Notices for Customer-Installed Equipment for more information.

Roof Rail Airbag Driver's and Passenger's Deployment Zones - View from Rear Seat


Object Number: 1679890  Size: C1
  1. Roof Rail Airbag Deployment Zone

  2. Edge of Headliner

  3. Inner Center Pillar Trim

  4. Inner Door Pad

  5. Underside of Headliner

  6. Bottom of Door Windows

  7. Seat Centerline

  8. Headrest

See Notices for Customer-Installed Equipment for more information.