GM Service Manual Online
For 1990-2009 cars only

    Important: If it is found that one or more of the active fuel management (AFM) lifters are not operating properly and needs replacing, replace all 6 AFM lifters and the lifter guide as an assembly.

  1. Clean all the valve lifters in cleaning solvent.
  2. Caution: Refer to Safety Glasses Caution in the Preface section.

  3. Dry all the valve lifters with compressed air.

  4. Object Number: 1792701  Size: SH
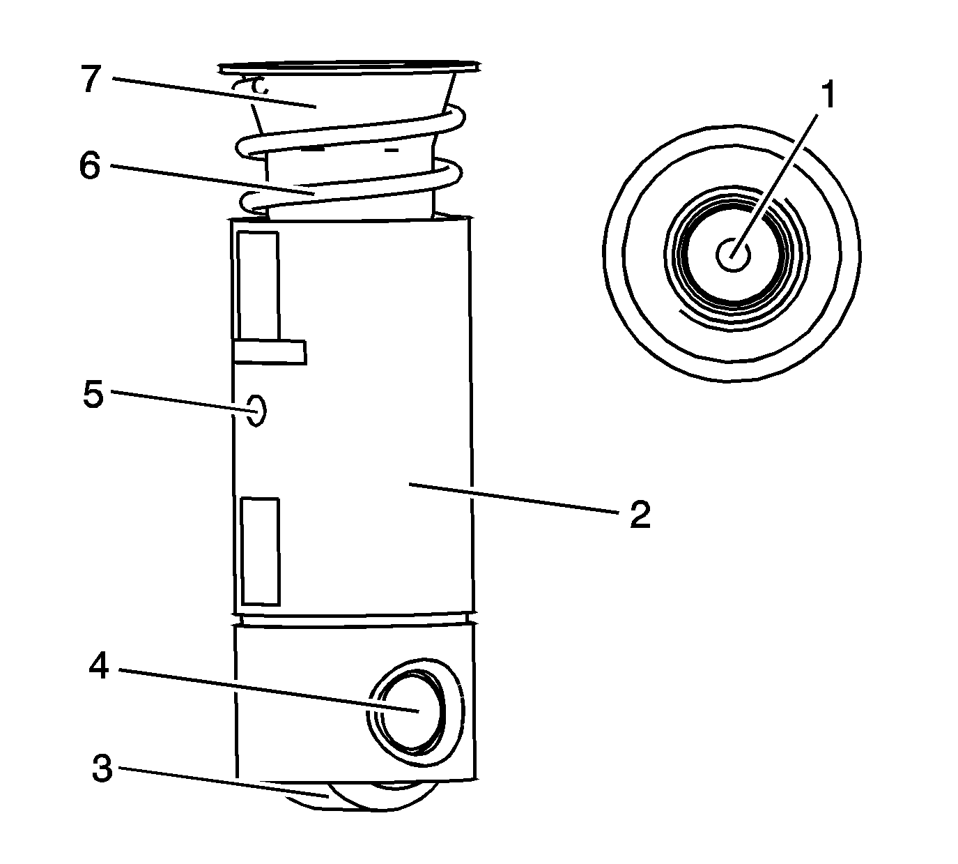
  5. Inspect the active fuel management (AFM) valve lifters for the following:
  6. • Worn push rod socket (1)
    • Scuffed or worn sides (2)
    • If the valve lifter shows wear, inspect the engine block lifter bores for wear or damage.
    • Flat spots on the roller (3)
    • Loose or damaged pin (4)
    • Plugged oil hole (5)
    • Broken or damaged spring (6)
    • Broken or damaged cup (7)
    • Worn or damaged roller bearing
    • The roller should rotate freely with no binding or roughness.

    Object Number: 1792642  Size: SH
  7. Inspect the AFM valve lifter guide for the following:
  8. • For cracks or damage
    • Excessive wear in the lifter mounting bores

    Object Number: 178485  Size: SH
  9. Inspect the non AFM valve lifters for the following:
  10. • Bent or broken clip (1)
    • Worn push rod socket (2)
    • Scuffed or worn sides (3)
    • If the valve lifter shows wear, inspect the engine block lifter bores for wear or damage.
    • Flat spots on the roller (4)
    • Loose or damaged pin (5)
    • Plugged oil hole (6)
    • Worn or damaged roller bearing
    • The roller should rotate freely with no binding or roughness.

    Object Number: 1682179  Size: SH
  11. Inspect the non AFM valve lifter guides for the following:
  12. • For cracks or damage
    • Excessive wear in the lifter mounting bores