GM Service Manual Online
For 1990-2009 cars only
Figure 1:

Forward Lamp Harness


Object Number: 1913217  Size: LF
(1)X120
(2)X141
(3)G101
(4)X122 (9C1,9C3 w/o 6J7)
(5)J124
(6)G101
(7)X142
Figure 2:

Battery Cables (Typical)


Object Number: 1913010  Size: LF
(1)Battery Cables
(2)G102
(3)X105
(4)Positive Voltage Stud
(5)G111
Figure 3:

Front of the Engine Compartment (LS4)


Object Number: 1913040  Size: LF
(1)J109
(2)X108
(3)X101
(4)X111
(5)G115
(6)G113
(7)J101
(8)X107
(9)J108
Figure 4:

Left Side of Engine (LS4)


Object Number: 1913028  Size: LF
(1)X116
(2)X100
(3)Fender - Left Front
Figure 5:

Front of the Engine Compartment - LZ8


Object Number: 1912967  Size: LF
(1)X102
(2)G115
(3)X101
(4)X111
(5)J105
(6)G113
(7)J101
(8)G111
Figure 6:

Instrument Panel Harness - Engine Compartment


Object Number: 1912949  Size: LF
(1)X123 (9C1, 9C3)
(2)X105
(3)Fusable Link (9C1, 9C3)
(4)Positive Battery Voltage Stud (Fuse Block)
(5)Positive Battery Voltage Stud (Fuse Block)
(6)Fusable Link (9C1, 9C3)
(7)X101
(8)X111
Figure 7:

Instrument Panel Harness - Instrument Panel


Object Number: 1912941  Size: LF
(1)JX205
(2)G202
(3)G201
(4)JX206
(5)JX207
(6)X201
(7)G200
(8)G204 (9C1, 9C3)
(9)X210
(10)X266 (9C1, 9C3)
(11)X267 (9C1, 9C3)
(12)X200
(13)X360 (9C1, 9C3)
(14)X362 (9C1, 9C3)
(15)X297 (9C1, 9C3)
(16)X203
Figure 8:

Instrument Panel Harness Splices


Object Number: 1912938  Size: LF
(1)J203
(2)J239
(3)J218
(4)J259
(5)J269
(6)J250
(7)J282
Figure 9:

HVAC Module Wiring


Object Number: 1568646  Size: LF
(1)X210
(2)HVAC Module
(3)HVAC Control Module - X2
Figure 10:

Lower Left Side of Instrument Panel


Object Number: 1715423  Size: LF
(1)Ignition Lock Cylinder Control Actuator
(2)Inflatable Restraint Steering Wheel Module Coil
(3)X201
(4)Body Control Module (BCM)
(5)BCM X1
(6)X250
(7)X277
Figure 11:

Seat Airbag Inlines


Object Number: 1715386  Size: LF
(1)Seat Belt Switch - Passenger
(2)Passenger
(3)X314
(4)Seat Belt Switch - Driver
(5)Inflatable Restraint Side Impact Module - Left
(6)X312
(7)Driver Seat
(8)Inflatable Restraint Side Impact Module - Right
Figure 12:

Body Harness - Left Front Passenger Compartment


Object Number: 1912936  Size: LF
(1)X250
(2)X301
(3)X203
(4)G301
(5)X340
(6)X311
(7)X355
Figure 13:

Body Harness - Right Front Passenger Compartment


Object Number: 1912934  Size: LF
(1)X302
(2)X360 (9C1, 9C3)
(3)G302
(4)X356
(5)X313
Figure 14:

Body Harness - Rear Compartment Area


Object Number: 1912859  Size: LF
(1)X409 (9C1, 9C3)
(2)Tail Lamp - RH
(3)X402
(4)X406
(5)Junction Block - Rear (6J1) Positive Voltage Stud
(6)Junction Block - Rear (6J1) Positive Voltage Stud
(7)G404
(8)X412
(9)G403
(10)X490
(11)X405
(12)J324
(13)X414
(14)X322 (9C1, 9C3) Taped to Harness
Figure 15:

Body Harness - Passenger Compartment Splices


Object Number: 1912903  Size: LF
(1)J350
(2)J375
(3)J314
(4)J315
(5)J359
(6)J332
(7)J303
(8)J308
(9)J307
Figure 16:

Rear Compartment Lid


Object Number: 1912848  Size: LF
(1)J902
(2)X430
(3)J901
Figure 17:

Sunroof and Headliner Harness


Object Number: 1568647  Size: LF
(1)G403
(2)Rear Shelf
(3)J393
(4)J390
(5)J364
(6)X398 (CF5)
(7)X490
Figure 18:

Driver Door Harnesses


Object Number: 1568621  Size: LF
(1)Door Frame
(2)J506
(3)J504
(4)J505
(5)X301
(6)X503
Figure 19:

Passenger Door Harnesses


Object Number: 1568619  Size: LF
(1)Door Frame
(2)X604
(3)X302
(4)J604
(5)J608
Figure 20:

Left Rear Door Harness


Object Number: 1568625  Size: LF
(1)Door Frame
(2)X355
(3)Window Motor - Left Rear Connector
Figure 21:

Right Rear Door Harness


Object Number: 1568629  Size: LF
(1)Door Frame
(2)X356
(3)Window Motor - Right Rear Connector
Figure 22:

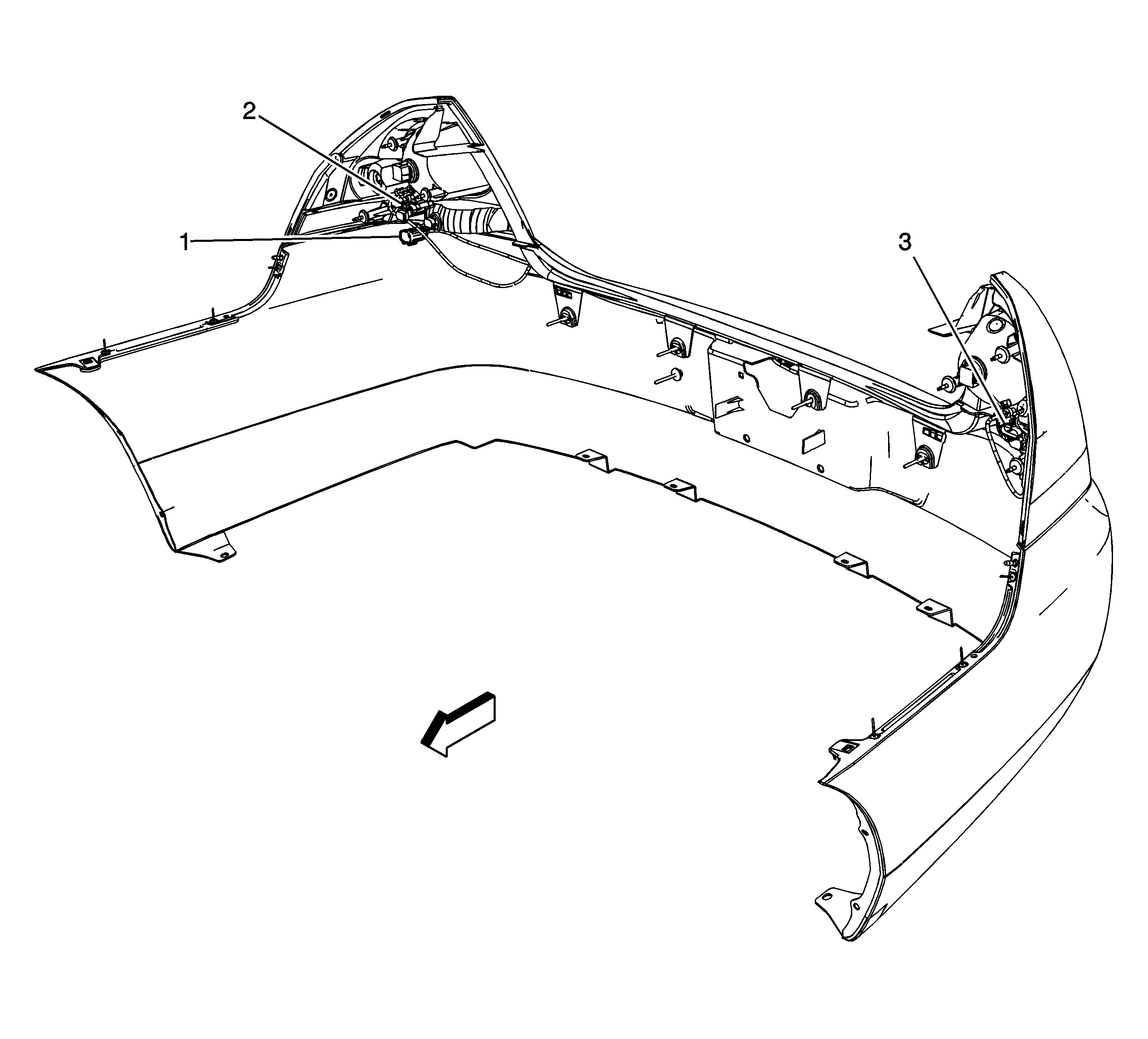
Rear Fascia


Object Number: 1912842  Size: LF
(1)X406
(2)X402
(3)X401