GM Service Manual Online
For 1990-2009 cars only

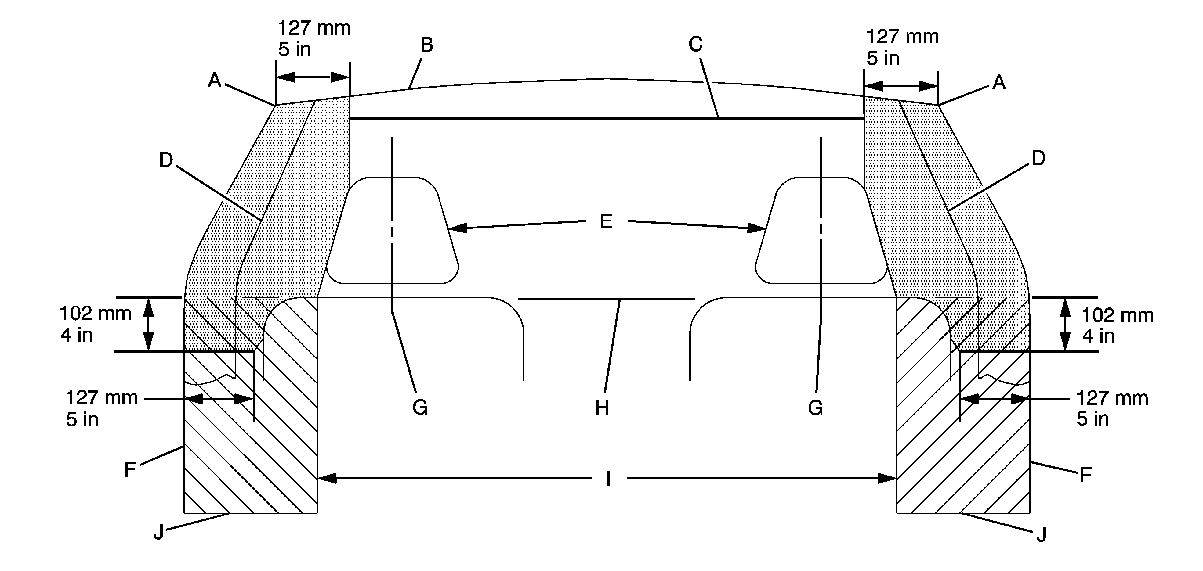
Top View of Instrument Panel and Approximate Deployment Area of the Airbag Zone


Object Number: 1679766  Size: C1
  1. Shift Selector Arc

  2. Driver Side Door

  3. Front of Steering Wheel (In Maximum Downward Position)

  4. Driver Airbag Deployment Zone

  5. Driver Centerline (Also See Side View)

  6. Vehicle Centerline

  7. Inside Rearview Mirror

  8. Passenger Centerline (Also See Side View)

  9. Passenger Airbag Deployment Zone

  10. Approximate Maximum Dimension of Inflated Airbag

  11. Passenger Side Door

  12. Rear Edge of Instrument Panel Top Pad

  13. Zone from Instrument Panel Top to Windshield

See Notices for Customer-Installed Equipmentfor more information.

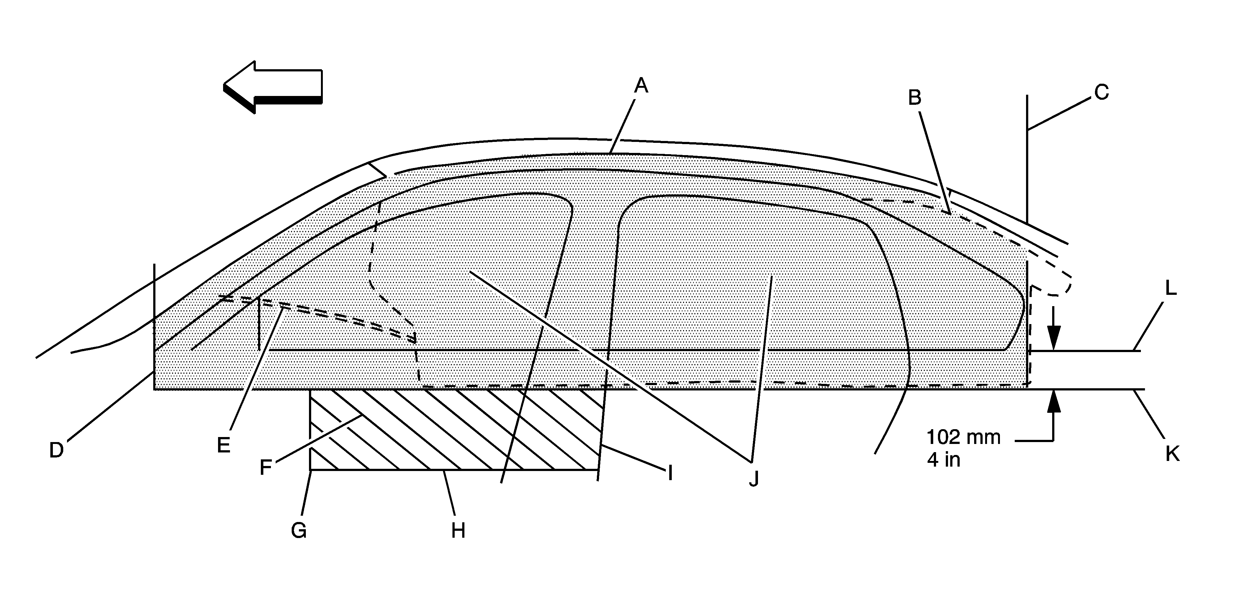
Side View of Driver Side Airbag Deployment Zone - Centerline of Driver


Object Number: 1679769  Size: B4
  1. Driver Airbag Deployment Zone

  2. Top of Windshield

  3. Front of Steering Wheel (Maximum Downward Position)

  4. Top of Instrument Panel

See Notices for Customer-Installed Equipmentfor more information.

Side View of Passenger Side Airbag Deployment Zone - Centerline of Passenger


Object Number: 1679771  Size: B4
  1. Passenger Airbag Deployment Zone

  2. Top of Windshield

  3. Inside Rearview Mirror

  4. Top of Instrument Panel

  5. Passenger Seat in Foremost Position

  6. Passenger Seat in Rearmost Position

See Notices for Customer-Installed Equipmentfor more information.

Roof Rail and Seat-mounted Side Impact Airbags Maximum Deployment Zone - Driver Side Shown, Passenger Side Similar


Object Number: 2071508  Size: C1
  1. Top of Deployment Zone - Along Roof Rail at Edge of Headliner

  2. Airbag Inflator Location on Sail Panel

  3. Back of Deployment Zone - At Rear of Quarter Window

  4. Front of Deployment Zone - At Front of Outside Mirror Patch

  5. Forward Airbag Tether Line

  6. Seat-mounted Side Impact Airbag Deployment Zone

  7. Door Handle Front End

  8. Groove in Front Door Armrest

  9. Pillar Trim

  10. Approximate Shape of Deployed Airbag at Maximum Size

  11. Bottom of Deployment Zone

  12. Bottom of Door Windows

See Notices for Customer-Installed Equipmentfor more information.

Roof Rail and Seat-mounted Side Impact Airbags Driver and Passenger Deployment Zones - View from Rear Seat


Object Number: 2071519  Size: C1
  1. Edge of Headliner

  2. Underside of Headliner

  3. Roof Rail Airbag Deployment Zone

  4. Inner Center Pillar Trim

  5. Headrest

  6. Inner Door Pad

  7. Seat Centerline

  8. Bottom of Door Windows

  9. Seat-mounted Side Impact Airbag Deployment Zone - Front Seat

  10. Groove in Front Door Armrest

See Notices for Customer-Installed Equipmentfor more information.