GM Service Manual Online
For 1990-2009 cars only

Tools Required

09916-77310 Piston Compressor


    Object Number: 1224560  Size: SH
  1. Install the crankshaft thrust bearing and upper main bearing, then install the crankshaft to the crankshaft journal.
  2. Coat the engine oil in the oil groove (2) and install the crankshaft thrust bearings to place the oil groove in the outer part of the journal portion (1).

  3. Object Number: 1224574  Size: SH

    Important: Coat engine oil to the inner surface of bearing, or journal surface of crankshaft - crank pin side when installing bearing.

  4. Install the upper crankshaft main bearings to the crankshaft journal with the bearing oil port (2) to direction of the oil filter (1). Install the lower crankshaft bearings identically when installing the bearing cap.
  5. Notice: Avoid installing the bearing caps incorrectly. Cylinder head and camshaft damage may result.

  6. Position the crankshaft on the engine block journal.

  7. Object Number: 1224577  Size: SH

    Important: On the bearing cap of the crankshaft journal part, numbers 1-4 are marked in sequence.

  8. Install the lower crankshaft main bearing to the crankshaft journal part (3).
  9. Notice: Refer to Fastener Notice in the Preface section.

  10. Install the bearing cap to the crankshaft journal part with the bolts (2) according to the sequence (1).
  11. Tighten
    Tighten the bearing cap bolts to 50-60 N·m (36-44 lb ft).


    Object Number: 1224578  Size: SH
  12. Install the oil seal housing gasket (2).
  13. Install the crankshaft rear oil seal housing after coating engine oil to the oil seal lip (3).
  14. Cut them with scraper, if the gasket edges are bulged.
  15. Install the bolts and screws (1).
  16. Tighten

        • Tighten the bolts to 9-12 N·m (80-106 lb in).
        • Tighten the screws to 9-12 N·m (80-106 lb in).

    Object Number: 1224580  Size: SH

    Important: Do not reuse the removed gasket. Replace it with a new one.

  17. In case of the crankshaft unit repair, install the oil pump gasket (1).
  18. Insert the hose in the crankshaft to prevent damage on the oil pump seal when installing the oil pump (4).
  19. Install the oil pump housing (3) with the bolts (2).
  20. Tighten
    Tighten the bolts to 9-12 N·m (80-106 lb in).

  21. Cut them with scraper, if the gasket edges are bulged.

  22. Object Number: 1224581  Size: SH

    Important: There are assembling directions for the piston and the connecting rod. Direct the piston front mark (3) on the piston head toward the crankshaft pulley and oil hole (4) on the connecting rod toward the exhaust manifold to assemble the piston and the connecting rod.

  23. Assemble the piston and the connecting rod.
  24. Install the piston pin (2).
  25. Retain the piston pin with the circlips (1).

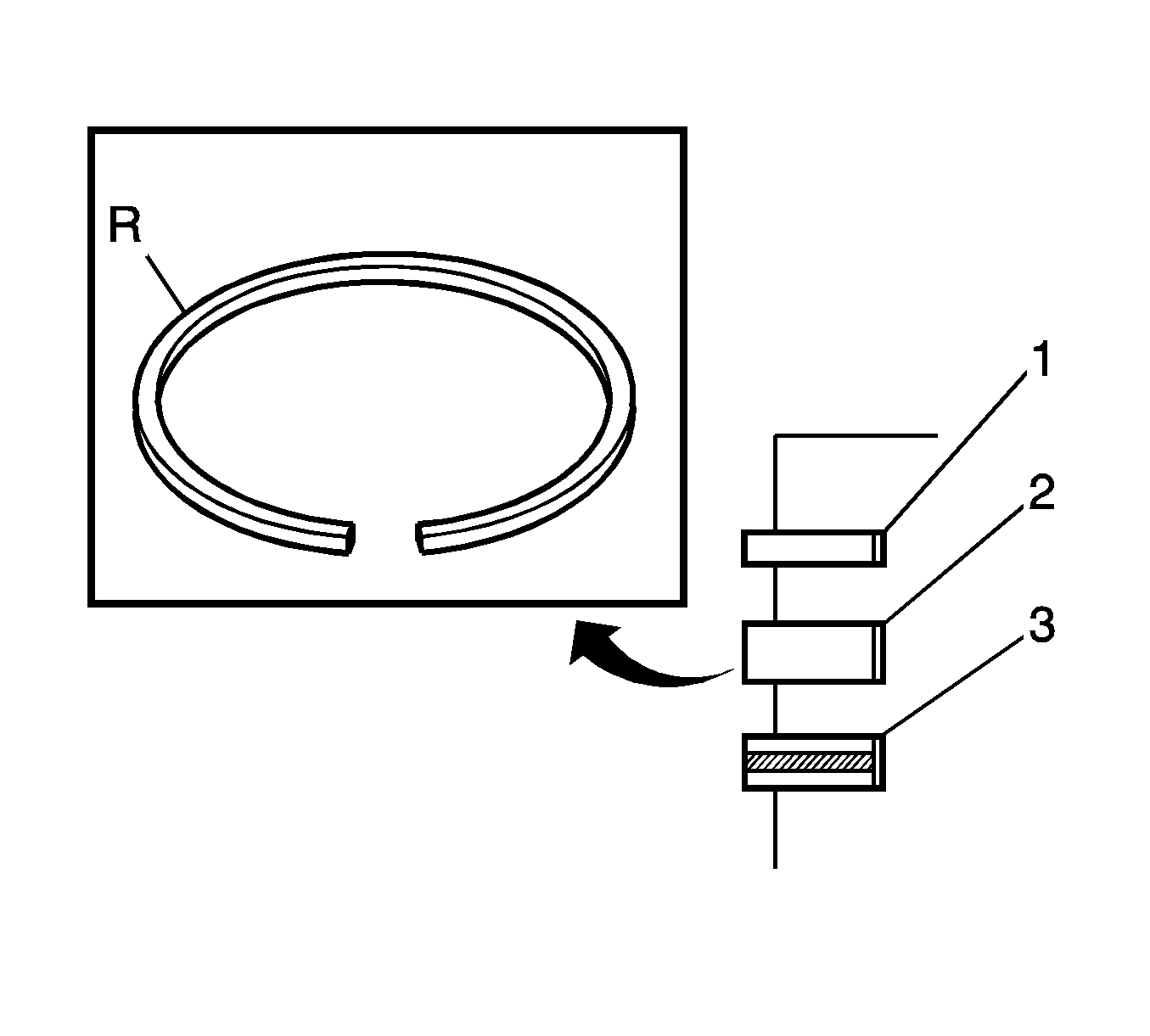
  26. Object Number: 1224582  Size: SH
  27. When installing the oil ring, insert the spacer first and 2 rails later (3).
  28. Install the second compression ring to direct the marked R side upward (2).
  29. Install the compression ring (1).

  30. Object Number: 1224583  Size: SH
  31. Install 3 rings and position their openings as shown.
  32. • Opening of compression ring No.1 (2).
    • Opening of compression ring No. 2 (6).
    • Opening of oil ring rail upper rail (1).
    • Opening of oil ring spacer (5).
    • Opening of oil ring rail lower rail (4).
    • Mark (7).
    • Piston head (3).

    Object Number: 1224585  Size: SH
  33. Coat the engine oil to piston, ring, cylinder wall and bearing crank pin of connecting rod.
  34. Position the piston into the cylinder to make the arrow point directly towards the crankshaft pulley (1).
  35. Confirm the hose inserted in connecting rod stud bolt to prevent the damage of the cylinder wall and the crankshaft bearing crank pin before installing the piston and connecting rod assembly.

  36. Object Number: 1224586  Size: SH
  37. Pucker the piston ring with 09916-77310 and insert the connecting rod and the piston to the cylinder properly. In this time, push 09916-77310 against the engine block and insert the piston lightly (1).
  38. Install the connecting rod according to the sequence.
  39. Install the upper connecting rod bearing to the connecting rod bearing journal.

  40. Object Number: 1224587  Size: SH
  41. Install the lower crankshaft main bearing to the crank pin part (3).
  42. Notice: Avoid installing the bearing caps incorrectly. Cylinder head and camshaft damage may result.

  43. Position the bearing cap on the crankshaft crank pin part to make the arrow point direct toward the crank pulley according to the sequence after positioning the piston on bottom dead center (BDC) (1).
  44. Tighten the bearing cap nuts (2).
  45. Tighten
    Tighten the bearing cap nuts to 31-35 N·m (23-25 lb ft).


    Object Number: 1224588  Size: SH
  46. Install the oil pump pickup tube (1) with the bolts (2).
  47. Tighten
    Tighten the oil pump pickup tube bolts to 9-12 N·m (80-106 lb in).

  48. Coat the liquefied gasket on the engine block.
  49. Install the oil pan with the bolts and the nuts (3).
  50. Tighten
    Tighten the nuts and bolts to 9-12 N·m (80-106 lb in).


    Object Number: 1222964  Size: SH
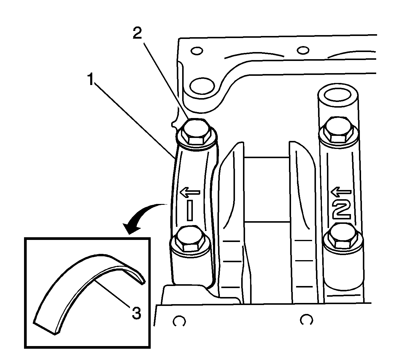
  51. Install the lower engine mount bracket (3) and the generator with the bolts (1).
  52. Tighten
    Tighten the bolts to 35-41 N·m (25-30 lb ft).

  53. Install the upper engine mount bracket and the generator shackle (2) with the bolts (1).
  54. Tighten
    Tighten the bolts to 35-41 N·m (25-30 lb ft).


    Object Number: 1222967  Size: SH
  55. Install the generator with the bolts and the nut (3).
  56. Tighten
    Tighten the generator lower bolts and the nut loosely to 18-25 N·m (13-21 lb ft).

  57. Install the generator belt and adjusting the bolts (2).
  58. Tighten
    Tighten the generator belt tension adjusting the bolts to 18-28 N·m (13-21 lb ft).

  59. Install the engine mount bracket (4).

  60. Object Number: 1222968  Size: SH
  61. Install the A/C compressor/power steering pump and the bracket with the bolts (1).
  62. Tighten

        • Tighten the bracket bolt to 18-22 N·m (13-16 lb ft).
        • Tighten the bracket bolts to 35-41 N·m (25-30 lb ft).
  63. Install the power steering pump bracket (2).

  64. Object Number: 1222970  Size: SH
  65. Install the power steering pump bracket bolt and nut (1) and the adjusting bolts (5).
  66. Tighten

        • Tighten the power steering rear bracket bolt to 18-22 N·m (13-16 lb ft).
        • Tighten the adjusting bolt and the power steering rear bracket nut to 20-24 N·m (15-18 lb ft).
  67. Position the A/C compressor into the normal location.
  68. Install and tighten the compressor bolts (4).
  69. Tighten

        • Tighten the bolts to 18-22 N·m (13-16 lb ft).
        • Tighten the bolt to 20-24 N·m (15-18 lb ft).
  70. Install the power steering/air conditioning belt.
  71. Install the cylinder head with the intake manifold, the exhaust manifold, and distributor/adaptor attached. Refer to Cylinder Head Replacement .
  72. Install the timing belt and components. Refer to Timing Belt Replacement .
  73. Install the clutch and the transaxle to the engine, then engine assembly to the engine compartment. Refer to Engine Replacement .
  74. Refill the engine crankcase with engine oil.
  75. Refill the engine coolant system. Refer to Cooling System Draining and Filling .
  76. Bleed the power steering system as necessary. Refer to Power Steering System Bleeding .
  77. Refill the A/C refrigerant system as necessary. Refer to Refrigerant Recovery and Recharging .
  78. Refill the transaxle oil as necessary.
  79. Connect the negative battery cable.
  80. Start the engine and operate all systems.
  81. Operate the idle air control valve reset procedure as necessary.