GM Service Manual Online
For 1990-2009 cars only
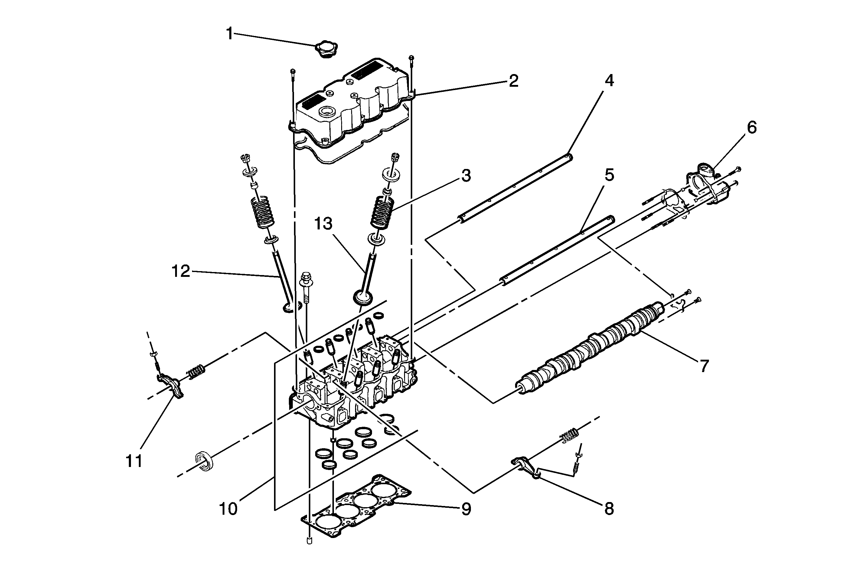
Figure 1:

Cylinder Head


Object Number: 1241297  Size: MF
(1)Oil Filter Cap
(2)Cylinder Head Cover
(3)Valve Spring
(4)Intake Rocker Arm Shaft
(5)Exhaust Rocker Arm Shaft
(6)Water Outlet Case
(7)Camshaft
(8)Rocker Arm
(9)Cylinder Head Gasket
(10)Cylinder Head
(11)Rocker Arm
(12)Intake Valve
(13)Exhaust Valve
Figure 2:

Engine Block


Object Number: 1241299  Size: MF
(1)Oil Level Gage Stick
(2)Piston
(3)Connecting Rod
(4)Engine Block
(5)Oil Filter
(6)Flywheel
(7)Crankshaft
(8)Oil Pan
(9)Oil Pump Strainer
(10)Oil Pump Assembly
Figure 3:

Manifold and Air Flow System


Object Number: 1241301  Size: MF
(1)Intake Manifold
(2)Exhaust Gas Recirculation (EGR) Pipe
(3)Exhaust Gas Recirculation (EGR) Valve
(4)Throttle Body Assembly
(5)Air Filter Assembly
(6)Resonator
(7)Snorkel
(8)Oxygen Sensor
(9)Exhaust Manifold
(10)Exhaust Manifold Heat Shield
Figure 4:

Timing Belt and Engine Mount


Object Number: 1241302  Size: MF
(1)Engine Mount Damping Block
(2)Engine Mount Intermediate Bracket
(3)Engine Mount Bracket
(4)Transaxle Mount Bracket
(5)Transaxle Mount Damping Block
(6)Engine Mount Front Bracket
(7)Engine Mount Front Damping Bush
(8)Timing Belt
(9)Timing Belt Tensioner
(10)Crankshaft Gear
(11)Timing Belt Upper Front Cover
(12)Timing Belt Lower Front Cover
(13)Crankshaft Pulley
(14)Engine Mount Lower Bracket
(15)Engine Mount Upper Bracket