|
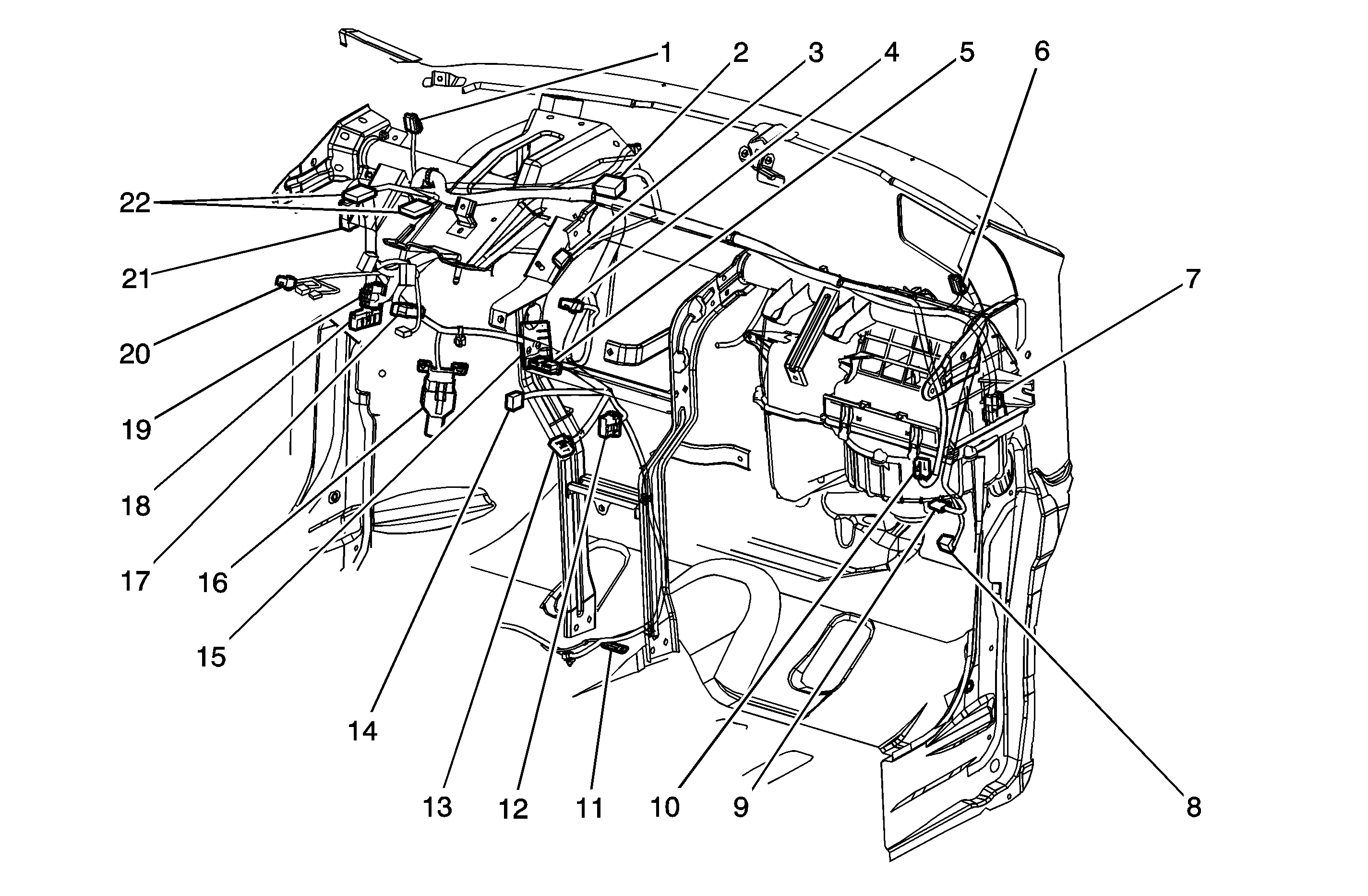
| (1) | Speaker - LF |
| (2) | Instrument Panel Cluster (IPC) |
| (3) | Clock Trip Odo Switch |
| (4) | Hazard Switch |
| (5) | Radio |
| (6) | Speaker - RF |
| (7) | C361 |
| (8) | CDL Relay |
| (9) | Blower Motor |
| (10) | Blower Motor Resistor |
| (11) | G202 |
| (12) | Defog Switch |
| (13) | Blower Switch |
| (14) | A/C Switch |
| (15) | C202 |
| (16) | Data Link Connector (DLC) |
| (17) | Remote Control Door Lock Reciever (RCDLR)/Theft Deterrent Control Module |
| (18) | C201 |
| (19) | Headlamp Leveling Switch |
| (20) | Outside Rearview Mirror Switch |
| (21) | C351 |
| (22) | Driver Information Center (DIC) |