GM Service Manual Online
For 1990-2009 cars only
  1. Start the engine.
  2. Push the pedal three times.

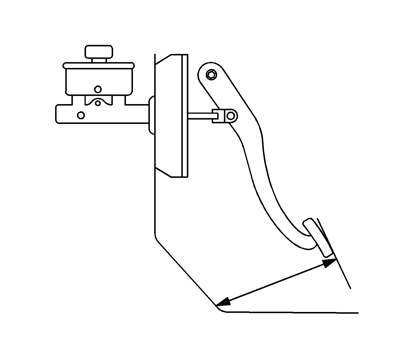
  3. Object Number: 1282312  Size: SH
  4. With the brake pedal pressed about 30 Kg (66.15 lb) load, measure the clearance between the pedal pad and the lower dash panel.
  5. If clearance is less than 60 mm (2.36 in), the most possible cause is either the rear drum brake shoes are worn out beyond the specification value or air is in the lines. If clearance still remains less than 60 mm (2.36 in) even after replacement of the brake shoes and bleeding of the brake system, other possible but infrequent cause is malfunction of rear drum brake shoe adjusters or booster push rod length out of adjustment.
  6. Automatic clearance adjuster check is performed after removing brake drums. If the fault is found, repair or replace it.