GM Service Manual Online
For 1990-2009 cars only

Fuel System Overview


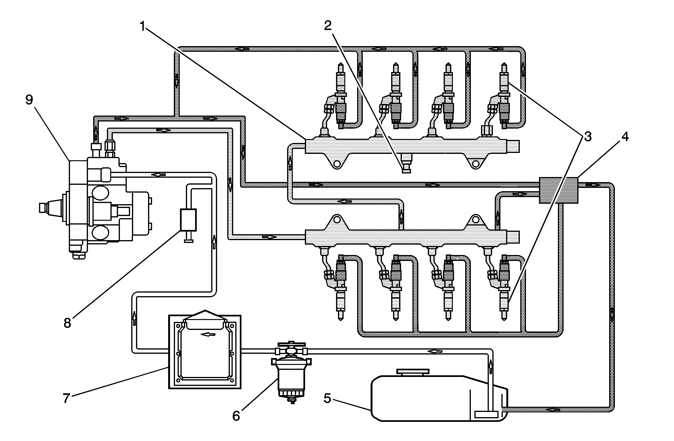
Object Number: 1409485  Size: MF
(1)Fuel Rail
(2)Fuel Pressure Sensor
(3)Fuel Injectors
(4)Fuel Return Junction Block
(5)Fuel Tank
(6)Fuel Filter
(7)Fuel Injection Control Module
(8)First Start Fuel Bleeder Valve
(9)Fuel Injection Pump

The fuel tank (5) stores the fuel supply. A mechanical fuel injection pump (10), located below the engine intake, draws fuel through the fuel injector control module (6) and the fuel filter (7). The fuel is used as a coolant for the fuel injector control module. The fuel pump output is controlled by the engine control module (ECM), and provides fuel at the pressure needed by the fuel injectors (3). The fuel injectors supply fuel directly to the combustion chambers of the engine. A separate pipe returns unused fuel through a fuel cooler (4) and to the fuel tank.

Fuel Tanks


Object Number: 738174  Size: SH

The fuel tanks store the fuel supply. The primary fuel tank (2) is located on the left side of the vehicle. On vehicles that are equipped with dual fuel tanks, the auxiliary fuel tank is located in the rear of the vehicle. The fuel tanks are each held in place by 2 metal straps that attach to the frame. The fuel tanks are molded from high density polyethylene.

Fuel Filler Cap


Object Number: 300314  Size: SH

The fuel filler cap has a torque-limiting device that prevents the cap from being overtightened. To install , turn the cap clockwise until you hear audible clicks. This indicates that the cap is fully seated.

Fuel Sender Assembly


Object Number: 740124  Size: SH

The fuel sender consists of the following major components:

    • The fuel level sensor (1)
    • The fuel strainer (2)

Object Number: 740125  Size: SH

The auxiliary fuel sender on vehicles equipped with dual fuel tanks consists of the following major components:

    • The fuel level sensor (1)
    • The fuel strainer (2)

Fuel Level Sensor

The fuel level sensor consists of a float, a wire float arm, and a ceramic resistor card. The position of the float arm indicates the fuel level. The fuel level sensor contains a variable resistor which changes resistance in correspondence with the amount of fuel in the fuel tank. The engine control module (ECM) sends the fuel level information via the Class 2 circuit to the instrument panel (I/P) cluster. This information is used for the I/P fuel gage and the low fuel warning indicator, if applicable. The ECM also monitors the fuel level input for various diagnostics.

Fuel Strainer

The fuel strainer attaches to the lower end of the fuel sender. The fuel strainer is made of woven plastic. The functions of the fuel strainer are to filter contaminants and to wick fuel. The fuel strainer is self-cleaning and normally requires no maintenance. Fuel stoppage at this point indicates that the fuel tank contains an abnormal amount of sediment.

Fuel Pump


Object Number: 19671  Size: SH

On vehicles equipped with dual fuel tanks, an electric fuel pump is located on the left frame rail. This fuel pump is powered by the fuel pump relay that is controlled by the engine control module (ECM). Fuel is transferred from the auxiliary fuel tank to the primary fuel tank in order to ensure all of the usable fuel volume is available to the fuel injection pump.

Fuel Injection Pump


Object Number: 660523  Size: SH

The fuel injection pump is a mechanical high pressure pump. The fuel injection pump is located below the intake manifold. Fuel is pumped to the fuel rails at a specified pressure. Fuel pressure is regulated by a valve on the inlet of the fuel pump, controlled by the engine control module (ECM). Excess fuel from the fuel injection pump returns to the fuel tank through the fuel return pipe and a fuel cooler.

Fuel Filter


Object Number: 752028  Size: SH

The fuel filter/heater housing (1) is mounted to the engine and integrates a fuel heater element. The fuel filter (2) houses a paper element that traps particles that may cause damage to the fuel system components. A water-in-fuel sensor (3) attaches to the bottom of the fuel filter.

Fuel Feed and Return Pipes

The fuel feed pipe carries fuel from the fuel tank to the fuel injector control module. The fuel return pipe carries fuel from the fuel rail assemblies back to the fuel tank. The fuel pipes consist of 2 sections:

    • The rear fuel pipe assemblies are located from the top of the fuel tank to the chassis fuel pipes. The rear fuel pipes are constructed of steel with sections of rubber hose covered with braiding.
    • The chassis fuel pipes are located under the vehicle and connect the rear fuel pipes to the fuel rail pipes. These pipes are constructed of steel with sections of rubber hose covered with braiding.

Quick-Connect Fittings

Quick-connect fittings provide a simplified means of installing and connecting fuel system components. The fittings consist of a unique female connector and a compatible male pipe end. O-rings, located inside the female connector, provide the fuel seal. Integral locking tabs inside the female connector hold the fittings together.

Fuel Pipe O-Rings

O-rings seal the connections in the fuel system. Fuel system O-ring seals are made of special material. Service the O-ring seals with the correct service part.

Fuel Rail Assemblies and Fuel Lines


Object Number: 1335608  Size: SH

The left and right fuel rail assemblies attach to the cylinder heads. The fuel rail assemblies distribute pressurized fuel through the fuel lines to the fuel injectors

The fuel rail assemblies consists of the following components:

    • The fuel rail pressure sensor in the right fuel rail
    • The fuel pressure relief valve in the left fuel rail

The fuel rail pressure sensor gives the engine control module (ECM) an indication of fuel pressure. The ECM uses this information to regulate fuel pressure, by commanding the fuel pressure regulator open or closed on the inlet of the fuel injection pump.

The fuel pressure relief valve opens only to prevent excessive pressure in the event of a malfunction. Fuel from the fuel pressure relief valve is returned to the fuel tank.

Fuel Injectors and Return Lines


Object Number: 1335625  Size: SH

Object Number: 1335588  Size: SH

A fuel injector is a solenoid device, controlled by the fuel injection control module (FICM), that meters pressurized fuel to a single engine cylinder. The engine control module (ECM) energizes the low-impedance injector solenoid to open a normally closed valve. Fuel pressure is released from above the fuel injector pintle, and is returned to the fuel tank through the fuel return lines. The difference in fuel pressure above and below the pintle causes the pintle to open. Fuel from the fuel injector tip is sprayed directly into the combustion chamber on the compression stroke of the engine.

Fuel System Cooler


Object Number: 737642  Size: SH

The fuel system cooler (1) is located in front of the primary fuel tank. The fuel system cooler cools the fuel before it is returned to the fuel tank.