GM Service Manual Online
For 1990-2009 cars only

Tools Required

J 26813-B Steering Linkage Puller

Removal Procedure


    Object Number: 1395880  Size: SH

    Important: Note the following conditions before beginning repairs to the tie rod assembly:

       • The amount of threads visible on the tie rod.
       • The position of the tie rod end clamps (6).
       • The direction from which the clamp bolts are installed.
       • The tie rod adjuster tube components may be rusted. Apply penetrating oil between the clamp and the tube. Rotate the clamps until the clamps move freely.
       • Ensure that these parts are reinstalled in the proper position.

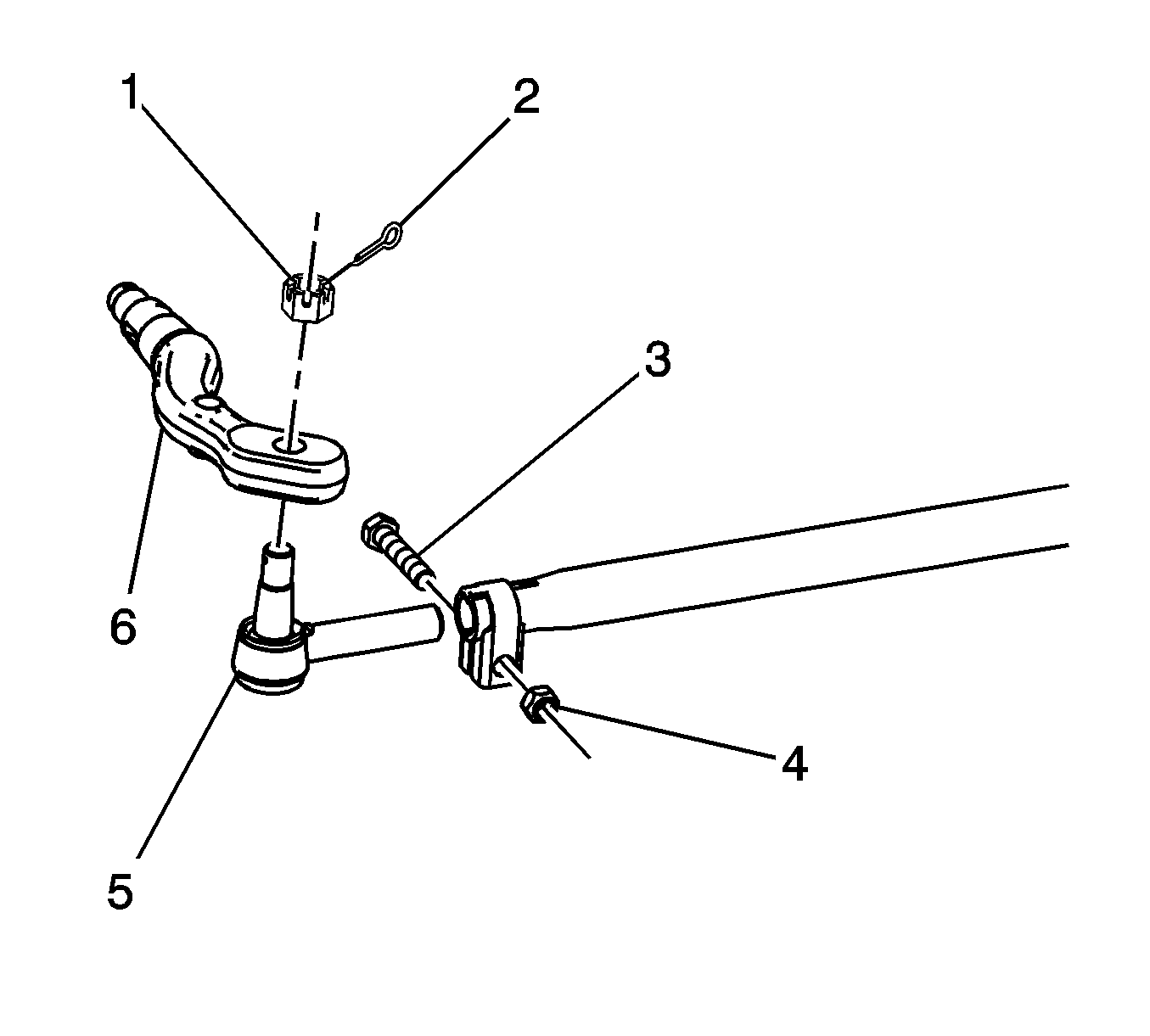
  1. Remove the cotter pin (2) from the tie rod end ball joint (7).
  2. Discard the cotter pin (2).
  3. Remove the nut (1) from the tie rod ball joint (7).

  4. Object Number: 216045  Size: SH
  5. Use the J 26813-B in order to remove the tie rod ball joint.

  6. Object Number: 1395880  Size: SH
  7. Loosen the tie rod tube clamp nut (5).
  8. Remove the tie rod assembly (7) from the tie rod tube (4).
  9. Inspect the following components for damage and corrosion:
  10. • The tie rod end (4) threads
    • The ball stud (7) threads
    • The ball stud nut (1) threads
  11. Inspect the ball stud taper for nicks and dirt.
  12. Important: If the tube (4) is bent less than 5 degrees, cold straighten the tube. If the tube is bent more than 5 degrees, replace the tube.

  13. Inspect the tie rod tube (4) for straitness.
  14. Clean the following compounds of dirt and rust:
  15. • The threads
    • The tapers

Installation Procedure


    Object Number: 1395880  Size: SH

    Important: Thread the tie rod assembly into the tie rod tube with the same amount of threads visible as noted prior to removal.

  1. Install the tie rod ball joint (7) into the tie rod tube (4).
  2. Install the tie rod ball joint (7) into the tie rod arm (8).
  3. Notice: Refer to Fastener Notice in the Preface section.

  4. Install the tie rod ball joint nut (1).
  5. Tighten
    Tighten the nut to 325 N·m (240 lb ft).

       - Advance the ball joint nut (1) to the nearest cotter pin slot.
       - Do not back a ball joint nut off in order to insert a cotter pin.
  6. Install the new cotter pin (2).
  7. Lubricate the tie rod ball with chassis lubricant. Refer to Fluid and Lubricant Recommendations .
  8. Adjust the toe-in. Refer to Front Toe Adjustment .
  9. Tighten the tie rod tube clamp bolt nuts (5).
  10. Tighten
    Tighten the tie rod tube clamp bolt nuts to 75 N·m (55 lb ft).