GM Service Manual Online
For 1990-2009 cars only

Allison 1000 and 2000 Series Six Speed Automatic Transmission Fluid Loss Out of Main Housing Rear Breather in Cold Ambient Conditions During Engine Start Up (Vent Transmission Fluid Fill Tube)

Subject:MBV, MBW, MBZ, MWZ, MB6 , MBV, MBW, MBX, MBY, MBZ, MHD, MHE, MHF, MPQ, MPR, MPS, MTR, MTS, MTX, MTY, MWT, MWU, MWY, MY6, MY8 Allison® 1000 and 2000 Series Six Speed Automatic Transmission Fluid Loss Out of Main Housing Rear Breather in Cold Ambient Conditions During Engine Start Up (Vent Transmission Fluid Fill Tube)

Models:2006-2007 Chevrolet Kodiak C4500/C5500 Series Models
2006-2007 GMC TopKick C4500/C5500 Series Models
with Allison® 1000 and 2000 Series Six Speed Automatic Transmission (RPOs MBV, MBW, MBZ, MWZ, MB6, MBV, MBW, MBX, MBY, MBZ, MHD, MHE, MHF, MPQ, MPR, MPS, MTR, MTS, MTX, MTY, MWT, MWU, MWY, MY6, MY8)



Condition

Some customers may comment on fluid loss from the transmission in cold ambient conditions at or below -15°C (5°F) during engine start up.

Correction

When diagnosing transmission fluid leaking out the breather on 1000 and 2000 series Allison® transmissions, first determine if the fluid level is proper and the dipstick markings are accurate. Refer to SI for further service diagnostics. If the condition persists, and the published diagnostics lead to venting the transmission fluid fill tube, remove the transmission fluid fill tube and dipstick using the following repair procedure to create a lower fluid fill tube vent hole and/or upper fluid fill tube vent hole.

Caution: If the transmission fluid level is too high due to overfill, aerated fluid may be forced out through the fill tube or cap vent. Do not locate the fill tube opening near hot objects such as the exhaust system where spewed fluid could create a hazard.

Important: Location of the fluid fill tube vent holes applies to short, medium, or long fluid fill tube lengths.


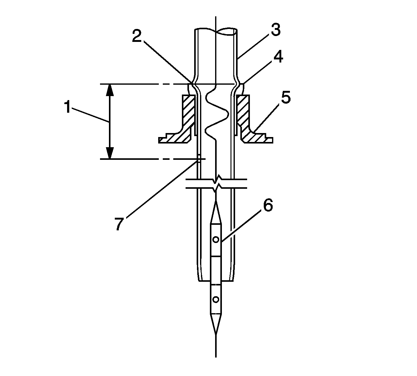
Object Number: 1974675  Size: SH

Lower Fluid Fill Tube Vent Hole

  1. 31.75 mm (1.25 in.)
  2. Measurement is from centerline of fill tube flange
  3. Fill tube
  4. Fill tube seal
  5. Transmission case
  6. Dipstick
  7. Lower fill tube vent hole 1.50-2.00 mm (0.06-0.08 in) diameter

Lower and Upper Fluid Fill Tube Vent Hole Locations

  1. The lower fluid fill tube (3) should be vented below the fill tube seal (4) and main transmission case (5). Some vehicle models listed in this bulletin may have already implemented this vent. Determine if the lower fluid fill tube vent hole is present (7).
  2. • Lower fluid fill tube vent is present. Create upper fluid fill tube vent. Refer to step 5.
    • Create lower fluid fill tube vent. Refer to step 2.
  3. Measure below the centerline of the fluid fill tube flange (2) 31.75 mm (1.25 in) diameter (1).
  4. With the dipstick (6) removed from the fill tube (3), drill a 1.5-2.0 mm (0.06-0.08 in) diameter vent hole through the fill tube sidewall (7).
  5. Remove any burrs that may damage the fluid fill tube seal (4) and affect the operation of the dipstick (6) inside of the fill tube (3).

  6. Object Number: 1974665  Size: SH
  7. The optimum location for this vent is just below the elastomer dipstick seal (1) and facing away from hot objects, such as exhaust (1).
  8. With the dipstick removed from the fill tube, drill a 1.5-2.0 mm (0.06-0.08 in) vent hole through the fill tube sidewall (1).
  9. Remove any burrs that may damage the elastomer dipstick seal (1) and affect the operation of the dipstick inside of the tube.
  10. Replace the fluid fill tube seal. Refer to Lower Fluid Fill Tube Vent Hole (4).
  11. Install the transmission fluid fill tube to the transmission. Refer to Transmission Fluid Filler Tube and Seal Replacement in SI.
  12. If leaking continues out of the main housing breather after checking dipstick calibration, verifying fluid level and venting the fluid fill tube indicates an internal pressure loss requiring further investigation. Refer to SI for further service diagnostics.

Parts Information

Part Number

Description

29536834

Seal, Fluid Fill Tube

Warranty Information

For vehicles repaired under warranty, use:

Labor Operation

Description

Labor Time

K9515*

Vent Upper And/Or Lower Fluid Fill Tube and Replace Seal

1.1 hrs

* This labor operation number is for bulletin use only. This number will not be published in the Labor Time Guide.