GM Service Manual Online
For 1990-2009 cars only
Makes
🢒
Chevrolet
🢒
2007
🢒
Kodiak C-Series (Conventional) C4/C5
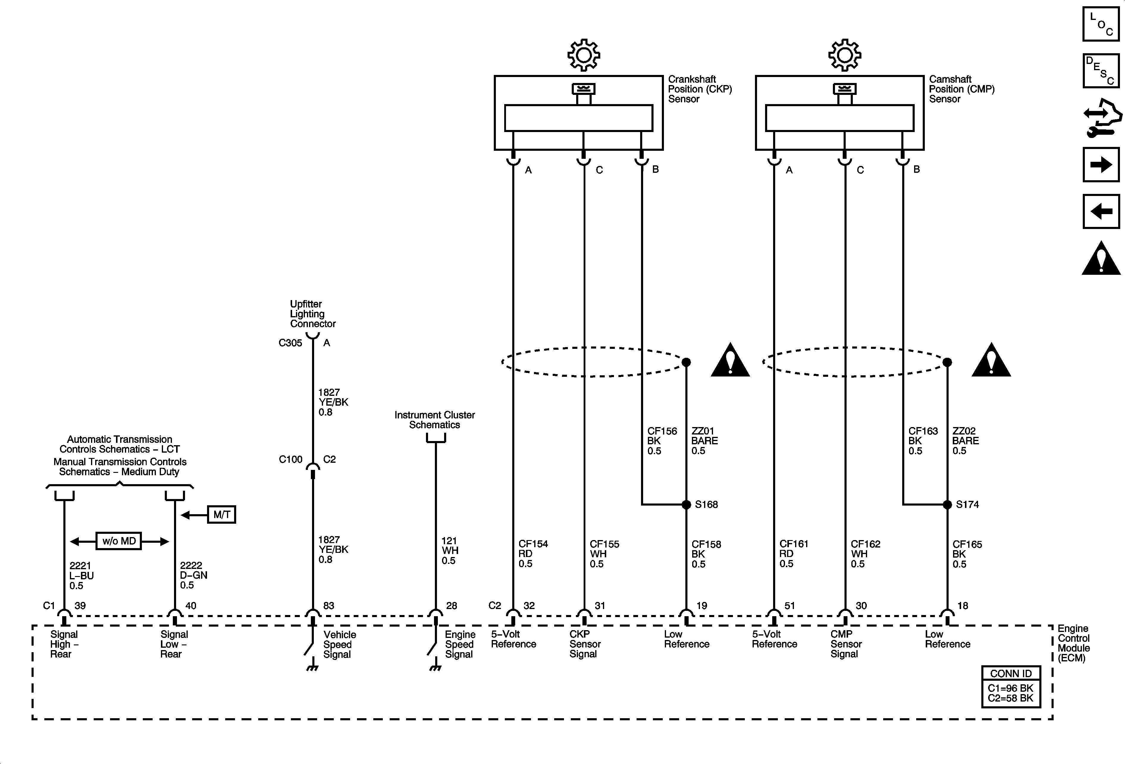
🢒 Engine Data Sensors - VSS and Injector Timing Controls
Engine Data Sensors - VSS and Injector Timing Controls
Engine Data Sensors - VSS and Injector Timing Controls
Master Electrical Component List
Engine Control Component Description
Control Module References
Engine Data Sensors - EGR Valve and Glow Plug Controls
Engine Data Sensors - APP Sensor and High Idle Switch - UF3
Engine Controls Schematic Icons
Engine Controls Schematic Icons
Engine Controls Schematic Icons
Module Power, Ground, Serial Data, MIL, VSS, and Torque Controls
2007 MD-560C Manual Transmission Schematics
Instrument Panel Cluster - 2 of 2