GM Service Manual Online
For 1990-2009 cars only

Radiator Outlet Hose Replacement L18, LG4

Tools Required

J 38185 Hose Pliers

Removal Procedure

  1. Drain the cooling system. Refer to Cooling System Draining and Filling .
  2. Remove the clamp at the radiator outlet using the J 38185 .
  3. Remove the radiator outlet hose clamp at the engine using the J 38185 .
  4. Remove the radiator outlet hose clamp at the surge tank using the J 38185 .

  5. Object Number: 771946  Size: SH
  6. Remove the radiator outlet hose (2) from the surge tank.
  7. Remove the radiator outlet hose retainers from the fan shroud.
  8. Remove the radiator outlet hose from the radiator.
  9. Remove the radiator outlet hose from the engine.

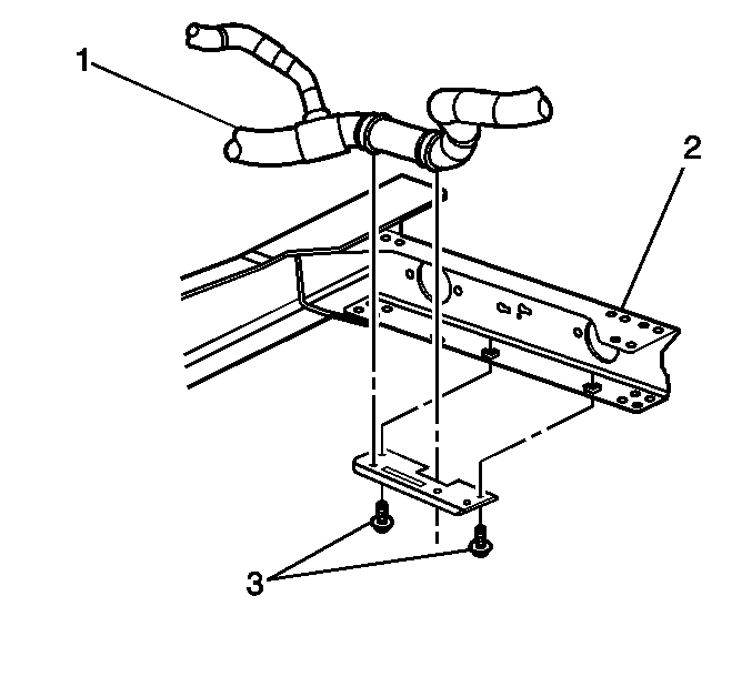
  10. Object Number: 769165  Size: SH
  11. Remove the radiator outlet hose retaining screws (3).
  12. Remove the radiator outlet hose from the retaining bracket.
  13. Remove the radiator outlet hose.

Installation Procedure

  1. Install the radiator outlet hose.
  2. Install the radiator outlet hose to the retaining bracket.

  3. Object Number: 769165  Size: SH

    Notice: Use the correct fastener in the correct location. Replacement fasteners must be the correct part number for that application. Fasteners requiring replacement or fasteners requiring the use of thread locking compound or sealant are identified in the service procedure. Do not use paints, lubricants, or corrosion inhibitors on fasteners or fastener joint surfaces unless specified. These coatings affect fastener torque and joint clamping force and may damage the fastener. Use the correct tightening sequence and specifications when installing fasteners in order to avoid damage to parts and systems.

  4. Install the radiator outlet hose retaining screws (3), if equipped.
  5. Tighten
    Tighten the screws to 9 N·m (80 lb in).

  6. Install the radiator outlet hose to the engine.
  7. Install the radiator outlet hose to the radiator.

  8. Object Number: 771946  Size: SH
  9. Install the radiator outlet hose (2) to the surge tank.
  10. Install the radiator outlet hose clamp to the surge tank using the J 38185 .
  11. Install the radiator outlet hose retainers to the fan shroud.
  12. Install the radiator outlet hose clamp to the engine using the J 38185 .
  13. Install the radiator outlet clamp to the radiator outlet using the J 38185 .
  14. Fill the cooling system. Refer to Cooling System Draining and Filling .

Radiator Outlet Hose Replacement LMM

Special Tools

J 38185 Hose Pliers

Removal Procedure

  1. Drain the cooling system. Refer to Cooling System Draining and Filling .
  2. Remove the clamp at the radiator outlet using the J 38185 .
  3. Remove the radiator outlet hose clamp at the engine.
  4. Remove the radiator outlet hose clamp at the surge tank.

  5. Object Number: 771946  Size: SH
  6. Remove the radiator outlet hose (2) from the surge tank.
  7. Remove the radiator outlet hose retainers from the fan shroud.
  8. Remove the radiator outlet hose from the radiator.
  9. Remove the radiator outlet hose from the engine.

  10. Object Number: 769165  Size: SH
  11. Remove the radiator outlet hose retaining screws (3).
  12. Remove the radiator outlet hose from the retaining bracket.
  13. Remove the outlet heater hose clamp at the radiator outlet hose using the J 38185 .
  14. Remove the outlet heater hose from the radiator outlet hose.
  15. Remove the radiator outlet hose.

Installation Procedure

  1. Install the radiator outlet hose.
  2. Install the outlet heater hose to the radiator outlet hose.
  3. Install the outlet heater hose clamp at the radiator outlet using the J 38185 .
  4. Install the radiator outlet hose to the retaining bracket.
  5. Notice: Refer to Fastener Notice in the Preface section.


    Object Number: 769165  Size: SH
  6. Install the radiator outlet hose retaining screws (3), if equipped.
  7. Tighten
    Tighten the screws to 9 N·m (80 lb in).

  8. Install the radiator outlet hose to the engine.
  9. Install the radiator outlet hose to the radiator.

  10. Object Number: 771946  Size: SH
  11. Install the radiator outlet hose (2) to the surge tank.
  12. Install the radiator outlet hose clamp to the surge tank.
  13. Install the radiator outlet hose retainers to the fan shroud.
  14. Install the radiator outlet hose clamp to the engine.
  15. Install the radiator outlet clamp to the radiator outlet using the J 38185 .
  16. Fill the cooling system. Refer to Cooling System Draining and Filling .

Radiator Outlet Hose Replacement LG5

Tools Required

J 38185 Hose Pliers

Removal Procedure

  1. Drain the cooling system. Refer to Cooling System Draining and Filling .
  2. Remove the clamp at the radiator outlet using the J 38185 .
  3. Remove the radiator outlet hose clamp at the engine using the J 38185 .
  4. Remove the radiator outlet hose from the radiator.
  5. Remove the radiator outlet hose from the engine.

Installation Procedure

  1. Install the radiator outlet hose.
  2. Install the radiator outlet hose to the engine.
  3. Install the radiator outlet hose to the radiator.
  4. Install the radiator outlet hose clamp to the engine using the J 38185 .
  5. Install the radiator outlet clamp to the radiator outlet using the J 38185 .
  6. Fill the cooling system. Refer to Cooling System Draining and Filling .