GM Service Manual Online
For 1990-2009 cars only

Caution: Refer to Brake Dust Caution in the Preface section.

When reline the brakes, lubricate the camshaft and check the camshaft for wear. The brake chamber/camshaft support bracket includes the following components:

    • Two bushings
    • Two camshaft seals
    • A lubrication fitting

The space between the bushings serves as the lubricant reservoir. Apply lubricant sparingly at the specified intervals. Refer to Fluid and Lubricant Recommendations .

Removal Procedure

  1. Remove the brake linings. Refer to Brake Shoe Replacement .

  2. Object Number: 201796  Size: SH
  3. Check the up-and-down and the side-to-side end play of the camshaft in order to determine if the camshaft bushings need replacement. Replace the camshaft bushings if the total movement is more than 0.76 mm (0.030 in).

  4. Object Number: 261832  Size: MH
  5. Remove the air brake automatic slack adjuster (4). Refer to Air Brake Automatic Slack Adjuster Replacement .

  6. Object Number: 201797  Size: SH
  7. Pull the camshaft out from the brake chamber/camshaft support bracket.
  8. Remove the camshaft.

  9. Object Number: 261834  Size: MH
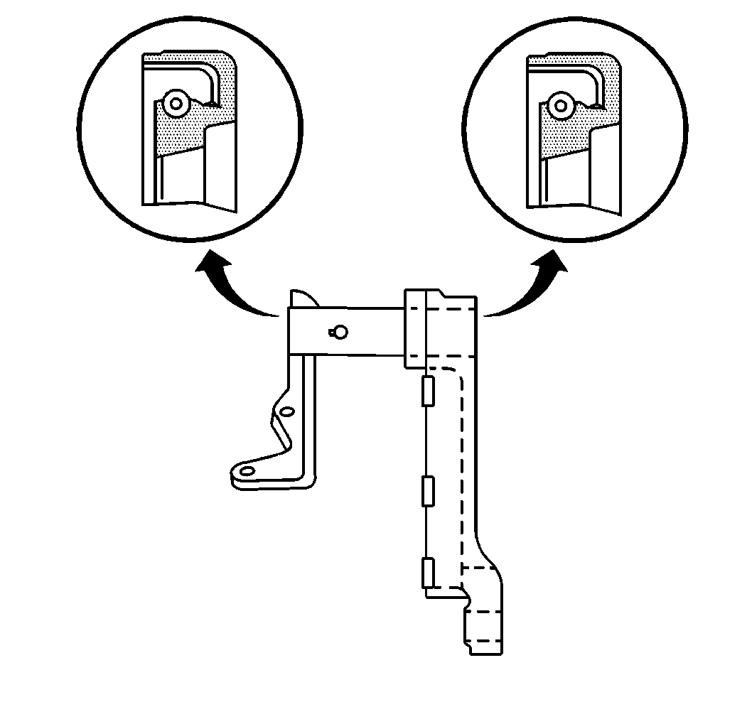
  10. Remove the camshaft seals (11).
  11. Remove the camshaft bushings if needed (10).
  12. Clean the old grease from the camshaft (12).

  13. Object Number: 261832  Size: MH
  14. Clean the old grease from the chamber/camshaft support bracket (8).

  15. Object Number: 261834  Size: MH
  16. Inspect the camshaft bearing surface areas for wear and corrosion.
  17. Replace the camshaft (12) if the camshaft bearing surfaces show signs of wear or roughness.

  18. Inspect the camshaft for wear or flat spots on the roller surfaces.
  19. Replace the camshaft (12) if any obvious wear or flat spots exist.

  20. Inspect the camshaft splines for damage or wear.
  21. Replace the camshaft (12) if the camshaft splines are damaged .

  22. Inspect the camshaft bushings (10) for deterioration.
  23. Replace the camshaft bushings (10) if needed.

Installation Procedure


    Object Number: 201800  Size: SH
  1. Install the camshaft bushings if needed.
  2. Drive the camshaft bushings in the brake chamber/camshaft support bracket with a seal driver.

  3. Object Number: 201802  Size: SH
  4. Install the new camshaft seals with the camshaft seal lips toward the air brake automatic slack adjuster.

  5. Object Number: 201797  Size: SH
  6. Apply a coat of grease to the camshaft bushings.
  7. Install the camshaft.
  8. Install the air brake automatic slack adjuster. Refer to Air Brake Automatic Slack Adjuster Replacement .
  9. Install the brake linings. Refer to Brake Shoe Replacement .