GM Service Manual Online
For 1990-2009 cars only

Fuel Tank Replacement Rear Mounted - 15 Gal

Removal Procedure


    Object Number: 1865322  Size: SH
  1. Drain the fuel tank. Refer to Fuel Tank Draining.
  2. Raise and suitably support the vehicle, if required. Refer to Lifting and Jacking the Vehicle.
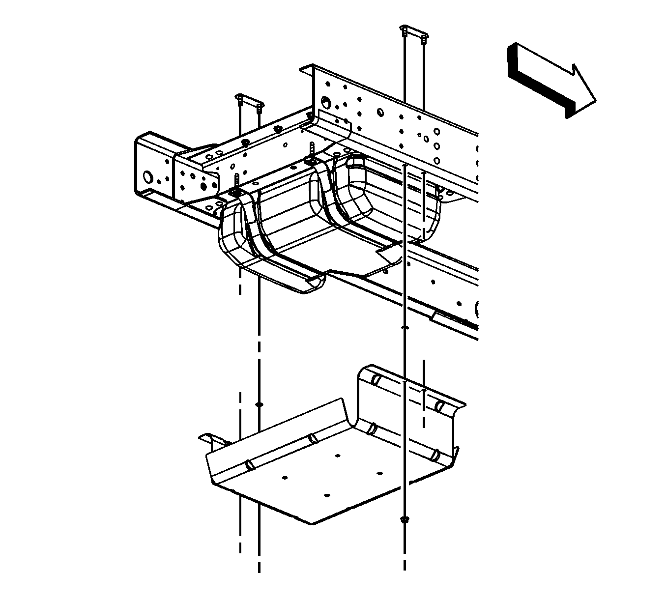
  3. Place a adjustable jack under the fuel tank shield.
  4. Remove the fuel tank shield nuts.
  5. Using the adjustable jack, lower and remove the fuel tank shield.
  6. Note: Clean all the fuel pipe/hose connections as well as the surrounding areas before disconnecting the fuel pipes/hoses.

  7. Disconnect the fuel tank vent hose at the fuel tank, as required.
  8. Disconnect the fuel tank fill pipe from the fuel tank, as required.

  9. Object Number: 1865323  Size: SH
  10. Place a adjustable jack under the fuel tank.
  11. Caution: Do not bend the fuel tank straps. Bending the fuel tank straps may damage the straps.

  12. Remove the fuel tank strap bolts and straps.

  13. Object Number: 1865324  Size: SH
  14. Lower the fuel tank enough to disconnect the fuel sender harness electrical connector (1) from the tank module. (Body shown removed for clarity).

  15. Object Number: 1865325  Size: SH
  16. Disconnect the chassis fuel feed and return line quick connect fittings from the fuel sender assembly. Refer to Metal Collar Quick Connect Fitting Service. (Body shown removed for clarity).
  17. Cap the fuel pipes on the vehicle in order to prevent possible fuel system contamination.
  18. With the aid of an assistant, completely lower and remove the fuel tank from the vehicle and place the tank in a suitable work area.
  19. Remove the fuel sender assembly, if required. Refer to Fuel Sender Assembly Replacement.

Installation Procedure


    Object Number: 1865325  Size: SH
  1. Install the fuel sender assembly, if required. Refer to Fuel Sender Assembly Replacement.
  2. With the aid of an assistant, place the tank on the adjustable jack and raise the fuel tank slightly.
  3. Remove the caps from the fuel pipes on the vehicle.
  4. Connect the chassis fuel feed and return line quick connect fittings to the fuel sender assembly. Refer to Metal Collar Quick Connect Fitting Service. (Body shown removed for clarity).

  5. Object Number: 1865324  Size: SH
  6. Connect the fuel sender harness electrical connector (1) to the tank module and completely raise the fuel tank into position. (Body shown removed for clarity).
  7. Caution: Refer to Fastener Caution in the Preface section.


    Object Number: 1865323  Size: SH
  8. Install the fuel tank straps and bolts.
  9. Tighten
    Tighten the bolts to 35 N·m (26 lb ft).

  10. Remove the adjustable jack from under the fuel tank.
  11. Connect the fuel tank fill pipe to the fuel tank, as required.
  12. Connect the fuel tank vent hose at the fuel tank, as required.

  13. Object Number: 1865322  Size: SH
  14. Place the fuel tank shield on the adjustable jack.
  15. Raise the fuel tank shield into position.
  16. Install the fuel tank shield nuts.
  17. Tighten
    Tighten the nuts to 85 N·m (63 lb ft).

  18. Remove the adjustable jack from under the fuel tank shield.
  19. Lower the vehicle.
  20. Start the engine and inspect for leaks.

Fuel Tank Replacement Rear Mounted

Removal Procedure


    Object Number: 1865368  Size: SH
  1. Drain the fuel tank. Refer to Fuel Tank Draining.
  2. Raise and suitably support the vehicle, if required. Refer to Lifting and Jacking the Vehicle.
  3. If equipped, place a adjustable jack under the fuel tank shield.
  4. If equipped, remove the fuel tank shield bolts.
  5. Using the adjustable jack, lower and remove the fuel tank shield.
  6. Note: Clean all the fuel pipe/hose connections as well as the surrounding areas before disconnecting the fuel pipes/hoses.

  7. Disconnect the fuel tank vent hose at the fuel tank, as required.
  8. Disconnect the fuel tank fill pipe from the fuel tank, as required.

  9. Object Number: 1865369  Size: SH
  10. Place a adjustable jack under the fuel tank.
  11. Caution: Do not bend the fuel tank straps. Bending the fuel tank straps may damage the straps.

  12. Remove the fuel tank strap bolts (1 and 3) and straps.
  13. Remove the fuel tank bolts (2).

  14. Object Number: 1865370  Size: SH
  15. Lower the fuel tank enough to disconnect the fuel sender harness electrical connector (1) from the tank module. (Body shown removed for clarity).
  16. Remove the fuel tank nut (2) and remove the ground wire (3) from the fuel tank.

  17. Object Number: 1865371  Size: SH
  18. Disconnect the chassis fuel feed and return line quick connect fittings from the fuel sender assembly. Refer to Metal Collar Quick Connect Fitting Service. (Body shown removed for clarity).
  19. Cap the fuel pipes on the vehicle in order to prevent possible fuel system contamination.
  20. With the aid of an assistant, completely lower and remove the fuel tank from the vehicle and place the tank in a suitable work area.
  21. Remove the fuel sender assembly, if required. Refer to Fuel Sender Assembly Replacement.

Installation Procedure


    Object Number: 1865371  Size: SH
  1. Install the fuel sender assembly, if required. Refer to Fuel Sender Assembly Replacement.
  2. With the aid of an assistant, place the tank on the adjustable jack and raise the fuel tank slightly.
  3. Remove the caps from the chassis fuel pipes.
  4. Connect the chassis fuel feed and return line quick connect fittings to the fuel sender assembly. Refer to Metal Collar Quick Connect Fitting Service. (Body shown removed for clarity).
  5. Caution: Refer to Fastener Caution in the Preface section.


    Object Number: 1865370  Size: SH
  6. Install the ground wire (3) onto the fuel tank and install the fuel tank nut (2).
  7. Tighten
    Tighten the nut to 9 N·m (80 lb in).

  8. Connect the fuel sender harness electrical connector (1) to the tank module and completely raise the fuel tank into position. (Body shown removed for clarity).

  9. Object Number: 1865369  Size: SH
  10. Install the fuel tank bolts (2).
  11. Tighten
    Tighten the bolts to 85 N·m (63 lb ft).

  12. Install the fuel tank straps and bolts (1 and 3).
  13. Tighten

        • Tighten the bolts (1) to 10 N·m (89 lb in).
        • Tighten the bolts (3) to 60 N·m (44 lb ft).
  14. Remove the adjustable jack from under the fuel tank.
  15. Connect the fuel tank fill pipe to the fuel tank, as required.
  16. Connect the fuel tank vent hose at the fuel tank, as required.

  17. Object Number: 1865368  Size: SH
  18. Place the fuel tank shield on the adjustable jack, if equipped.
  19. Raise the fuel tank shield into position, if equipped.
  20. Install the fuel tank shield bolts, if equipped.
  21. Tighten
    Tighten the bolts to 175 N·m (129 lb ft).

  22. Remove the adjustable jack from under the fuel tank shield.
  23. Lower the vehicle.
  24. Start the engine and inspect for leaks.

Fuel Tank Replacement Mid Mounted

Removal Procedure


    Object Number: 1865344  Size: SH
  1. Drain the fuel tank. Refer to Fuel Tank Draining.
  2. Raise and suitably support the vehicle, if required. Refer to Lifting and Jacking the Vehicle.
  3. Note: Clean all the fuel pipe/hose connections as well as the surrounding areas before disconnecting the fuel pipes/hoses.

  4. Disconnect the fuel tank vent hose at the fuel tank, as required.
  5. Disconnect the fuel tank fill pipe from the fuel tank, as required.
  6. Place a adjustable jack under the fuel tank.
  7. Caution: Do not bend the fuel tank straps. Bending the fuel tank straps may damage the straps.

  8. Remove the fuel tank strap bolts and straps.

  9. Object Number: 1865345  Size: SH
  10. Lower the fuel tank enough to disconnect the fuel sender harness electrical connector (1) from the tank module. (Body shown removed for clarity).

  11. Object Number: 1865346  Size: SH
  12. Disconnect the chassis fuel feed and return line quick connect fittings from the fuel sender assembly. Refer to Metal Collar Quick Connect Fitting Service.
  13. Cap the chassis fuel pipes on the vehicle in order to prevent possible fuel system contamination.
  14. If equipped with regular production option (RPO) NG6, disconnect the rear fuel feed and return pipes from the front tank. Refer to Metal Collar Quick Connect Fitting Service. (Body shown removed for clarity).
  15. Cap the chassis fuel pipes on the vehicle in order to prevent possible fuel system contamination.
  16. With the aid of an assistant, completely lower and remove the fuel tank from the vehicle and place the tank in a suitable work area.
  17. Remove the fuel sender assembly, if required. Refer to Fuel Sender Assembly Replacement.

Installation Procedure


    Object Number: 1865346  Size: SH
  1. Install the fuel sender assembly, if required. Refer to Fuel Sender Assembly Replacement.
  2. With the aid of an assistant, place the tank on the adjustable jack and raise the fuel tank slightly.
  3. Remove the caps from the chassis fuel pipes.
  4. If equipped with a dual fuel tanks, connect the rear fuel feed and return pipes to the front tank. Refer to Metal Collar Quick Connect Fitting Service. (Body shown removed for clarity).
  5. Remove the caps from the chassis fuel pipes.
  6. Connect the chassis fuel feed and return line quick connect fittings to the fuel sender assembly. Refer to Metal Collar Quick Connect Fitting Service.

  7. Object Number: 1865345  Size: SH
  8. Connect the fuel sender harness electrical connector (1) to the tank module and completely raise the fuel tank into position. (Body shown removed for clarity).
  9. Caution: Refer to Fastener Caution in the Preface section.


    Object Number: 1865344  Size: SH
  10. Install the fuel tank straps and bolts.
  11. Tighten
    Tighten the bolts to 35 N·m (26 lb ft).

  12. Remove the adjustable jack from under the fuel tank.
  13. Connect the fuel tank fill pipe to the fuel tank, as required.
  14. Connect the fuel tank vent hose at the fuel tank, as required.
  15. Lower the vehicle.
  16. Start the engine and inspect for leaks.

Fuel Tank Replacement Side Mounted

Removal Procedure


    Object Number: 1865514  Size: SH
  1. Drain the fuel tank. Refer to Fuel Tank Draining.
  2. Lower the vehicle, if required.
  3. Note: Clean all the fuel pipe/hose connections as well as the surrounding areas before disconnecting the fuel pipes/hoses.

  4. Disconnect the fuel feed and return line quick connect fittings from the fuel sender assembly. Refer to Metal Collar Quick Connect Fitting Service.
  5. Cap the fuel pipes on the vehicle in order to prevent possible fuel system contamination.
  6. Remove the fuel sender nut and remove the ground wire from the fuel tank.
  7. Disconnect the wiring harness electrical connector from the fuel sender assembly.

  8. Object Number: 1865516  Size: SH
  9. Remove the upper step bolts (1) and screws (2).

  10. Object Number: 1865517  Size: SH
  11. Remove the upper step from the fuel tank.
  12. Raise and support the vehicle. Refer to Lifting and Jacking the Vehicle.

  13. Object Number: 1865519  Size: SH
  14. Remove the fuel tank strap nuts (1).
  15. Lower the vehicle.

  16. Object Number: 1865520  Size: SH

    Caution: Do not bend the fuel tank straps. Bending the fuel tank straps may damage the straps.

  17. Remove the fuel tank straps.

  18. Object Number: 1865521  Size: SH
  19. With the aid of an assistant, remove the fuel tank from the lower step brackets.

Installation Procedure


    Object Number: 1865521  Size: SH
  1. With the aid of an assistant, set the fuel tank onto the lower step brackets.

  2. Object Number: 1865520  Size: SH
  3. Install the fuel tank straps.
  4. Raise and support the vehicle.
  5. Caution: Refer to Fastener Caution in the Preface section.


    Object Number: 1865519  Size: SH
  6. Install the fuel tank strap nuts (1).
  7. Tighten
    Tighten the nuts to 60 N·m (44 lb ft).

  8. Lower the vehicle.

  9. Object Number: 1865517  Size: SH
  10. Place the upper step onto the fuel tank.

  11. Object Number: 1865516  Size: SH
  12. Install the upper step bolts (1) and screws (2).
  13. Tighten

        • Tighten the bolts (1) to 39 N·m (29 lb ft).
        • Tighten the screws (2) to 25 N·m (18 lb ft).

    Object Number: 1865514  Size: SH
  14. Connect the wiring harness electrical connector to the fuel sender assembly.
  15. Install the ground wire onto the fuel tank and install the fuel sender nut.
  16. Tighten
    Tighten the nut to 9 N·m (80 lb in).

  17. Remove the caps from the fuel pipes.
  18. Connect the fuel feed and return line quick connect fittings to the fuel sender assembly. Refer to Metal Collar Quick Connect Fitting Service.
  19. Start the engine and inspect for leaks.