GM Service Manual Online
For 1990-2009 cars only

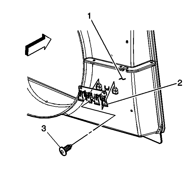
Removal Procedure


    Object Number: 771469  Size: SH
  1. Remove the relay retaining bracket (3) and screws (2), if equipped.

  2. Object Number: 771470  Size: SH
  3. Disconnect the coolant reservoir return hose from the fan shroud.
  4. Disconnect the wiring harness from the fan shroud.
  5. Remove the fan shroud bolts.
  6. Remove the fan shroud.

Installation Procedure


    Object Number: 771470  Size: SH
  1. Install the fan shroud.
  2. Caution: Refer to Fastener Caution in the Preface section.

  3. Install the fan shroud bolts.
  4. Tighten
    Tighten the bolts to 6 N·m (53 lb in).


    Object Number: 771469  Size: SH
  5. Install the relay retaining bracket (3) and screws (2), if equipped.
  6. Tighten
    Tighten the screws to 5 N·m (44 lb in).

  7. Install the coolant reservoir return hose to the fan shroud.
  8. Install the wiring harness to the fan shroud.