GM Service Manual Online
For 1990-2009 cars only

Removal Procedure


    Object Number: 199137  Size: MH
  1. Apply the parking brake.
  2. Block the wheels.
  3. Drain all of the air reservoirs. Refer to Air Brake Reservoir Draining.
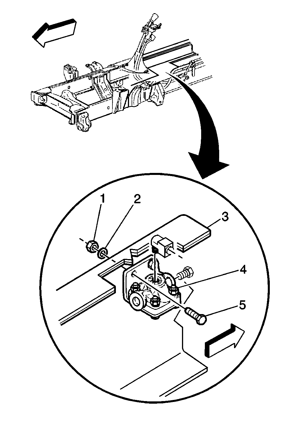
  4. Remove the air lines at the two-speed rear axle shift quick release valve. Refer to Air Brakes.
  5. Remove the following components from the two-speed rear axle shift quick release valve:
  6. • The nuts (1)
    • The washers (2)
    • The bolts (5)
  7. Remove the two-speed rear axle shift quick release valve (4) from the left side frame side rail (3).
  8. Inspect the air lines for the following conditions:
  9. • Damage
    • Kinks
    • Wear
  10. Repair or replace the air lines as needed. Refer to Hose and Line Replacement - Nylon Push-In Type Fitting.

Installation Procedure


    Object Number: 199137  Size: MH
  1. Install the two-speed rear axle shift quick release valve (4) onto the left side frame side rail (3).
  2. Caution: Refer to Fastener Caution in the Preface section.

  3. Install the following components to the two-speed rear axle shift quick release valve:
  4. • The bolts (5)
    • The washers (2)
    • The nuts (1)

    Tighten
    Tighten the nuts (1) to 22 N·m (16 lb ft).

  5. Install the air lines at the two-speed rear axle shift quick release valve (4). Refer to Hose and Line Replacement - Nylon Push-In Type Fitting.
  6. Start the engine. Charge the system to the air compressor governor cutout point.
  7. Stop the engine.
  8. Inspect for air leaks using a soap solution.
  9. Verify proper operation of the two speed rear axle.
  10. Remove the wheel blocks.