GM Service Manual Online
For 1990-2009 cars only

Special Tools

    • J 3453 Holding Bar
    • J 34925 Pinion Setting Gage and Components
    • J 41696 Pinion Seal Installer - Dana 80 Axle
    • J 44412 Pinion Bearing Installer
    • J 45692 Pinion Shim Selector Kit - Dana Axles
    • J 8001 Dial Indicator Set
    • J 8614-01 Flange and Pulley Holding Tool

Adjustment Procedure

Note: 

   • Ensure all of the tools, the differential side bearing bores, and the pinion bearing cups are clean before proceeding.
   • The drive pinion oil baffle must be installed in order to obtain the correct pinion position shim thickness.

  1. Install the drive pinion oil baffle, if necessary. Refer to Drive Pinion Bearings Replacement.
  2. Lubricate the pinion bearings with axle lubricant. Refer to Fluid and Lubricant Recommendations.

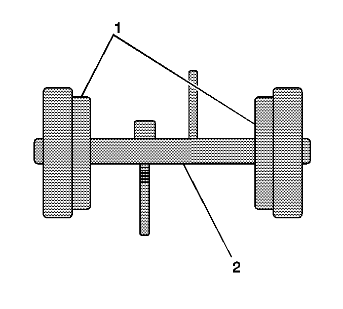
  3. Object Number: 815468  Size: SH
  4. Assemble the J 45692  (2) and the outer pinion bearing onto the J 21777-43  (1) as shown.

  5. Object Number: 815469  Size: SH
  6. Install the J 45692 , the outer pinion bearing, and the J 21777-43 into the axle housing.
  7. Install the inner pinion bearing into the axle housing.

  8. Object Number: 815471  Size: SH
  9. Install the J 45692 into the inner pinion bearing as shown.

  10. Object Number: 815463  Size: SH
  11. Install the J 45692-1 into the axle housing as shown.
  12. While holding the J 21777-43 stationary, tighten the nut on the J 21777-43 just until the end play between the pinion bearings is removed.
  13. Rotate the assembly several times in both directions in order to seat the pinion bearings.
  14. Caution: Refer to Fastener Caution in the Preface section.

  15. Measure the rotating torque of the assembly using an inch-pound torque wrench.
  16. Tighten
    The rotating torque of the assembly should be between 2.8-5.1 N·m (25-45 lb in).

  17. If the rotating torque of the assembly is less than 2.8 N·m (25 lb in), continue to tighten the nut of the J 21777-43 until a rotating torque of 2.8-5.1 N·m (25-45 lb in) is obtained.

  18. Object Number: 822110  Size: SH
  19. Assemble the J 45692  (1) and the J 21777-43  (2) as shown.

  20. Object Number: 822111  Size: SH
  21. Install the J 45692-2 (1) and the J 21777-1 (2) into the axle housing. Place the stem of the J 21777-1 onto the top step of the J 45692-1.
  22. Note: Corresponding letters are stamped on the bearing caps and axle housing. The bearing caps must be reassembled in the same position as removed.

  23. Install the bearing caps and bearing cap bolts.
  24. Rotate the J 21777-1 within the J 45692-2. The J 21777-1 must rotate back and forth freely with the discs. If the J 21777-1 does not rotate freely, disassemble the components, inspect for proper seating and/or mis-aligned components and re-assemble.
  25. Install the J 8001 to the J 21777-1 as follows:
  26. 16.1. Loosely clamp the J 8001 onto the stem on the J 21777-1.
    16.2. Place the contact pad of the J 8001 onto the mounting post of the J 21777-1.
    16.3. With the contact pad of the J 8001 touching the mounting post of the J 21777-1, loosen the lock nut on the J 8001 and push down on the J 8001 until the needle the J 8001 has turned 3/4 of a turn clockwise.
    16.4. Tighten the clamp on the J 8001 finger tight.

    Object Number: 822112  Size: SH
  27. Move the plunger of the J 21777-1 (1) back and forth on the bottom step of the J 45692-1 (2) until the needle of the J 8001 indicates the greatest deflection.
  28. The deflection is the point where the needle changes direction.

  29. At the greatest point of deflection, move the indicator housing of the J 8001 until the needle indicates ZERO.
  30. Move the plunger of the J 21777-1 back and forth again to verify the ZERO setting. Adjust the housing of the J 8001 as necessary to set the needle to ZERO.

  31. Object Number: 822126  Size: SH
  32. Rotate the plunger of the J 21777-1 (1) away from the J 45692-1 (2).
  33. The value indicated is the amount of pinion shim thickness required for a nominal pinion setting.

  34. In order to adjust the pinion shim thickness for the drive pinion that is to be installed, do the following:
  35. 21.1. Read the number on the button end of the pinion.

    If the number on the button end of the pinion is "0", no adjustment of the pinion preload shim pack is necessary.

    21.2. If the number is not "0", the number will also have a corresponding "+" or "-" in front of it.

    The "+" or "-" indicates the amount of pinion preload shim thickness that either needs to be added to or subtracted from the amount determined in step 19 in order to the drive pinion gear to be positioned properly within the axle housing.

       • For example, if the number on the button end of the pinion is a "+3", this indicates that 0.0762 mm (0.003 in) of shim thickness will need to be subtracted from the value determined in step 19 in order to place the teeth of the pinion in the best running position with the teeth of the ring gear. Refer to the table below.
       • If the number on the button end of the pinion is a "-3", this indicates that 0.0762 mm (0.003 in) of shim thickness will need to be added to the value determined in step 20 in order to place the teeth of the pinion in the best running position with the teeth of the ring gear. Refer to the table below.
  36. Remove the pinion depth setting tools.
  37. Remove the pinion bearings.
  38. Install the pinion position shim onto the drive pinion.
  39. Measure the thickness of the shim with a micrometer in order to verify the thickness.


    Object Number: 651742  Size: SH
  40. Install the inner pinion bearing onto the drive pinion using the J 44412 .
  41. Install the original pinion preload shims onto the drive pinion. If the original shims are not available, assemble 1.52 mm (0.060 in) of pinion preload shims to install.
  42. Measure each shim separately with a micrometer and add the thickness together to determine the total shim pack size.

  43. Install the drive pinion with the inner pinion bearing and the pinion preload shims into the axle housing.
  44. Install the outer pinion bearing.
  45. Install the thrust washer.
  46. Install the pinion yoke.
  47. Seat the pinion yoke onto the pinion shaft by tapping it with a soft-faced hammer until a few pinion shaft threads show through the yoke.

  48. Install the pinion yoke nut washer.
  49. Install the pinion yoke nut.
  50. Install the J 3453 .
  51. Tighten the pinion yoke nut.
  52. Tighten
    Tighten the pinion yoke nut to 339 N·m (250 lb ft).

  53. Measure the rotating torque of the drive pinion using an inch-pound torque wrench.
  54. Specification
    The rotating torque of the drive pinion should be between 2.8-5.1 N·m (25-45 lb in).

  55. If the rotating torque of the drive pinion is not within specifications, adjust the pinion preload shim thickness by doing the following:
  56. 36.1. Install the J 3453 onto the pinion yoke.
    36.2. Remove the pinion nut while holding the J 3453 .
    36.3. Remove the washer.
    36.4. Install the J 8614-01 to the pinion yoke.

    Object Number: 661074  Size: SH
    36.5. Install the J 8614-2 (2) and the J 8614-3 (3) into the J 8614-01  (1) as shown.
    36.6. Remove the pinion yoke by turning the J 8614-3 (3) clockwise while holding the J 8614-01  (1).
    36.7. Remove the thrust washer.
    36.8. Remove the drive pinion.
    36.9. Remove the outer pinion bearing.
    36.10. Remove the pinion preload shims.
    36.11. Adjust the amount of pinion preload shim thickness by doing the following:

                       Note: Removing approximately 0.0254 mm (0.001 in) of shim thickness will increase the rotating torque by approximately 71-89 N·m (8-10 lb in).

       • If the rotating torque is too low, remove the appropriate amount of shim thickness from the shim thickness pack using the guideline above.
       • Measure each shim separately with a micrometer and add the thickness together to determine the total shim pack size.

                       Note: Adding approximately 0.0254 mm (0.001 in) of shim thickness will decrease the rotating torque by approximately 71-89 N·m (8-10 lb in).

       • If the rotating torque is too high, add the appropriate amount of shim thickness to the shim thickness pack using the guideline above.
       • Measure each shim separately with a micrometer and add the thickness together to determine the total shim pack size.
  57. Install the new pinion preload shim pack onto the drive pinion.
  58. Install the drive pinion with the inner pinion bearing and the pinion preload shims into the axle housing.
  59. Install the outer pinion bearing.
  60. Install the thrust washer.
  61. Install the pinion yoke.
  62. Seat the pinion yoke onto the pinion shaft by tapping it with a soft-faced hammer until a few pinion shaft threads show through the yoke.

  63. Install the pinion yoke nut washer.
  64. Install the pinion yoke nut.
  65. Install the J 3453 .
  66. Tighten the pinion yoke nut.
  67. Tighten
    Tighten the pinion yoke nut to 339 N·m (250 lb ft).

  68. Measure the rotating torque of the drive pinion using an inch-pound torque wrench.
  69. Specification
    The rotating torque of the drive pinion should be between 2.8-5.1 N·m (25-45 lb in).

  70. If the rotating torque of the drive pinion is not within specification, adjust the pinion bearing preload shim pack as necessary following the steps above.
  71. If the rotating torque is within specifications, install the J 3453 to the pinion yoke.
  72. Remove the pinion nut while holding the J 3453 .
  73. Remove the washer.
  74. Install the J 8614-01 onto the pinion yoke.

  75. Object Number: 661074  Size: SH
  76. Install the J 8614-2 (2) and the J 8614-3 (3) into the J 8614-01  (1) as shown.
  77. Remove the pinion yoke by turning the J 8614-3 (3) clockwise while holding the J 8614-01 (1).
  78. Apply a light coat of axle lubricant, GM P/N 12378557 or equivalent meeting GM Specification 9986207, to lip of the pinion seal.

  79. Object Number: 651744  Size: SH
  80. Install the new pinion oil seal using the J 41696 .
  81. Install the pinion yoke.
  82. Seat the pinion yoke onto the pinion shaft by tapping it with a soft-faced hammer until a few pinion shaft threads show through the yoke.

  83. Install the pinion yoke nut washer.
  84. Install the new pinion yoke nut.
  85. Tighten
    Tighten the pinion yoke nut to 637 N·m (470 lb ft).

  86. Measure the rotating torque of the drive pinion using an inch-pound torque wrench.
  87. Specification
    The rotating torque of the drive pinion should be between 2.8-5.1 N·m (25-45 lb in).

Pinion Marking Table

Pinion Marking

Increase/Decrease the Distance Between Ring Gear Marking And Pinion Head

Increase/Decrease the Shim Pack Thickness

Positive (+)

Must Increase

Decrease

Negative (-)

Must Decrease

Increase

Zero (0)

OK

Use Nominal Setting