GM Service Manual Online
For 1990-2009 cars only

    Caution: Refer to Safety Glasses Caution in the Preface section.


    Object Number: 375107  Size: SH

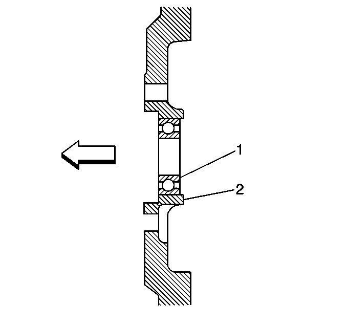
    Important: Install the bearing from the crankshaft side of the engine flywheel.

  1. Install the NEW clutch pilot bearing (1) flush with the surface of the crankshaft flange bore (2).
  2. Ensure that proper installation is obtained.