GM Service Manual Online
For 1990-2009 cars only

Removal Procedure

  1. Turn the crankshaft to position the Number 1 cylinder at top dead center.
  2. Remove the engine cover. Refer to Engine Cover Replacement .
  3. Remove the oil filter adapter. Refer to Oil Filter Adapter Replacement .

  4. Object Number: 1401134  Size: SH
  5. Disconnect the electrical connector at the fuel temperature sensor (3).
  6. Disconnect the electrical connector at the suction control valve (7).
  7. Remove the fuel suction pipe (1) from the fuel supply pump (5).
  8. Remove the fuel filter leak off pipe (2) from the supply pump (5), common rail and the return pipe.
  9. Remove the fuel common rail pipe (6) from the supply pump (5) and the common rail.
  10. Remove the fuel pipe clamp fasteners from the fuel pipe clamps and position the fuel suction pipe (1) and the fuel feed pipe out of the way.

  11. Object Number: 1402407  Size: SH
  12. Remove the bracket nuts (9) and bolts (5, 10).
  13. Remove the fuel supply pump (1) with the bracket (2) from the engine.
  14. If required, remove the gear nut (4), the gear (3) and the key from the fuel supply pump shaft.

  15. Object Number: 1369961  Size: SH
  16. If required, remove the bracket (1) and O-ring (2) from the fuel supply pump (3).

Installation Procedure

  1. Ensure that cylinder number 1 is at top dead center.
  2. Notice: Refer to Fastener Notice in the Preface section.


    Object Number: 1369961  Size: SH
  3. If required, install the NEW O-ring (2) and the bracket (1) to the fuel supply pump (3) with 3 bolts (4).
  4. Tighten
    Tighten the fuel supply pump bracket bolts to 19 N·m (14 lb ft).


    Object Number: 1401132  Size: SH
  5. Paint the gear teeth directly above the punch mark.
  6. Attach the key to the fuel supply pump shaft.

  7. Object Number: 1402407  Size: SH
  8. Install the gear (3) and nut (4).
  9. Tighten
    Tighten the gear nut to 64 N·m (47 lb ft).


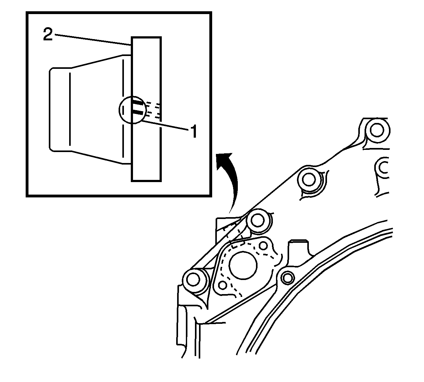
    Object Number: 1369964  Size: SH
  10. Align the fuel supply pump bracket mark (1) and the gear punch mark (2).

  11. Object Number: 1402407  Size: SH
  12. Fit the new gasket (6) to the fuel supply pump bracket (2).
  13. Install the fuel supply pump (1) to the cylinder block.
  14. Tighten the fuel supply pump nuts (9) and bolt (5).
  15. Tighten

        • Tighten the nuts (9) to 50 N·m (37 lb ft).
        • Tighten the bolts (5) to 76 N·m (56 lb ft).
  16. Ensure that cylinder Number 1 is at top dead center.

  17. Object Number: 1369975  Size: SH
  18. Inspect the gear position through the inspection hole at the top of the housing. The painted portion (1) of the gear (2) must be visible through the hole. If it is not, the pump is incorrectly installed. Repeat the installation procedure.

  19. Object Number: 1401134  Size: SH
  20. Using new gaskets, install the fuel common rail pipe (6) to the fuel supply pump (5) and the common rail.
  21. Tighten
    Tighten the fuel common rail pipe nut to 44 N·m (32 lb ft).

  22. Using new gaskets, install the fuel filter leak off pipe (2) to the fuel supply pump (5).
  23. Using new gaskets, install the fuel suction pipe (1) to the fuel supply pump (5), common rail and the return port.
  24. Install the fuel pipe clamp fasteners to all fuel pipes.
  25. Connect the fuel temperature sensor electrical connector (3).
  26. Connect the suction control valve electrical connector (7).
  27. Install the oil filter adapter. Refer to Oil Filter Adapter Replacement .
  28. Install the engine cover. Refer to Engine Cover Replacement .
  29. Bleed (prime) the fuel system and inspect for leaks. Refer to Fuel System Bleeding .