GM Service Manual Online
For 1990-2009 cars only

Fuel Injector Replacement Without CTF

Tools Required

EN 46720 Injector Remover

Removal Procedure

  1. Disconnect the negative battery cable. Refer to Battery Negative Cable Disconnection and Connection in Engine Electrical.

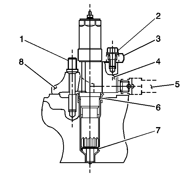
  2. Object Number: 736592  Size: SH
  3. Disconnect the 2-way valve (TWV) harness connectors at the outside of the lower case, under the valve rocker arm cover.
  4. Remove the injection pipes between the injector and the common rail.
  5. Remove the valve rocker arm cover. Refer to Valve Rocker Arm Cover Replacement in Engine Mechanical - 7.8L.
  6. Disconnect TWV harness connector from inside of the lower case joint connector.
  7. Loosen the terminal nuts for TWV harness on the top of the injector and remove the TWV harness.
  8. Remove the TWV harness assembly from the top of the rocker arm assembly.
  9. Remove the return pipe (3) between the injector and injection.
  10. Remove the injector clamp bolt (1).
  11. Using the EN 46720, remove the injector assembly.

Installation Procedure


    Object Number: 736683  Size: SH
  1. Install the injector clamp on the valve spring seat.

  2. Object Number: 736592  Size: SH
  3. Assemble the fuel injector (4) and injector clamp (7) as a complete assembly first, then temporarily install the injector assembly together with the clamp into the injector sleeve hole.
  4. Notice: Refer to Fastener Notice in the Preface section.

  5. Temporarily tighten the injection pipe (8) to the injector.
  6. Apply molybdenum disulfide grease to the clamp bolt.
  7. Tighten
    Tighten the injector clamp bolt to 31 N·m (22 lb ft).

  8. Tighten the injection pipe.
  9. Tighten
    Tighten the injection pipe to 44 N·m (33 lb ft).

    Important: Ensure that the injection pipe and return pipe eye bolt are tightened. This will prevent the dilution of the engine oil. Ensure that the gasket for the return pipe does not ride on the injector body when tightening the eye bolt.

  10. Install the fuel return pipe on the two-way valve (1).
  11. Tighten
    Tighten the fuel return pipe eye bolt to 14 N·m (10 lb ft).


    Object Number: 736685  Size: SH
  12. Install the 2-way valve (TWV) harness assembly.
  13. Tighten
    Tighten the fixing bolt to 22 N·m (16 lb ft).

  14. Install the TWV harness to TWV terminals (1). Tighten the fixing nut by hand until the nut reaches the harness terminals.
  15. Tighten
    Tighten the fixing nut to 2 N·m (17.7 lb in).

  16. Connect the TWV harness to lower case joint connector.
  17. Install the valve rocker arm cover. Refer to Valve Rocker Arm Cover Replacement in Engine Mechanical - 7.8L.
  18. Reconnect the 2 TWV harness connectors at the outside of the lower case.
  19. Connect the negative battery cable. Refer to Battery Negative Cable Disconnection and Connection in Engine Electrical.