GM Service Manual Online
For 1990-2009 cars only
Makes
🢒
Chevrolet
🢒
2005
🢒
Kodiak C-Series (Conventional) C6/C7/C8
🢒
Engine
🢒
Engine Exhaust
🢒 Engine Exhaust Brake Component Views
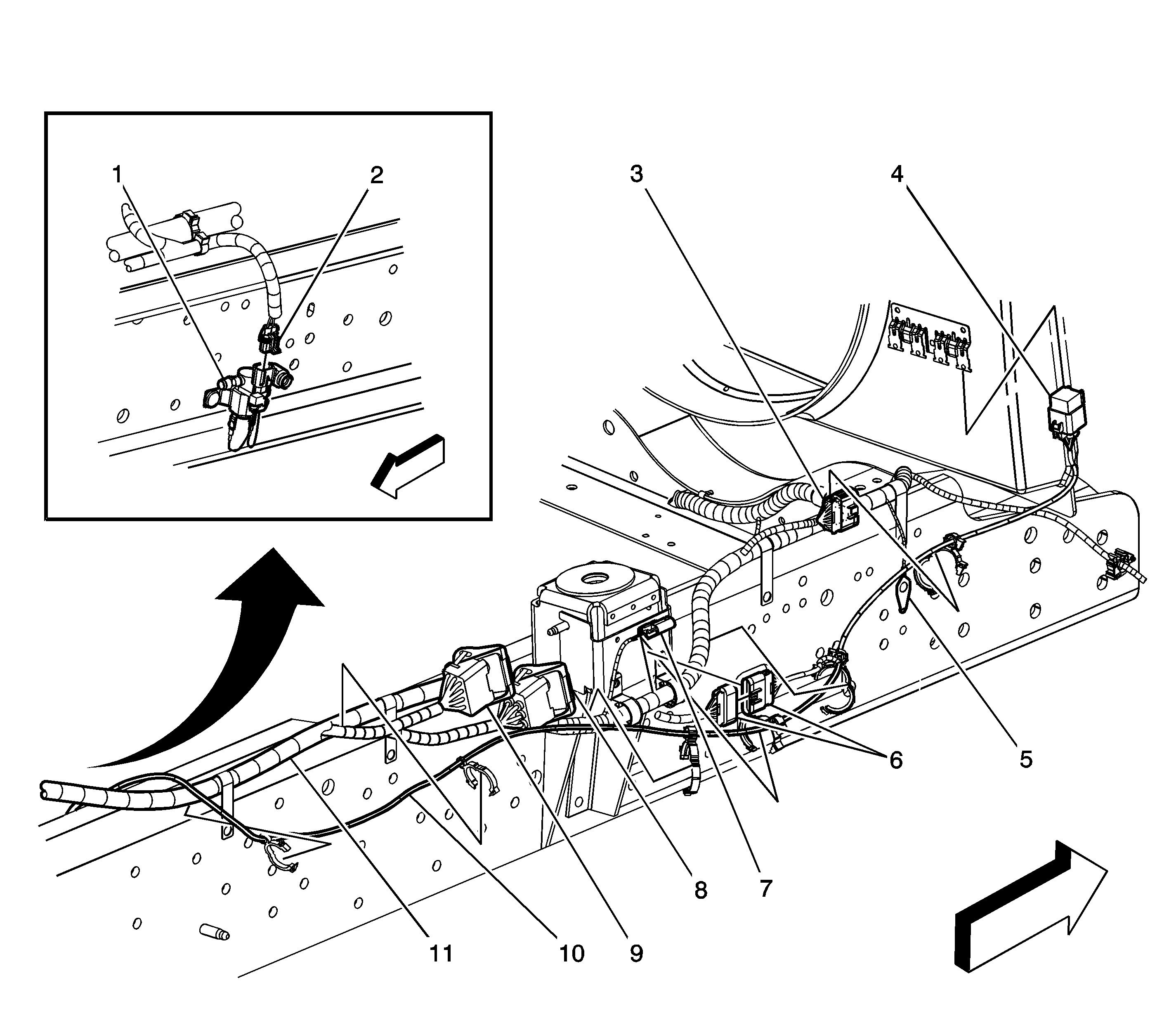
Figure
1:
Right Front of Vehicle
(1)
Exhaust Brake Actuator Control Solenoid Valve (K40/NPE)
(2)
Exhaust Brake Actuator Control Solenoid Valve Connector (K40/NPE)
(3)
C121 (10 cavities - Upfitter PTO Connector)
(4)
Exhaust Brake Relay (K40/NPE)
(5)
G100
(6)
C104 (6 cavities - LG4/LG5/LLY) Engine Chassis Harness to the Exhaust Brake Harness
(7)
Battery Isolator (VNF)
(8)
C101 (30 cavities) I/P Harness to the Engine Chassis Harness
(9)
C124 (24 cavities) I/P Harness to the Engine Chassis Harness
(10)
Exhaust Brake Harness
(11)
Engine Chassis Harness
Figure
2:
Center and the Right I/P
(1)
Marker Lamp Switch (RQ2 and U86 or RQ2)
(2)
High Idle Switch (UF3)
(3)
Traction Control Switch (NW9)
(4)
Outside Heated Mirror Switch (DB6/DB8)
(5)
Exhaust Brake Switch (K40)
(6)
Rear Axle Driver Control Switch - Two Speed (HPZ/Automatic Transmission)
(7)
Air Suspension Dump Switch (G40/G45/GSJ)
(8)
Power Take-Off (PTO) Switch
(9)
Driver Information Center (DIC)
Figure
3:
Air Compressor (K16), Fuel Tanks and Trailer Connector (RQ2 and U86 or RQ3)
(1)
Splice Pack SP400 (Ground Block)
(2)
C409 (8 cavities) Fuel Tank Harness to the Chassis Harness
(3)
Fuel Pump (FP) Relay
(4)
Fuel Sender - Secondary
(5)
Fuel Tank Transfer Pump - Secondary
(6)
Trailer Connector (RQ2 and U86 or RQ3)
(7)
C410 (3 cavities - K16) Chassis Harness to the Air Compressor Harness
(8)
Air Compressor Connector (K16)
(9)
Air Compressor Relay (K16)
(10)
Air Compressor (K16)
(11)
Fuel Sender - Primary