GM Service Manual Online
For 1990-2009 cars only
  1. Block the wheels.
  2. Notice: Do not apply the brake pedal while the balance port air line is disconnected. Damage to the slack adjuster can result.

  3. Disconnect the balance port air line.
  4. Start the engine.
  5. Charge the system air pressure to the governor cut-out point.
  6. Apply the system park control.

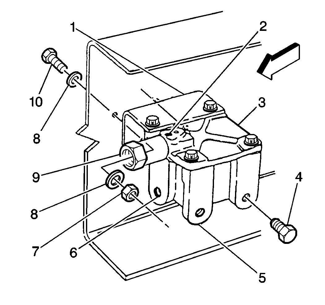
  7. Object Number: 202743  Size: SH
  8. Apply a soap solution to the exhaust port and the balance port (2).
  9. Check that leakage is less than a 25 mm (1 in) bubble in 3 seconds. Replace or overhaul the valve (3). Refer to Rear Air Brake Relay Double Check Valve Replacement or Air Brake System Description and Operation .
  10. Apply a soap solution around the cap nut at the control port (9) and at the seam between the cover and the valve body. Leakage is not permissible.
  11. Pull out the system park control.
  12. Connect the balance port (2) to the air line.
  13. Disconnect the control port (9) to the air line.
  14. Apply the brake pedal hard.
  15. Apply a soap solution to the control port, the exhaust port, and the area around the exhaust port retaining ring.
  16. Check that the leakage is less than a 25 mm (1 in) bubble in 3 seconds. Replace or overhaul the valve (3). Refer to Rear Air Brake Relay Double Check Valve Replacement or Air Brake System Description and Operation .
  17. Connect the control port air line.
  18. Check for leaks in the air lines.
  19. Remove the wheel blocks.