GM Service Manual Online
For 1990-2009 cars only

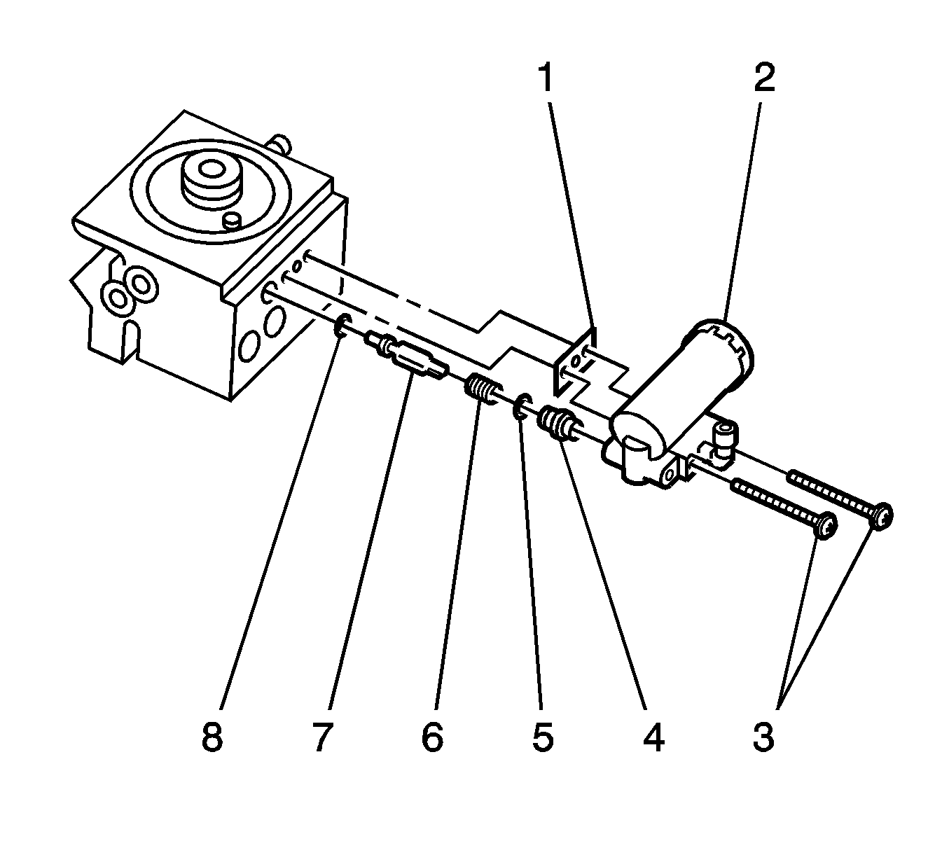
Removal Procedure

  1. Apply the parking brake.
  2. Block the vehicle wheels.
  3. Drain all of the air reservoirs. Refer to Air Brake Reservoir Draining .

  4. Object Number: 1488989  Size: SH
  5. Remove the governor air line.
  6. Remove the governor bolts (3) and the washers.
  7. Remove the governor (2).
  8. Remove the governor gasket (1).

Installation Procedure


    Object Number: 1488989  Size: SH
  1. Install the governor gasket (1).
  2. Install the governor (2).
  3. Notice: Refer to Fastener Notice in the Preface section.

  4. Install the governor washers and the bolts (3).
  5. Tighten
    Tighten the bolts to 21 N·m (15 lb ft).

  6. Install the governor air line.
  7. Start the engine.
  8. Check for leaks. Refer to Air Brake System Testing .
  9. Check for proper brake operation.
  10. Remove the wheel blocks.