GM Service Manual Online
For 1990-2009 cars only

Removal Procedure


    Object Number: 1867614  Size: SH
  1. Raise and support the vehicle. Refer to Lifting and Jacking the Vehicle .
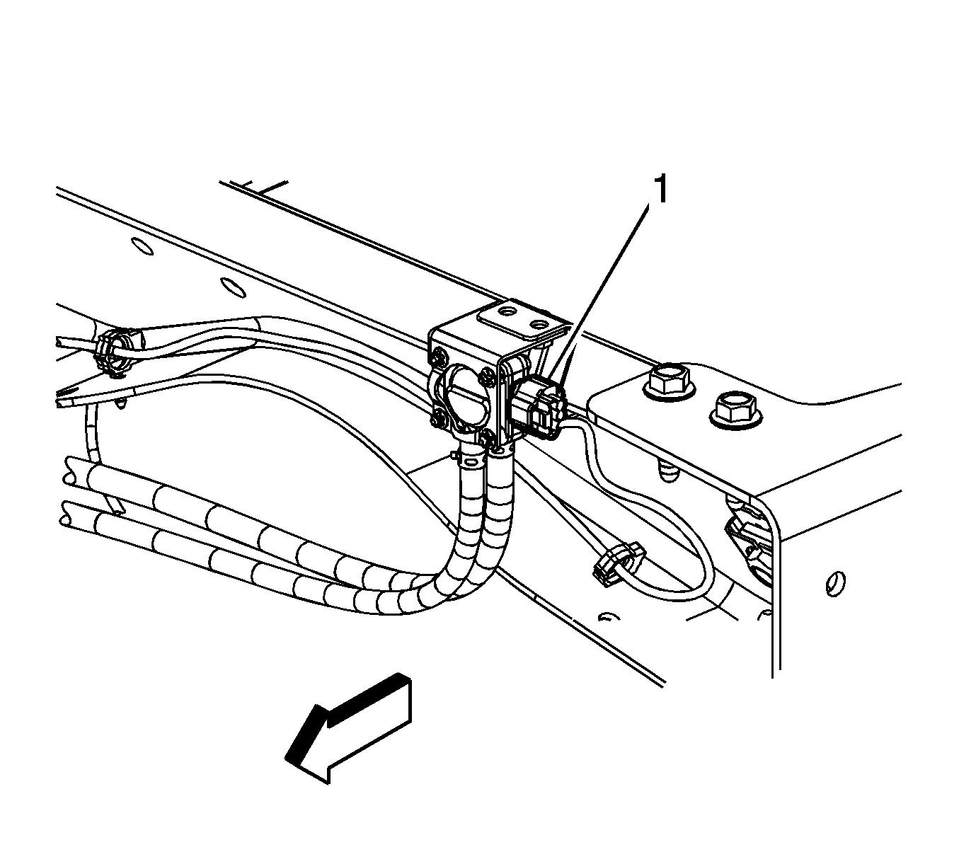
  2. Disconnect the chassis wiring harness electrical connector (1) from the exhaust differential pressure sensor. (2WD shown, 4WD similar).

  3. Object Number: 1867615  Size: SH
  4. Reposition the exhaust differential pressure sensor pipe assembly hose clamps (1).
  5. Remove the exhaust differential pressure sensor pipe assembly hoses from the sensor and hose bracket.

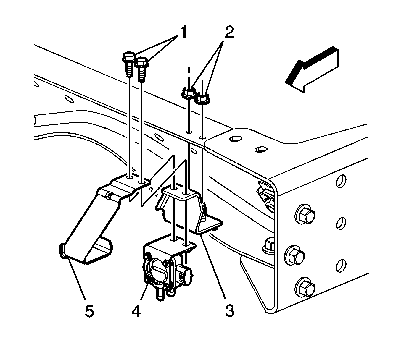
  6. Object Number: 1867616  Size: SH
  7. Remove the exhaust differential pressure sensor hose bracket bolts (1).
  8. Remove the exhaust differential pressure sensor hose bracket (5) and sensor (4).
  9. Remove the exhaust differential pressure sensor mounting bracket nuts (2), if required.
  10. Remove the exhaust differential pressure sensor mounting bracket (3), if required.

Installation Procedure


    Object Number: 1867616  Size: SH
  1. Position the exhaust differential pressure sensor mounting bracket (3) to the crossmember, if required.
  2. Notice: Refer to Fastener Notice in the Preface section.

  3. Install the exhaust differential pressure sensor mounting bracket nuts (2), if required.
  4. Tighten
    Tighten the nuts to 22 N·m (16 lb ft).

  5. Position the exhaust differential pressure sensor (4) and hose bracket (5).
  6. Install the exhaust differential pressure sensor hose bracket bolts (1).
  7. Tighten
    Tighten the bolts to 22 N·m (16 lb ft).


    Object Number: 1867615  Size: SH
  8. Install the exhaust differential pressure sensor pipe assembly hoses to the sensor and hose bracket.
  9. Position the exhaust differential pressure sensor pipe assembly hose clamps (1).

  10. Object Number: 1867614  Size: SH
  11. Connect the chassis wiring harness electrical connector (1) to the exhaust differential pressure sensor.
  12. Lower the vehicle.