GM Service Manual Online
For 1990-2009 cars only

Stabilizer Shaft Replacement Axle Mounted

Removal Procedure

Remove the following components from the springs:


    Object Number: 934032  Size: SH
  1. Remove stabilizer shaft links. Refer to Stabilizer Shaft Link Replacement .
  2. Remove the front stabilizer shaft to front axle U-bolts and nuts.
  3. Remove stabilizer shaft from the axle.

Installation Procedure


    Object Number: 934032  Size: SH
  1. Install the stabilizer shaft.
  2. Install the shaft mounting U-bolts and nuts.
  3. Notice: Refer to Fastener Notice in the Preface section.

  4. Tighten the stabilizer nuts alternately and evenly until the shaft mounting brackets reach torque.
  5. Tighten
    Tighten the stabilizer nuts to 170 N·m (125 lb ft).

  6. Install the stabilizer shaft links. Refer to Stabilizer Shaft Link Replacement .

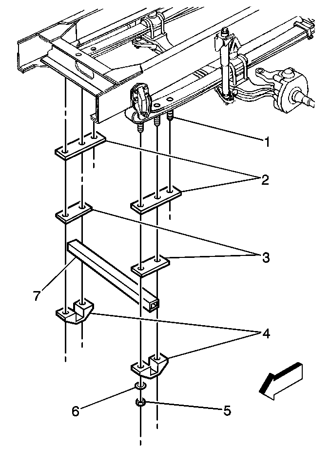
Stabilizer Shaft Replacement Spring Mounted

Removal Procedure


    Object Number: 214490  Size: MH
  1. Remove the stabilizer shaft bracket retaining nuts (5) and washers (6).
  2. Remove the stabilizer shaft mounting brackets (4).
  3. Remove the stabilizer shaft (7).
  4. Remove the stabilizer shaft shims (2, 3).

Installation Procedure


    Object Number: 214490  Size: MH

    Important: Install the shim (3) with the dimple protruding towards the stabilizer bar.

  1. Install the shims (2, 3) to the springs.
  2. Install the stabilizer shaft bar (7) to the springs.
  3. Install the stabilizer shaft brackets (4) to the springs.
  4. Notice: Refer to Fastener Notice in the Preface section.

    Important: Tighten the stabilizer nuts (5) alternately and evenly until the shaft mounting brackets (4) contact the lower shim (3).

  5. Install the stabilizer shaft bracket washer (6) and nuts (5).
  6. Tighten
    Tighten the stabilizer nuts to 230 N·m (169 lb ft).