GM Service Manual Online
For 1990-2009 cars only

Removal Procedure

  1. Set the parking brake.
  2. Block the vehicle's rear wheels.
  3. Notice: Refer to Crossmember Support Notice in the Preface section.

    Important: Raise the frame high enough in order to allow the spring to clear the front spring bracket when you lower the axle.

  4. Raise the frame until the front tires clear the floor.
  5. Support the frame using suitable safety stands.
  6. Support the axle with a jack.

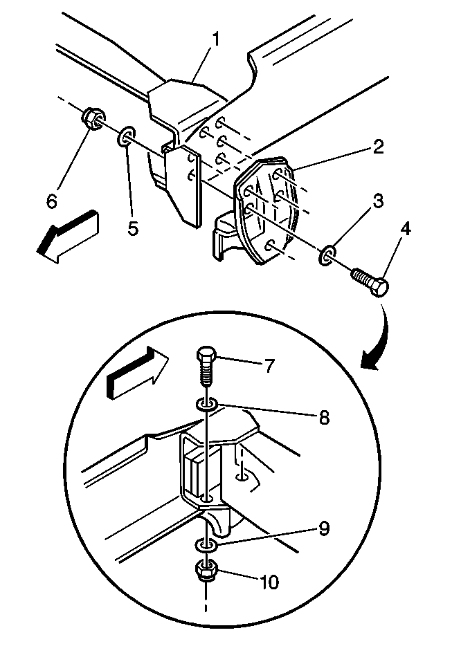
  7. Object Number: 201719  Size: SH
  8. Remove the following components from the lower mounting brackets (7):
  9. • The nut (10)
    • The washer (9)
    • The insulator (8)
  10. Remove the shock absorbers (5) from the lower mounting brackets (7). Push the shock absorbers into the fully retracted position.

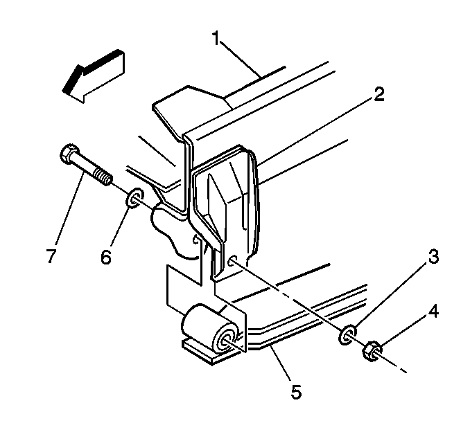
  11. Object Number: 376827  Size: SH
  12. Remove the following components from the spring and the hanger:
  13. • The spring eye bolt nut (4)
    • The washers
    • The bolt (7)
  14. Lower the axle far enough to allow the spring (5) to clear the bracket and allow removal of the bracket (2).

  15. Object Number: 376793  Size: MH
  16. Remove the following components from the side member (1):
  17. • The spring hanger nuts (6, 10)
    • The washers
    • The bolts (4, 7)
    • The spring hanger (2)

    Object Number: 376796  Size: SH
  18. On vehicles equipped with tow hooks, front bumper brackets or frame extensions, remove the following components:
  19. • The bumper bracket (4)
    • The tow hook (7)

Installation Procedure


    Object Number: 376793  Size: MH
  1. Install the hanger to the side member with the following parts:
  2. • The bolts (4, 7)
    • The washers
    • The spring hanger nuts (6, 10)

    Object Number: 376796  Size: SH
  3. On vehicles equipped with tow hooks, front bumper brackets or frame extensions, install the following components:
  4. 2.1. The bumper brackets (4)
    2.2. The tow hooks (7)
    2.3. The bolts (4, 7)
    2.4. The washers (3, 5)
    2.5. The spring hanger nuts (6)

    Notice: Refer to Fastener Notice in the Preface section.

  5. Tighten the hanger mounting bolts.
  6. Tighten

        • F02: Tighten the nuts to 100 N·m (74 lb ft).
        • Non F02: Tighten the nuts to 175 N·m (130 lb ft).

    Object Number: 376827  Size: SH
  7. Raise the spring in order to align the spring eye and spring hanger holes.
  8. Install the following components in the spring and the hanger:
  9. • The spring eye bolt (7)
    • The washers
    • The nut (4)

    Tighten
    Tighten the eye bolt to 330 N·m (243 lb ft).


    Object Number: 201719  Size: SH
  10. Install the flat washer (6) and the insulator (13) onto the shock absorber lower stem.
  11. Install the shock absorber (5) into the lower mounting bracket (7).
  12. Install the following components:
  13. • The insulators (8)
    • The flat washers (9)
    • The nut (10)

    Tighten
    Tighten the lower shock absorber nut to 85 N·m (63 lb ft).

  14. Remove the safety stands and lower the vehicle.