Removal Procedure
- Set the parking brake.
- Block the rear wheels.
- Raise the frame until the front tires clear the floor.
Important: Raise the frame high enough in order to allow the spring to clear the rear spring bracket when you lower the axle.
- Remove the front wheel if necessary.
Notice: Do not use the front crossmember to support the vehicle or the crossmember
may buckle.
- Support the frame using suitable safety stands.
- Support the axle with a jack.
- Remove the following components:
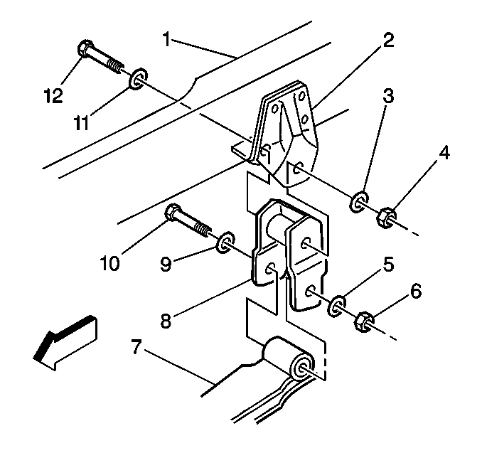
- Lower the axle far enough in order to allow the spring shackle (8) to clear the hanger and allow removal of the spring shackle (8).
- Remove the bolt (10) and the washers.
- Remove the spring shackle (8).
Installation Procedure
- Install the shackle (8) to the spring (7).
- Install the following components:
- Raise the spring.
- Guide the shackle assembly (8) into the hanger aligning the holes.
Notice: Use the correct fastener in the correct location. Replacement fasteners
must be the correct part number for that application. Fasteners requiring
replacement or fasteners requiring the use of thread locking compound or sealant
are identified in the service procedure. Do not use paints, lubricants, or
corrosion inhibitors on fasteners or fastener joint surfaces unless specified.
These coatings affect fastener torque and joint clamping force and may damage
the fastener. Use the correct tightening sequence and specifications when
installing fasteners in order to avoid damage to parts and systems.
- Install the following components:
Tighten
Tighten the rear spring hanger shackle assembly nuts (4, 6) to 330 N·m (243 lb ft).
| 5.4. | Install the front wheel if removed. |
| 5.5. | Remove the jack from under the axle. |
| 5.7. | Remove the blocks from the wheels. |