GM Service Manual Online
For 1990-2009 cars only

Exhaust Tail Intermediate Pipe Replacement With LF6 With 4 Door


Object Number: 2003731  Size: MF

Callout

Component Name

Preliminary Procedure

Raise and support the vehicle. Refer to Lifting and Jacking the Vehicle .

1

Clamp

Notice: Refer to Fastener Notice in the Preface section.

Tighten
83 N·m (61 lb ft).

2

Clamp

Tighten
8 N·m (70 lb in).

3

Exhaust Tail Intermediate Pipe

Exhaust Tail Intermediate Pipe Replacement With LF6 With 2 Door


Object Number: 2003729  Size: MF

Callout

Component Name

Preliminary Procedure

Raise and support the vehicle. Refer to Lifting and Jacking the Vehicle .

1

Clamp

Notice: Refer to Fastener Notice in the Preface section.

Tighten
83 N·m (61 lb ft).

2

Clamp

Tighten
8 N·m (70 lb in).

3

Exhaust Tail Intermediate Pipe

Exhaust Tail Intermediate Pipe Replacement With LF8 With 4 Door


Object Number: 2004121  Size: MF

Callout

Component Name

Preliminary Procedure

Raise and support the vehicle. Refer to Lifting and Jacking the Vehicle .

1

Clamp

Notice: Refer to Fastener Notice in the Preface section.

Tighten
43 N·m (32 lb ft).

2

Clamp

Tighten
65 N·m (48 lb ft).

3

Exhaust Tail Intermediate Pipe

Procedure

Slide the pipe rearward out of the hanger insulator.

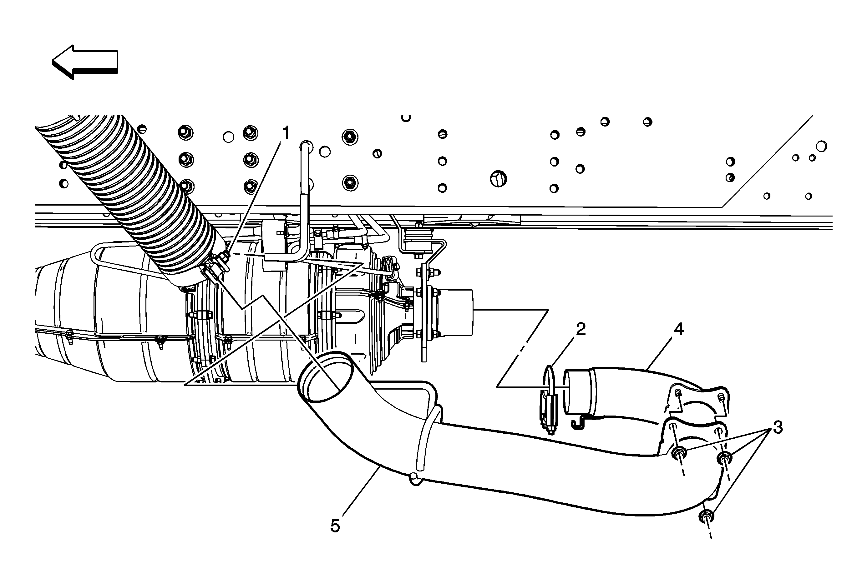
Exhaust Tail Intermediate Pipe Replacement With LF8 With 2 Door


Object Number: 2004122  Size: MF

Callout

Component Name

Preliminary Procedure

Raise and support the vehicle. Refer to Lifting and Jacking the Vehicle .

1

Clamp

Notice: Refer to Fastener Notice in the Preface section.

Tighten
65 N·m (48 lb ft).

2

Clamp

Tighten
43 N·m (32 lb ft).

3

Nut (QTY: 4)

Tighten
45 N·m (33 lb ft).

4

Particulate Filter Extension

5

Exhaust Tail Intermediate Pipe

Procedure

Slide the pipe rearward out of the hanger insulator.